GM Service Manual Online
For 1990-2009 cars only

Object Number: 1200144  Size: MF
Master Electrical Component List
Automatic Transmission Controls Schematics
OBD II Symbol Description Notice

Circuit Description

A normal function of the transmission control module (TCM) is monitoring the microprocessor status. When there is a microprocessor reset, the controller software will perform a power-up cycle. If a power-up cycle is performed without a power-down occurring, the controller will interpret this as a running reset. When the TCM detects that a calibrated number of power-up cycles have been interpreted as running resets, DTC P0606 sets. DTC P0606 is a type A DTC.

Conditions for Running The DTC

    • No TCM DTCs P0601, or P0604.
    • The ignition is ON.

Conditions for Setting The DTC

The TCM has performed 10 power-up cycles and 7 were interpreted as running resets.

Action Taken When the DTC Sets

    • The TCM requests the ECM to illuminate the malfunction indicator lamp (MIL).
    • The TCM freezes all ratio control functions, including the ratio control motor and desired speed ratio.
    • The TCM discontinues use of the closed loop ratio control algorithm. This causes the speed ratio to be defaulted and possibly not accurate. The resulting open loop control may or may not provide optimum ratio performance.
    • The TCM inhibits TCC engagement.
    • The TCM commands maximum line pressure.
    • The TCM no longer inhibits shifting to between reverse and drive when moving.
    • The TCM turns power off to the TCC enable solenoid valve.
    • The TCM discontinues torque management.
    • The TCM freezes garage shift transmission adaptive functions.
    • The TCM freezes main line pressure transmission adaptive functions.
    • The TCM freezes torque converter clutch (TCC) transmission adaptive functions.
    • The ECM records the operating conditions when the Conditions for Setting the DTC are met. The ECM stores this information as Freeze Frame and Failure Records.
    • The TCM records the operating conditions when the Conditions for Setting the DTC are met. The TCM stores this information as Failure Records.
    • The TCM stores DTC P0606 in TCM history.

Conditions for Clearing the MIL/DTC

    • The ECM turns OFF the MIL after the third consecutive drive trip in which the TCM does not sent a MIL illumination request.
    • A scan tool can clear the MIL/DTC.
    • The TCM clears the DTC from TCM history if the vehicle completes 40 warm-up cycles without an emission related diagnostic fault occurring.
    • The TCM cancels the DTC default actions when the ignition switch is OFF long enough in order to power down the TCM.

Diagnostic Aids

    • Inspect the connectors at the TCM, the transmission, and all other circuit connecting points for an intermittent condition. Refer to Testing for Intermittent Conditions and Poor Connections in Wiring Systems.
    • Inspect the circuit wiring for an intermittent condition. Refer to Testing for Electrical Intermittents in Wiring Systems.

Step

Action

Values

Yes

No

1

Did you perform the Diagnostic System Check - Engine Controls?

--

Go to Step 2

Go to Diagnostic System Check - Engine Controls in Engine Controls - 2.2L (L61)

2

  1. Install a scan tool.
  2. Turn ON the ignition, with the engine OFF.
  3. Important: 

       • Before clearing the DTC, use the scan tool in order to record the Failure Records. Using the Clear DTC Info function erases the Failure Records from the ECM and the TCM.
       • Using the Clear DTC Info function erases stored DTCs in both the ECM and TCM.

  4. Record the DTC Failure Records.
  5. Clear the DTC.
  6. Turn OFF the ignition for 30 seconds.
  7. Turn ON the ignition.

Did DTC P0606 reset?

--

Go to Step 3

Go to Transmission Fluid Check

3

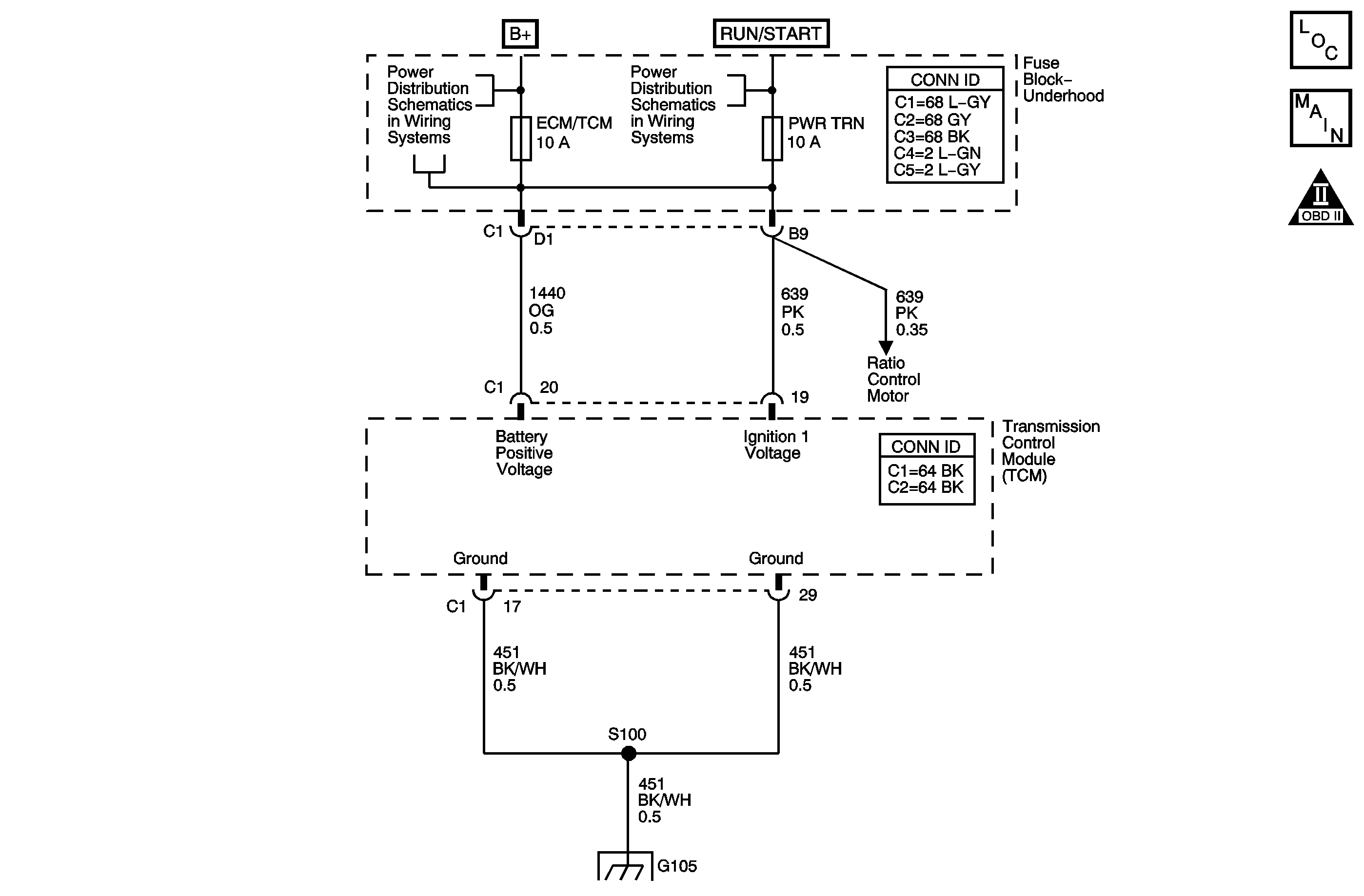
  1. Test the ignition voltage circuit (CKT 639) for an intermittent open or short condition between the TCM C1 and fuse block - underhood 68-way connector.
  2. Test the battery voltage circuit (CKT 1440) for an intermittent open or short condition between the TCM C1 and fuse block - underhood 68-way connector.
  3. Refer to Circuit Testing and Wiring Repairs in Wiring Systems.

Did you find and correct a condition?

--

Go to Step 5

Go to Step 4

4

Replace the TCM. Refer to Transmission Control Module Replacement .

Is the replacement complete?

--

Go to Step 5

--

5

Perform the following procedure in order to verify the repair:

  1. Select DTC.
  2. Select Clear Info.
  3. Operate the vehicle within the Conditions for Running the DTC as specified in the supporting text.
  4. Select Specific DTC.
  5. Enter DTC P0606.

Has the test run and passed?

--

Go to Step 6

Go to Step 2

6

With the scan tool, observe the stored information, capture info and DTC info.

Does the scan tool display any DTCs that you have not diagnosed?

--

Go to Diagnostic Trouble Code (DTC) List in Engine Controls - 2.2L (L61)

System OK