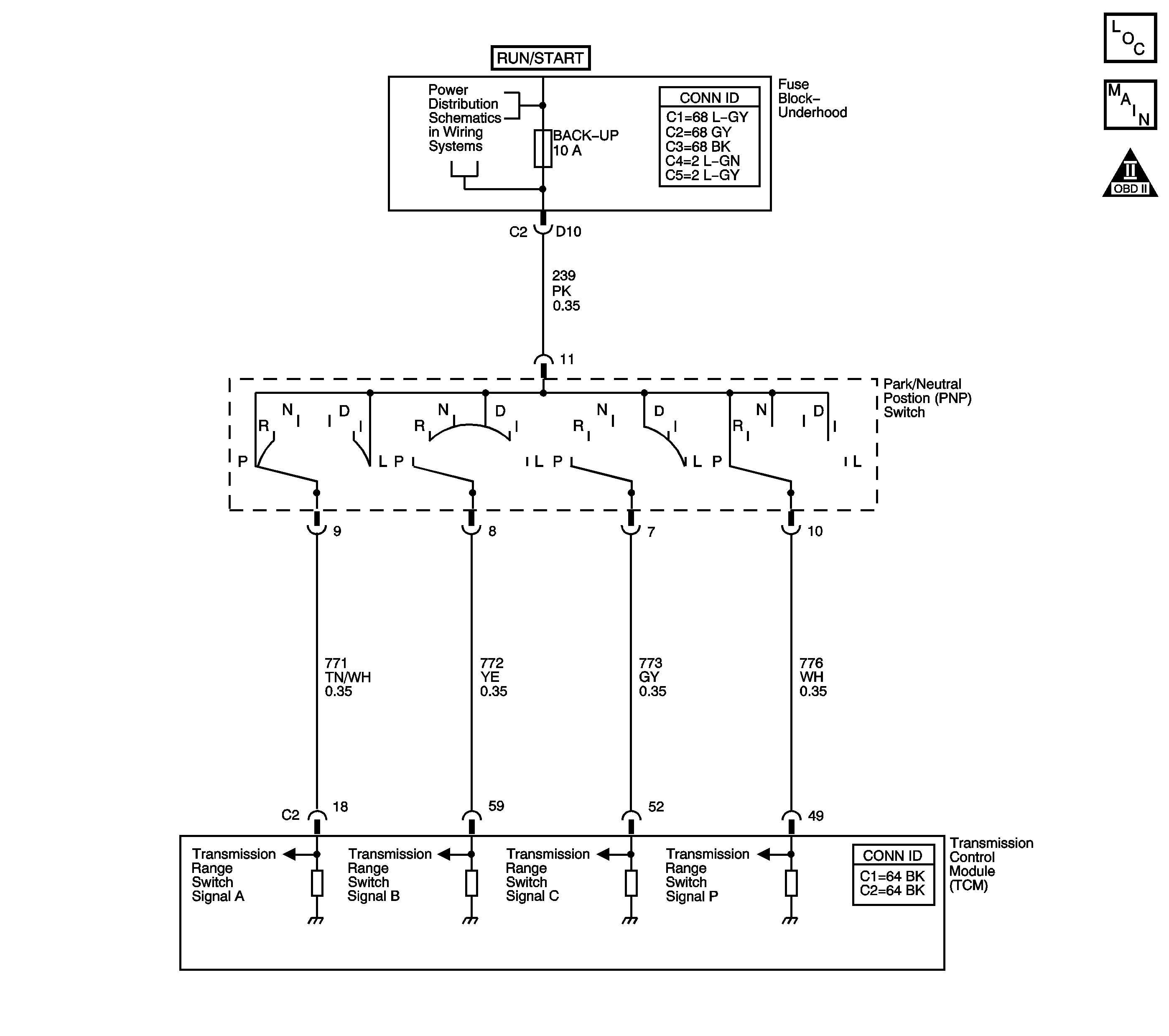
The transmission range (TR) switch is part of the park/neutral position and back-up lamp switch assembly and is mounted on the transmission manual shaft. The TR switch is a multi-signal switch. The fuse block - underhood supplies ignition voltage to the TR switch on four signal circuits, A, B, C, and P. Each gear selector lever position powers two or more of the signal circuits in a unique pattern. In order to determine the gear range selected by the driver, the TCM compares the voltage combination on the signal circuits to a TR switch combination table stored in memory. Refer to Transmission Range Switch Logic . When the TCM detects the combination of TR switch signals for a forward range and the vehicle is not moving moving, DTC P1758 sets. DTC P1758 is a type B DTC.
| • | No engine torque CAN DTC P1779. |
| • | No transmission range switch DTCs P0705, or P1756. |
| • | No OSS DTCs P0722, or P0723. |
| • | No ISS DTCs P0716, or P0717 |
| • | No TCC enable solenoid valve DTCs P1888, or P1889. |
| • | No TCC system stuck ON DTC P0742. |
| • | The ignition voltage is 8-18 volts. |
| • | The engine speed is greater than 500 RPM for 5 seconds. |
| • | The APP angle is less than 1 percent. |
| • | The transmission input shaft speed is 550 RPM or greater for 20 seconds. |
| • | The transmission output shaft speed is 150 RPM or less. |
| • | The speed ratio is 0.38-0.6. |
The combination of TR switch signals indicate a forward range while the vehicle is not moving. Refer to Transmission Range Switch Logic .
| • | The TCM requests the ECM to illuminate the malfunction indicator lamp (MIL) during the second consecutive trip in which the Conditions for Setting the DTC are met. |
| • | The TCM turns off power off to the torque converter clutch pressure control solenoid valve. |
| • | The TCM discontinues abuse torque management. |
| • | The TCM defaults the selected gear range to Drive. |
| • | The ECM records the operating conditions when the Conditions for Setting the DTC are met. The ECM stores this information as Freeze Frame and Failure Records. |
| • | The TCM records the operating conditions when the Conditions for Setting the DTC are met. The TCM stores this information as Failure Records. |
| • | The TCM stores DTC P1758 in TCM history during the second consecutive trip in which the Conditions for Setting the DTC are met. |
| • | The ECM turns OFF the MIL after the third consecutive drive trip in which the TCM does not send a MIL illumination request. |
| • | A scan tool can clear the MIL/DTC. |
| • | The TCM clears the DTC from TCM history if the vehicle completes 40 warm-up cycles without an emission-related diagnostic fault occurring. |
| • | The TCM cancels the DTC default actions when the ignition switch is OFF long enough in order to power down the TCM. |
The number below refers to the step number on the diagnostic table.
Step | Action | Values | Yes | No | ||||
|---|---|---|---|---|---|---|---|---|
1 | Did you perform the Diagnostic System Check - Engine Controls? | -- | Go to Step 2 | Go to Diagnostic System Check - Engine Controls in Engine Controls - 2.2L (L61) | ||||
Did you find and correct a condition? | -- | Go to Step 8 | Go to Step 3 | |||||
3 | Did you perform the Line Pressure Check Procedure? | -- | Go to Step 4 | Go to Line Pressure Check | ||||
4 |
Important:
Did the vehicle attempt to move in all gear selections? | -- | Go to Intermittent Conditions in Engine Controls - 2.2L (L61) | Go to Step 5 | ||||
5 | Did you check the control cable for proper adjustment? | -- | Go to Step 6 | Go to Shift Cable Adjustment | ||||
6 |
Did the scan tool display the correct gear selections? | -- | Go to Step 7 | Go to DTC P0705 | ||||
7 |
Did you complete the repair? | -- | Go to Step 8 | -- | ||||
8 | Perform the following procedure in order to verify the repair:
Has the test run and passed? | -- | Go to Step 9 | Go to Step 2 | ||||
9 | With the scan tool, observe the stored information, capture info and DTC info. Does the scan tool display any DTCs that you have not diagnosed? | -- | Go to Diagnostic Trouble Code (DTC) List in Engine Controls - 2.2L (L61) | System OK |