GM Service Manual Online
For 1990-2009 cars only

Tools Required

J 25070 Heat Gun, or equivalent


    Object Number: 897237  Size: SH
  1. Install 1 retaining clip (121).
  2. Apply clean engine oil to the piston pin bore, piston pin, and connecting rod pin bore.

  3. Object Number: 897239  Size: SH
  4. Use the J 25070 , or equivalent, in order to heat the piston to approximately 70°C (158°F).

  5. Object Number: 897241  Size: SH
  6. Assemble the piston and connecting rod with the alignment marks (1) on the same side.
  7. Install the piston pin (119) and clip (121).

  8. Object Number: 897233  Size: SH
  9. Install the piston rings (122).

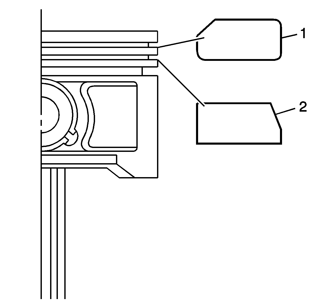
  10. Object Number: 897243  Size: SH
  11. The top compression ring (1) has a 1D identification mark. The second compression ring (2) has a 2C identification mark. The manufacturing identification marks must face the top of the piston.

  12. Object Number: 897247  Size: SH
  13. Using a feeler gage, measure the ring-to-groove clearance.
  14. Specification

        • Top compression ring clearance - new: 0.055-0.08 mm (0.0022-0.0031 in)
        • Top compression ring clearance - service limit: 0.15 mm (0.006 in)
        • Second compression ring clearance - new: 0.03-0.055 mm (0.0012-0.0022 in)
        • Second compression ring clearance - service limit: 0.13 mm (0.005 in)

    Object Number: 897248  Size: SH
  15. Rotate the piston rings in order to position the end gaps. Do not position any ring gap at the piston thrust surface. Do not position any ring gap in line with the piston pin and pin bore.
  16. • Top compression ring (1)
    • Oil spacer ring (1)
    • Oil rings (2, 4)
    • Second compression ring (3)
    • Piston pin (5)