GM Service Manual Online
For 1990-2009 cars only

    Object Number: 897013  Size: SH

    Important: The powertrain control module (PCM) must perform the idle learn procedure to determine the minimum throttle position and to establish idle speed when any of the following components are replaced:

       • Throttle body
       • Timing belt
       • Timing belt drive sprocket
       • Crankshaft and bearings
    Refer to Idle Learn .

  1. Select the proper size bearings. Refer to Main Bearing Selection in Crankshaft and Bearing Cleaning and Inspection .
  2. Install the pins (107).
  3. Lubricate the bearings (104 and 105) and crankshaft bearing surfaces with clean engine oil.
  4. Install the upper bearings (105) to the block.
  5. Install the crankshaft (102).

  6. Object Number: 897015  Size: SH
  7. Install the thrust bearings (104) to number 3 journal.

  8. Object Number: 897010  Size: SH
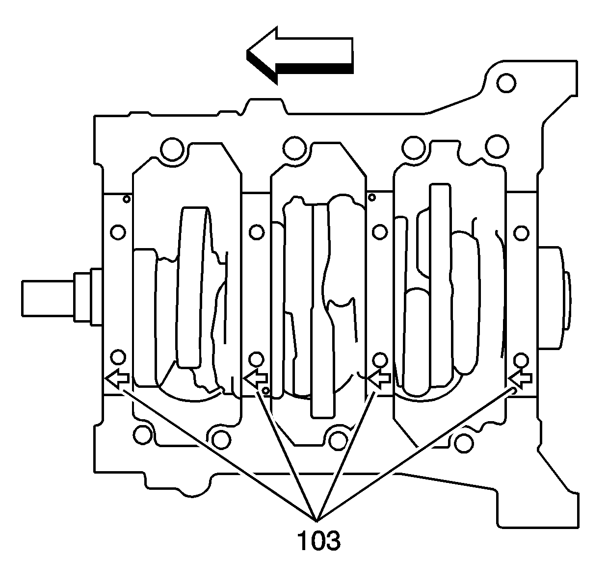
  9. Install the lower bearings (106) and bearing caps (103).

  10. Object Number: 897016  Size: SH
  11. Install the bearing caps (103) with the alignment arrow facing the front of the engine.

  12. Object Number: 897017  Size: SH
  13. Lubricate the bolt (108 and 109) threads and flanges with clean engine oil.
  14. Notice: Refer to Fastener Notice in the Preface section.

  15. Install the bolts (108 and 109).
  16. Tighten

    1. Tighten the bolts (109) in sequence to 74 N·m (54 lb ft).
    2. Tighten the bolts (108) in sequence to 49 N·m (36 lb ft).
  17. Measure the crankshaft end-play. Refer to Crankshaft and Bearing Cleaning and Inspection .