GM Service Manual Online
For 1990-2009 cars only

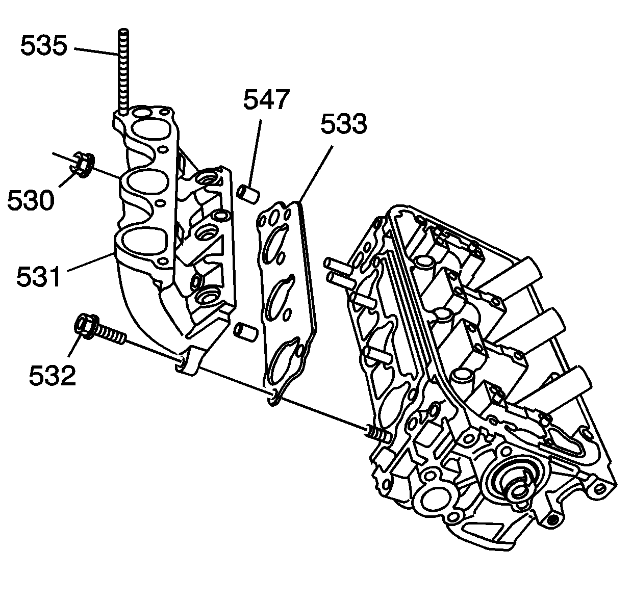
    Object Number: 897032  Size: SH
  1. Install the pins (547).
  2. Install the gasket (533) and manifold (531).
  3. Notice: Refer to Fastener Notice in the Preface section.

  4. Install the nuts (530) and bolts (532).
  5. Tighten
    Tighten the nuts and bolts to 22 N·m (16 lb ft).

  6. Install the stud (535).
  7. Tighten
    Tighten the stud to 22 N·m (16 lb ft).