GM Service Manual Online
For 1990-2009 cars only
Makes
🢒
Saturn
🢒
2004
🢒
VUE - FWD
🢒
Accessories
🢒
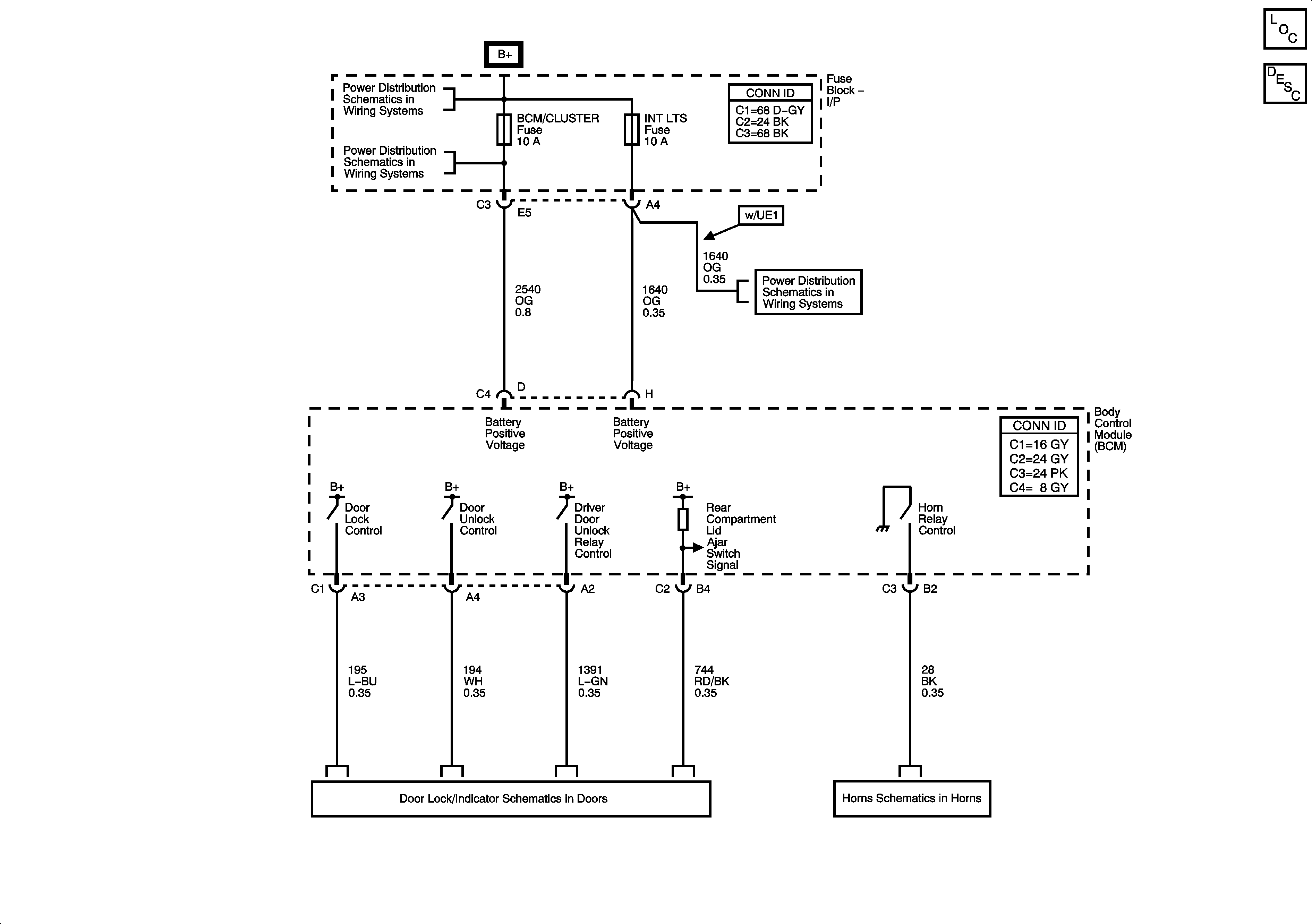
Keyless Entry
🢒 Keyless Entry Schematics