GM Service Manual Online
For 1990-2009 cars only
Table 1: Shift Control A Solenoid
Table 2: Shift Control B Solenoid
Table 3: Shift Control C Solenoid
Table 4: Torque Converter Clutch (TCC) Solenoid

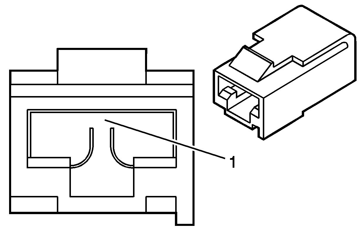
Shift Control A Solenoid


Object Number: 1545894  Size: CH

Connector Part Information

Conn 1-Way F (BN)

Pin

Wire Color

Circuit No.

Function

1

PK

1222

Shift Solenoid Valve 1 High Control

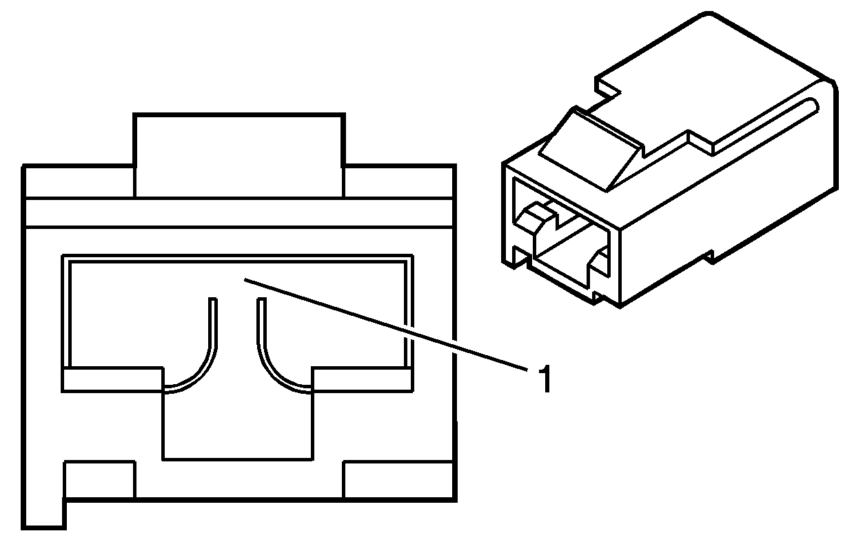
Shift Control B Solenoid


Object Number: 1545895  Size: CH

Connector Part Information

Conn 1-Way F (BK)

Pin

Wire Color

Circuit No.

Function

1

OG

--

Shift Solenoid Valve 2 High Control

Shift Control C Solenoid


Object Number: 1545894  Size: CH

Connector Part Information

Conn 1-Way F (BN)

Pin

Wire Color

Circuit No.

Function

1

L-GN

--

Shift Solenoid Valve 3 High Control

Torque Converter Clutch (TCC) Solenoid


Object Number: 1545895  Size: CH

Connector Part Information

Conn 1-Way F (BK)

Pin

Wire Color

Circuit No.

Function

1

YE

--

Torque Converter Clutch (TCC) Enable Solenoid Valve