GM Service Manual Online
For 1990-2009 cars only

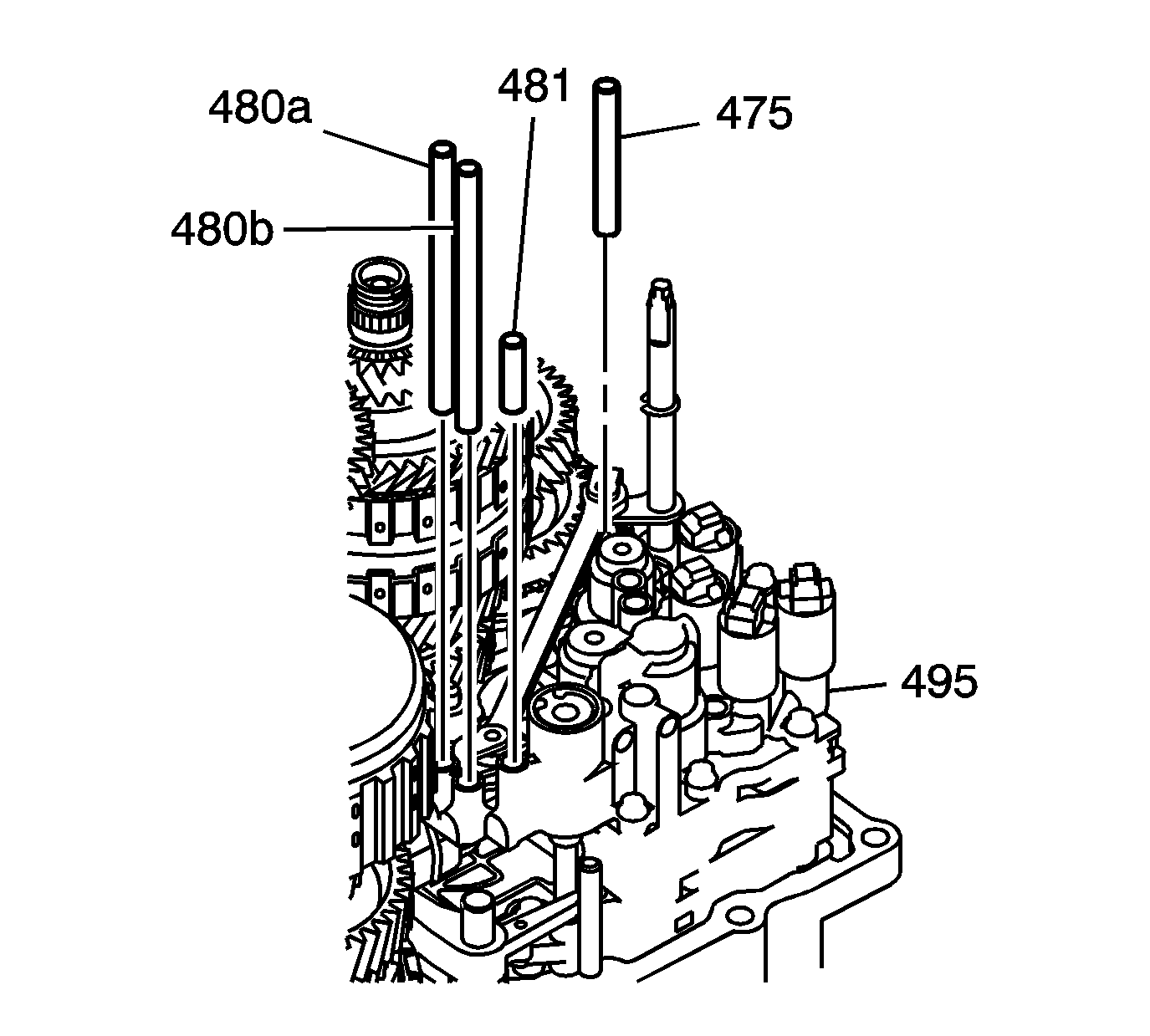
    Object Number: 1203364  Size: SH
  1. Remove the mainshaft lube fluid pipe (475) from the accumulator valve body (495).
  2. Remove the 1st clutch control fluid pipe (480a) from the accumulator valve body (495).
  3. Remove the coast clutch control fluid pipe (480b) from the accumulator valve body (495).
  4. Remove the 4th clutch control fluid pipe (481) from the accumulator valve body (495).

  5. Object Number: 1203365  Size: SH
  6. Remove the 3rd clutch apply fluid pipe (140) from the torque converter housing (150).
  7. Remove the transmission fluid cooler pipe (141) from the torque converter housing (150).