GM Service Manual Online
For 1990-2009 cars only

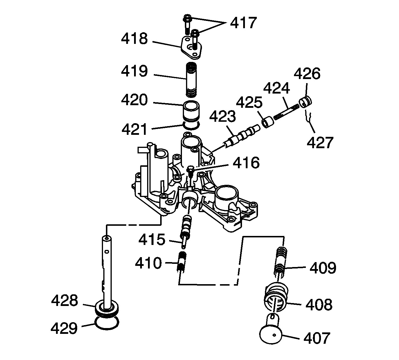
Disassembly Procedure


    Object Number: 1346867  Size: SH

    Caution: Some valves are under pressure. Cover the bores while removing the retainers and plugs or personal injury could result.

  1. Hold the regulator spring cap (407) in place and remove the pressure regulator valve spring cap guide bolt (416).
  2. Release the spring cap (407) slowly and remove.
  3. Remove the following components:
  4. • Stator reaction spring (408)
    • Regulator valve outer spring (409)
    • Regulator valve inner spring (410)
    • Regulator pressure valve (415)

    Object Number: 1203958  Size: SH
  5. Remove the 3rd accumulator piston bore cover bolts (417), then remove the following components:
  6. • 3rd accumulator piston bore cover (418)
    • 3rd clutch accumulator piston return spring (419)
    • 3rd clutch accumulator piston (420)
    • 3rd clutch accumulator piston O-ring (421)
  7. Remove the valve bore plug retainer clip (427), then remove the following components:
  8. • Valve bore plug (426)
    • TCC lockup control valve return spring (424)
    • TCC lockup control valve spacer (425)
    • TCC lockup control valve (423)
  9. Remove the reverse shift fork shaft (428)
  10. Remove the reverse shift fork shaft seal (429)
  11. Clean all parts thoroughly and then dry the components.

Inspection Procedure


    Object Number: 1346875  Size: SH
  1. Inspect all valves for free movement. If any fail to slide freely, refer to General Valve Body Service Instructions .
  2. Clean all of the regulator valve body bore passages.
  3. Lubricate the regulator valve body bores with automatic transmission fluid.

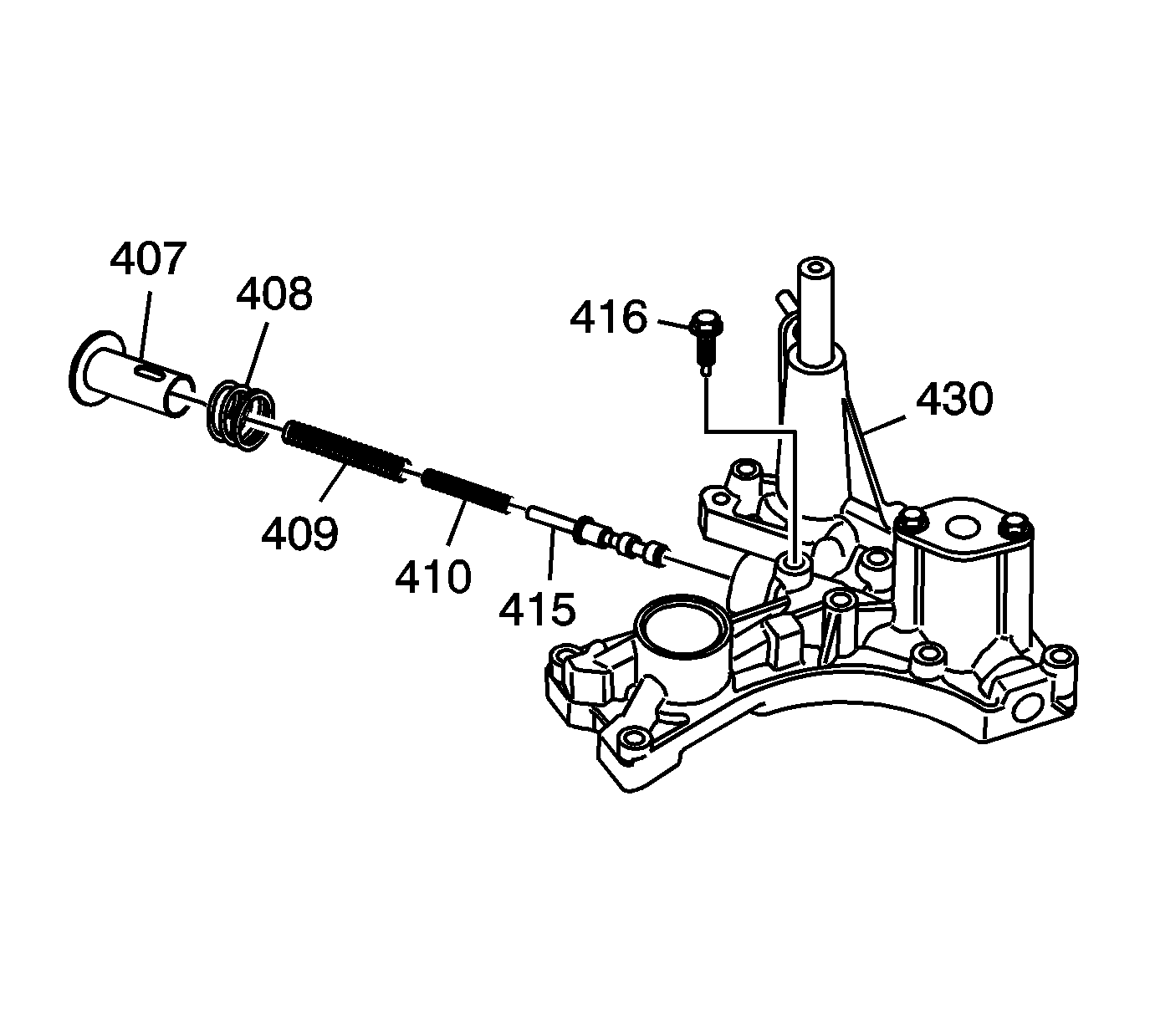
Assembly Procedure


    Object Number: 1346872  Size: SH
  1. Lubricate all parts with automatic transmission fluid during assembly.
  2. Install a NEW 31 x 2.7 mm reverse shift fork O-ring seal (429) in the groove of the reverse shift fork (428).
  3. Install the reverse shift fork (428) into the regulator valve body (430) until it locks into the spring-loaded retainer ball.

  4. Object Number: 1346870  Size: SH
  5. Install a new 21.2 x 2.4 mm 3rd clutch accumulator piston O-ring seal (421) on the 3rd clutch accumulator piston (420).
  6. Install the 3rd clutch accumulator piston (420).
  7. Install the 3rd clutch accumulator piston return spring (419).
  8. Install the 3rd clutch accumulator piston bore cover (418).
  9. Notice: Refer to Fastener Notice in the Preface section.

  10. Install the M6 x 1.0 x 30 mm 3rd clutch accumulator piston bore cover bolt (417).
  11. Tighten
    Tighten the piston bore cover bolt to 12 N·m (106 lb in)


    Object Number: 1346867  Size: SH
  12. Install the pressure regulator valve (415) into the regulator valve body (430).
  13. Install the pressure regulator valve inner spring (410).
  14. Install the pressure regulator valve outer spring (409).
  15. Install the stator action spring (408).
  16. Align the slot in the pressure regulator valve spring cap (407) with the hole for the cap bolt.
  17. Press the spring cap into the regulator valve body.
  18. Install the pressure regulator valve spring cap guide M6 x 1.0 x 30 mm bolt (416).
  19. Tighten
    Tighten the regulator spring cap guide bolt to 12 N·m (106 lb in)


    Object Number: 1346869  Size: SH
  20. Install the TCC lock-up control valve (423) into the regulator valve body (430).
  21. Install the TCC lock-up control valve 49.2 mm return spring (424).
  22. Install the TCC lock-up control valve 15 mm spacer (425).
  23. Install the 15 mm valve bore plug (426).
  24. Install the valve bore plug retainer clip (427).