GM Service Manual Online
For 1990-2009 cars only

Removal Procedure


    Object Number: 1347066  Size: SH

    Caution: Valve springs can be tightly compressed. Use care when removing retainers and plugs. Personal injury could result.

    Notice: Do not use a magnet in order to remove the control valve body ball check valves. This may magnetize the control valve body ball check valves, causing metal particles to stick to them.

  1. Remove the following steel check balls from the servo valve body (306):
  2. • 1st clutch accumulator check valve (311)
    • 1st clutch check valve (318)
    • 2nd clutch check valve (319)
  3. Remove the 1st accumulator choke (326).
  4. Remove the valve bore plug retainer clip (310) from the servo valve body, then remove the following components:
  5. • The valve bore plug (308)
    • The clutch pressure control (CPC) valve (308)
    • The CPC valve return spring (307)

    Object Number: 1358321  Size: SH

    Caution: Valve springs can be tightly compressed. Use care when removing retainers and plugs. Personal injury could result.

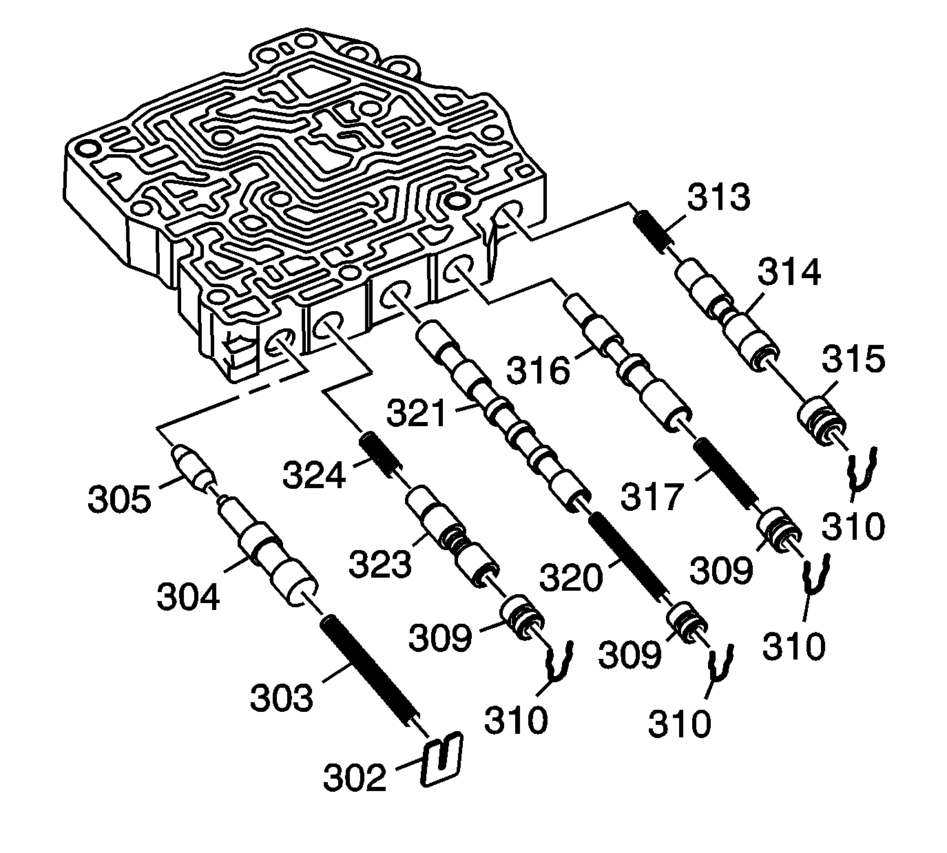
  6. Remove the following:
  7. • Valve bore plug retainer clip (310), bore plug (315), reverse CPC valve (314), and Reverse CPC valve return spring (313).
    • Valve bore plug retainer clip (310), bore plug (309), return spring (317), and servo control valve (316).
    • Valve bore plug retainer clip (310), bore plug (309), return spring (320), and shift valve C (321).
    • Valve bore plug retainer clip (310), bore plug (309), CPC valve A (323), and return spring (324).
    • Valve bore retainer (302), return spring (303), kick-down valve (304), and kick-down short valve (305).

Inspection Procedure

    Caution: When you use compressed air in order to clear fluid passages and to dry parts, always aim the air pressure away from face and eyes. Always wear adequate eye protection in order to avoid injury from dirt and debris that may adhere to parts.

  1. Clean all parts thoroughly and dry them with compressed air. Blow out all passages.
  2. Inspect the servo valve body for scoring and damage.
  3. Inspect all valves for wear or damage. If a valve does not operate, refer to General Valve Body Service Instructions .
  4. Lubricate all parts with automatic transmission fluid during assembly.

Installation Procedure


    Object Number: 1358321  Size: SH
  1. Install the reverse CPC valve (314), return spring (313), bore plug (315), and valve bore plug retainer clip (310).
  2. Install the servo control valve (316), return spring (317), bore plug (309), and valve bore plug retainer clip (310).
  3. Install the shift valve C (321), return spring (320), bore plug (309), and valve bore plug retainer clip (310).
  4. Install the CPC valve A, return spring (324), control valve A (323), bore plug (309), and valve bore plug retainer clip (310).
  5. Install the kick-down short valve (305), kick-down valve (304), return spring (303), and valve bore retainer plate (302).

  6. Object Number: 1347066  Size: SH
  7. Install the clutch pressure control valve B return spring (307), control valve B (308), bore plug (309), and retainer clip (310).
  8. Install the following steel check balls in their correct passages:
  9. • 1st clutch accumulator check valve (311)
    • 1st clutch check valve (318)
    • 2nd clutch check valve (319)
  10. Install the 1st accumulator choke (326).