GM Service Manual Online
For 1990-2009 cars only

Disassembly Procedure


    Object Number: 1205911  Size: SH
  1. If not removed during the control valve body removal, remove the following components:
  2. • The transmission fluid cooler check ball (228) and spring (227)
    • The torque converter check valve (225) and return spring (226)
  3. Remove the transmission fluid servo valve body filter (211)

  4. Object Number: 1206180  Size: SH
  5. Remove the following components from the control valve body assembly (250):
  6. • The bore plug retainer clip (207)
    • The bore plug (206)
    • The CPC valve (205)
    • The CPC valve return spring (204)
    • The valve spring retainer (210)
    • The shift valve E return spring (209)
    • The shift valve E (208)

    Object Number: 1347078  Size: SH
  7. Remove the following components from the control valve body assembly (250):
  8. • The valve spring retainer plate (210)
    • The relief valve return spring (213)
    • The relief valve (212)
    • The bore plug retainer clip (207)
    • The bore plug (217)
    • The lubrication control valve return spring (216)
    • The lubrication control valve (215)

    Object Number: 1347081  Size: SH
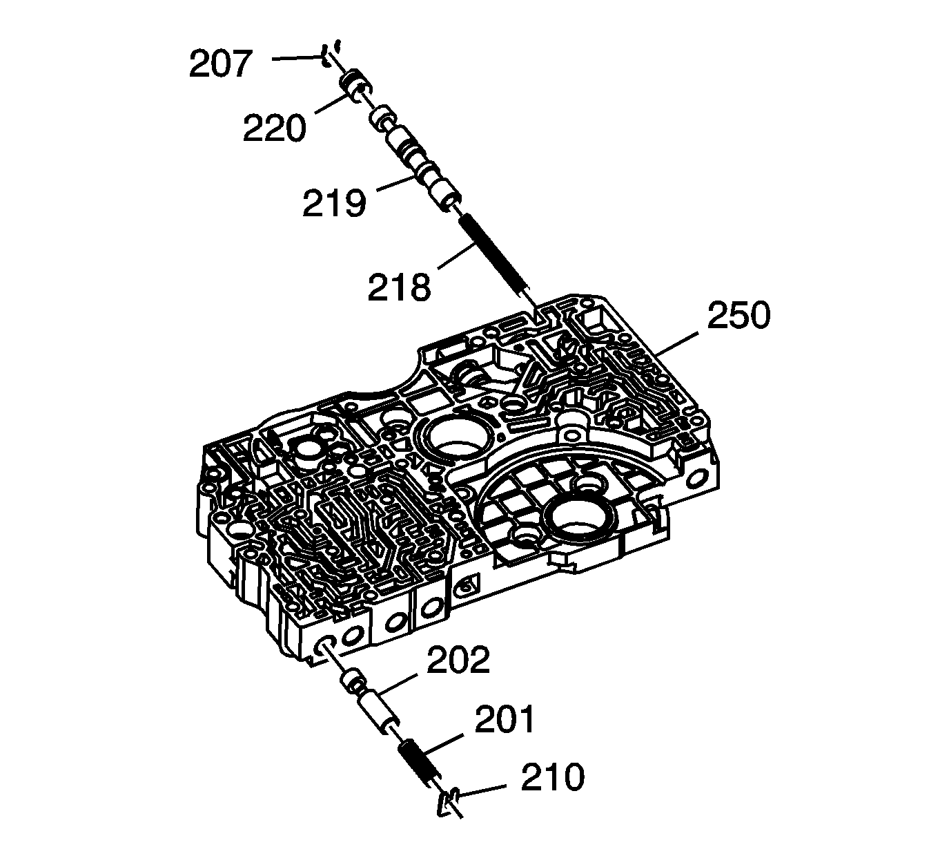
  9. Remove the following components from the control valve body assembly (250):
  10. • The bore plug retainer clip (207)
    • The bore plug (220)
    • The lock-up shift valve (219)
    • The lock-up shift valve return spring (218)
    • The valve spring retainer (210)
    • The modulator valve return spring (201)
    • The modulator valve (202)

    Object Number: 1347085  Size: SH
  11. Remove the following components from the main control valve body assembly (250):
  12. • The valve body spring retainer (210)
    • The shift valve A return spring (241)
    • The shift valve A (242)
    • The bore plug retainer clip (207)
    • The bore plug (206)
    • The shift valve B return spring (239)
    • The shift valve B (240)

    Object Number: 1206187  Size: SH
  13. Remove the following components from the control valve body assembly (250):
  14. • The valve body spring retainer (210)
    • The shift valve D return spring (236)
    • The shift valve D (237)
    • The bore plug retainer clip (207)
    • The bore plug (231)
    • The lock-up timing valve return spring (230)
    • The lock-up timing valve (229)

Inspection Procedure

  1. Inspect the main control valve body for scoring or damage.
  2. Clean the bores and passages.
  3. Inspect all valves for wear or damage. If a valve does not operate, refer to General Valve Body Service Instructions .

Assembly Procedure


    Object Number: 1206187  Size: SH
  1. Lubricate all the parts with automatic transmission fluid during assembly.
  2. Install the following components into the control valve body assembly (250):
  3. • The shift valve D (237)
    • The shift valve D return spring (236)
    • The valve bore plug retainer (210)
    • The lock-up timing valve (229)
    • The lock-up timing valve return spring (230)
    • The bore plug (231)
    • The bore plug retainer clip (207)

    Object Number: 1347085  Size: SH
  4. Install the following components into the control valve body assembly (250):
  5. • The shift valve A (242)
    • The shift valve A return spring (241)
    • The valve bore plug retainer (210)
    • The shift valve B (240)
    • The shift valve B return spring (239)
    • The bore plug (206)
    • The bore plug retainer clip (207)

    Object Number: 1347081  Size: SH
  6. Install the following components into the control valve body assembly (250):
  7. • The lock-up shift valve return spring (218)
    • The lock-up shift valve (219)
    • The bore plug (220)
    • The bore plug retainer clip (207)
    • The modulator valve (202)
    • The modulator valve return spring (201)
    • Install the bore retainer plate (210)

    Object Number: 1347078  Size: SH
  8. Install the following components into the control valve body assembly (250):
  9. • The relief valve (212)
    • The relief valve return spring (213)
    • The bore retainer plate (210)
    • The lubrication control valve (215)
    • The lubrication control valve return spring (216)
    • The bore plug (217)
    • The valve bore plug retainer (207)

    Object Number: 1206180  Size: SH
  10. Install the following components into the control valve body assembly (250):
  11. •  The CPC valve return spring (204)
    • The CPC valve (205)
    • The bore plug (206)
    • The bore plug retainer clip (207)
    • The shift valve E (208)
    • The shift valve E return spring (209)
    • The valve bore plug retainer (210)

    Object Number: 1205911  Size: SH
  12. Install the following into the main control valve body assembly (250):
  13. • The transmission fluid cooler check ball (228) and spring (227)
    • The transmission fluid filter (211)
    • Torque converter check valve return spring (226) and check valve (225)