GM Service Manual Online
For 1990-2009 cars only
Makes
🢒
Saturn
🢒
2004
🢒
VUE - FWD
🢒
Transmission/Transaxle
🢒
Automatic Transmission - 5AT
🢒 Fluid Feed Pipes Installation
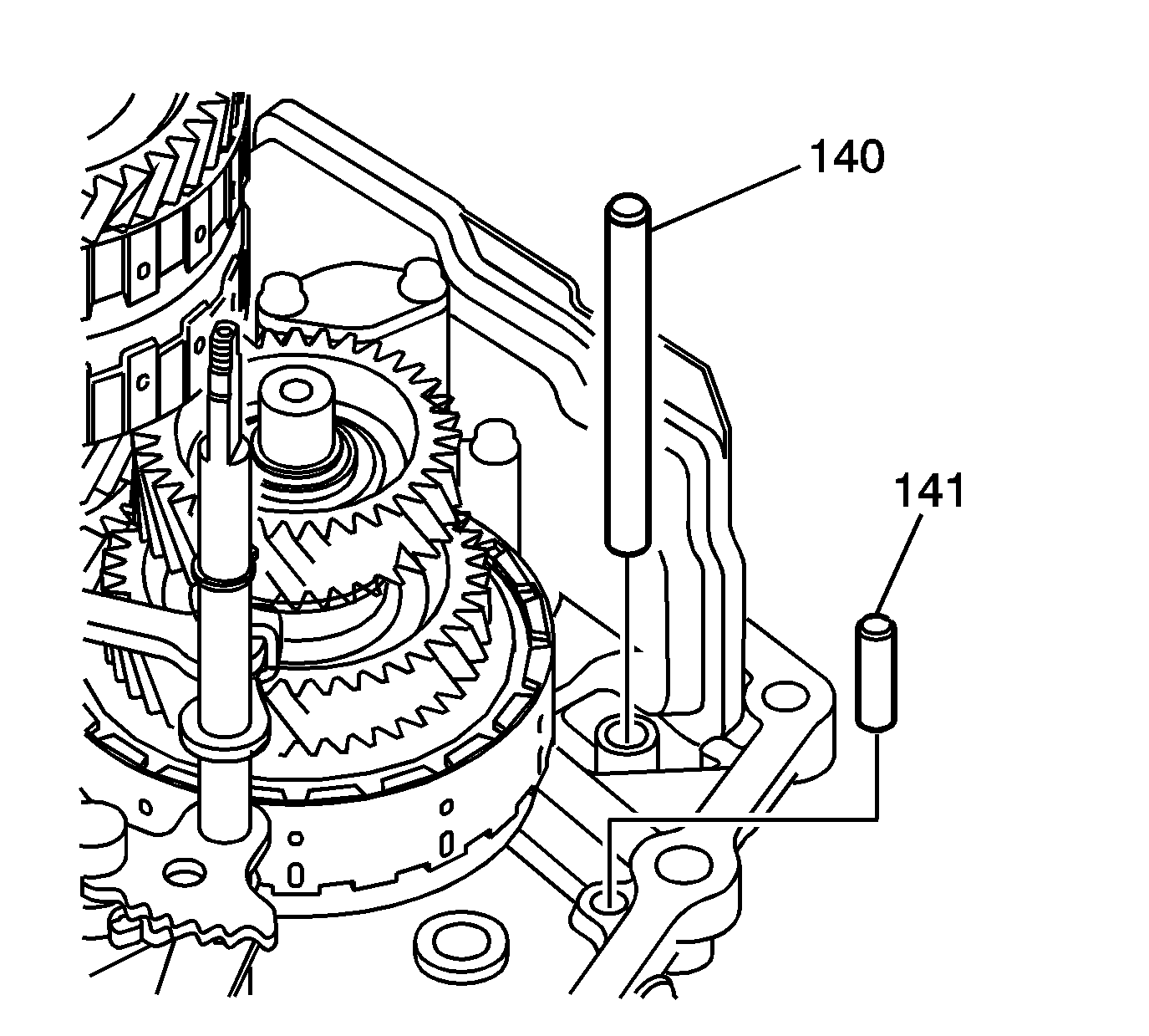
Install a 8 mm x 57.5 mm 3rd clutch apply fluid pipe (140) into the torque converter housing (150).
Install a 10 mm x 153 mm transmission fluid cooler pipe (141) into the torque converter housing (150).