GM Service Manual Online
For 1990-2009 cars only

Tools Required

J 36346 Fascia Retainer Remover

Removal Procedure

  1. Apply the parking brake.
  2. Place the transmission shift lever in the neutral position.
  3. Raise and support the vehicle. Refer to Lifting and Jacking the Vehicle in General Information.
  4. Remove the tire and wheel. Refer to Tire and Wheel Removal and Installation in Tires and Wheels.
  5. Remove the left splash shield. Refer to Engine Splash Shield Replacement in Body - Front End.

  6. Object Number: 1227185  Size: SH
  7. Remove the range selective lever bolt and cover.
  8. Using the J 36346 , disconnect the control cable from the transaxle range switch lever.
  9. Disconnect the Park/neutral position switch harness connector.

  10. Object Number: 1233354  Size: SH
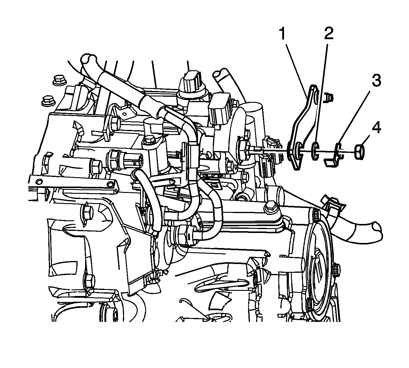
  11. Remove the transmission control nut (4) and lever (1).
  12. Using a small screwdriver, bend the lock washer tabs down on the manual shaft nut.

  13. Object Number: 1233355  Size: SH
  14. Remove the manual shaft nut and lock washer.

  15. Object Number: 1233376  Size: SH
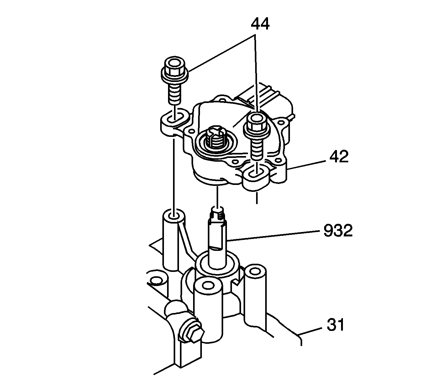
  16. Remove the park/neutral position switch bolts.
  17. Remove the park/neutral position switch from the transmission.

Installation Procedure


    Object Number: 1203355  Size: SH
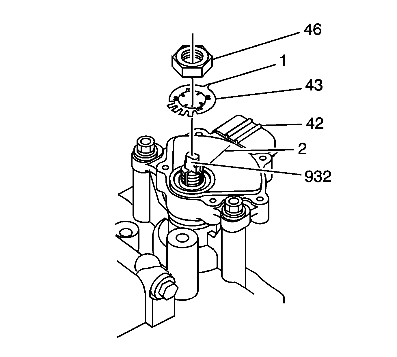
  1. Position the park/neutral position switch (42) to the neutral (N) position. The park/neutral position switch will click in the neutral position, and the control shaft hole aligns with the positioning line .

  2. Object Number: 1203354  Size: SH
  3. Install the park/neutral position switch (42) gently over the manual shift shaft (932), and install the  M 6 x 1.0 x 16 mm flanged bolt/screws loosely into the transmission case housing.
  4. Install a new lock washer over the manual shift shaft while aligning the projection/indicator point of the lock washer with the positioning line on the park/neutral position switch , and install the 16 mm locknut .
  5. Notice: Refer to Fastener Notice in the Preface section.


    Object Number: 1206298  Size: SH
  6. Push the 16 mm locknut against the transmission housing to seat the park/neutral position switch into the manual shift shaft, and tighten the 16 mm locknut while holding the manual shift shaft (932) with an adjustable wrench, and then bend the lock tabs of the lock washer (46) against the 16 mm lock nut.
  7. Tighten
    Tighten the 16 mm locknut to 12 N·m (8.7 lb ft).

  8. Tighten the park/neutral position switch flanged bolt/screws to secure the park/neutral position switch to the transmission case housing.
  9. Tighten
    Tighten the 2 M 6 x 1.0 x 16 mm flanged bolt/screws to 12 N·m (8.7 lb ft).


    Object Number: 1233354  Size: SH
  10. Install the range selector lever (1), 8 mm spring washer (2), 8 mm lock washer (3), and 8 mm locknut (4) on the manual shift shaft .
  11. Tighten
    Tighten the 8 mm locknut to 12 N·m (8.7 lb ft).


    Object Number: 1227185  Size: SH
  12. Connect the shift cable to the transmission control lever and cable bracket.
  13. Connect the park/neutral position switch harness connectors.
  14. Install the range selective lever bolt and cover.
  15. Tighten
    Tighten the bolt to 10 N·m (89 lb in).

  16. Install the left splash shield. Refer to Engine Splash Shield Replacement in Body - Front End.
  17. Install the tire and wheel. Refer to Tire and Wheel Removal and Installation in Tires and Wheels.
  18. Lower the vehicle. Refer to Lifting and Jacking the Vehicle in General Information.
  19. Verify the park/neutral position switch adjustment by starting the vehicle in all ranges. If the transmission starts in any ranger other than park or neutral, readjust the park/neutral position switch.