GM Service Manual Online
For 1990-2009 cars only

Tools Required

    • DT 46434 Mainshaft Socket
    • DT 46435 Mainshaft Socket Handle
    • DT 46238 Holding Fixture

    Object Number: 1206268  Size: SH
  1. Install DT 46435  (2) through the hole in DT 46434  (1).
  2. Install DT 46434  (1) onto the mainshaft splines and DT 46435  (2) into the lock hole in DT 46238  (3).
  3. Apply a slight torque on the mainshaft nut (110) in order to secure the tools in place on the mainshaft (603).

  4. Object Number: 1203359  Size: SH

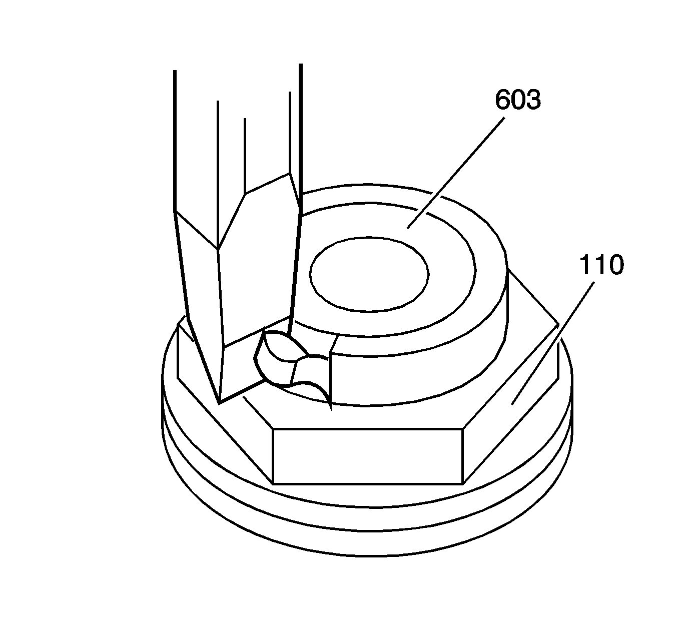
    Notice: Ensure that all the metal particles are collected in order to prevent internal damage to the transmission or bearings.

    Important: Do not damage the threads or the mainshaft.

  5. Using a chisel remove the locktab from the mainshaft retainer nut (110).

  6. Object Number: 1203360  Size: SH
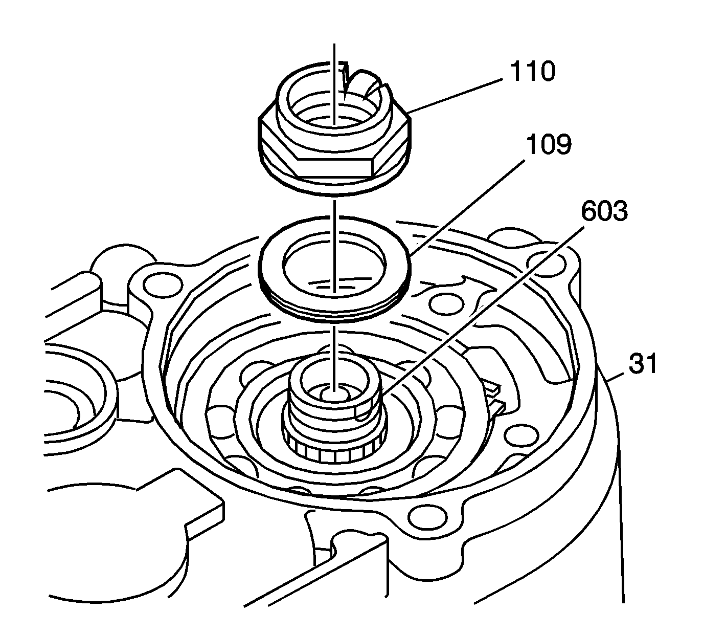
  7. Remove the mainshaft nut (110).
  8. Remove the mainshaft washer (109). Do not discard the nut or the washer.
  9. Remove DT 46434 and DT 46435 .