GM Service Manual Online
For 1990-2009 cars only
Makes
🢒
Saturn
🢒
2004
🢒
VUE - FWD
🢒
Transmission/Transaxle
🢒
Automatic Transmission - 5AT
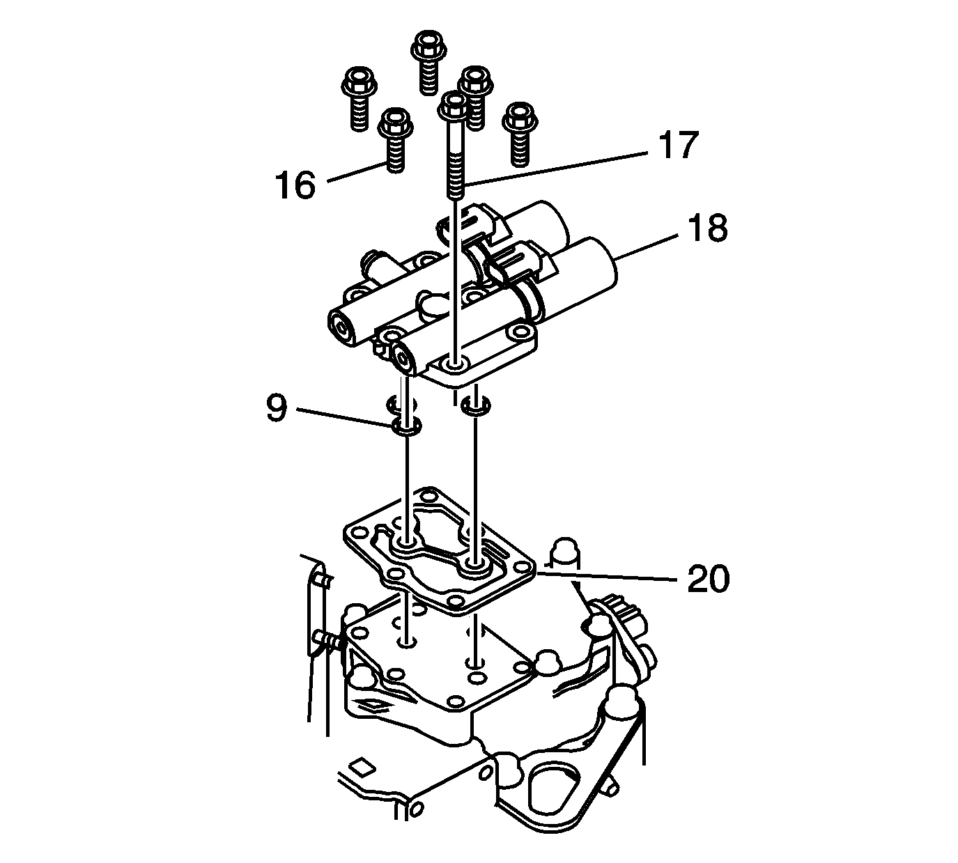
🢒 Clutch Pressure Control Solenoid Valve Removal
Remove the 6 clutch pressure control solenoid bolts (16 and 17).
Remove the clutch pressure control solenoid valve (18).
Remove the fluid feed pipe O-rings (9).
Remove the clutch pressure control solenoid valve gasket (20).