GM Service Manual Online
For 1990-2009 cars only

    Object Number: 1203349  Size: SH
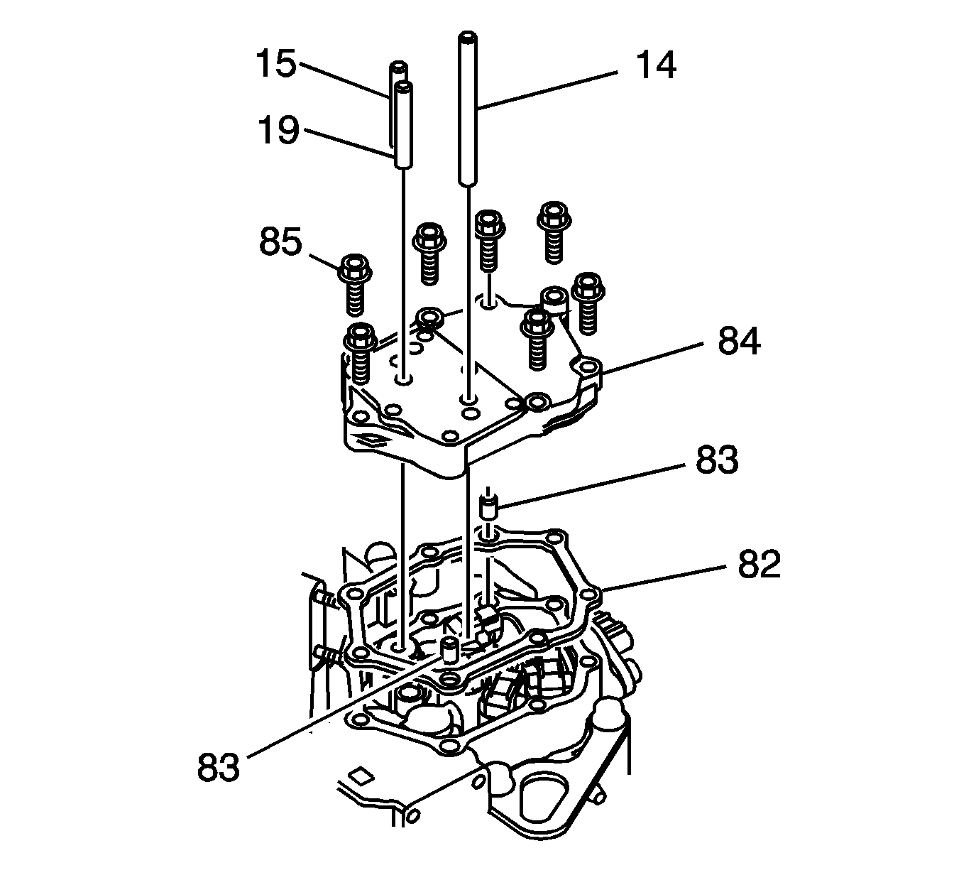
  1. Remove the clutch pressure control fluid pipes (14 and 15), and the fluid feed pipe (19).
  2. Remove the 7 clutch pressure control solenoid manifold bolts (85).
  3. Remove the clutch pressure control solenoid manifold (84).
  4. Remove the clutch pressure control solenoid manifold gasket (82).
  5. Remove the 2 clutch pressure control solenoid manifold locating pins (83).