GM Service Manual Online
For 1990-2009 cars only

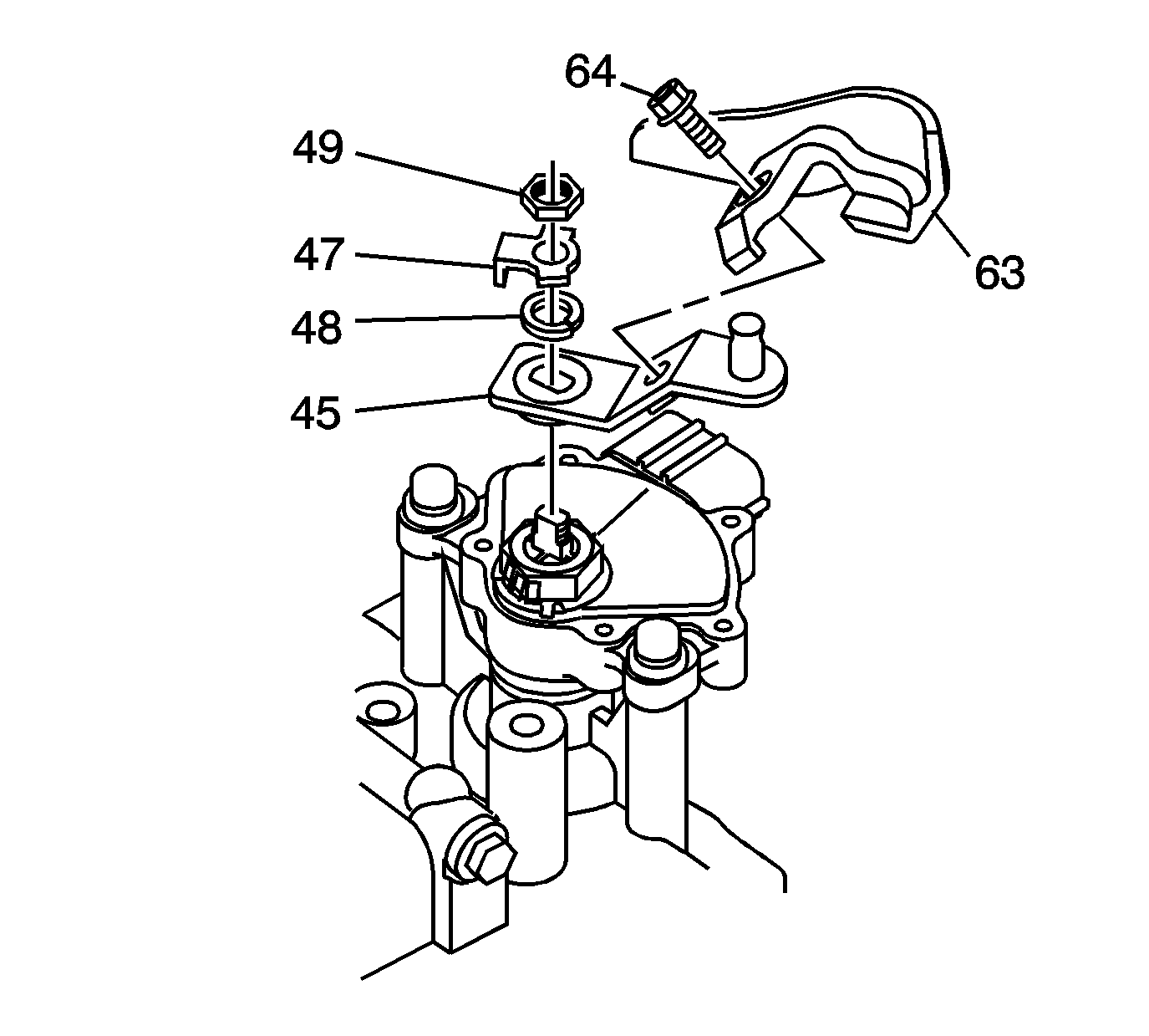
    Object Number: 1203352  Size: SH
  1. Remove the range selector lever position switch shield bolt (64) and the range selector lever link cover (63).
  2. Bend the locking tab on the range selector lever washer (47) from the range selector lever nut (49).
  3. Remove the range selector lever nut (49).
  4. Remove the lock washer (47) and the spring washer (48).
  5. Remove the range selector lever (45).

  6. Object Number: 1203354  Size: SH
  7. Bend the lock tabs of the park/neutral position switch washer (43).
  8. Using an adjustable wrench, hold the manual shift shaft (932) and remove the park/neutral position (PNP) switch nut (46).
  9. Remove the washer (43).

  10. Object Number: 1203355  Size: SH
  11. Remove the 2 PNP switch bolts (44).
  12. Remove the PNP switch assembly (42) from the transmission case (31).