GM Service Manual Online
For 1990-2009 cars only

Tools Required

J 22912-B  Rear Pinion and Axle Bearing Remover

Disassembly Procedure


    Object Number: 1203918  Size: SH
  1. Remove the following components from the rear of the mainshaft (603):
  2. • 5th/reverse drive gear and clutch hub thrust bearing (619)
    • 5th/reverse drive gear (620)
    • 5th/reverse drive gear and clutch hub inner bearing (621)
    • 5th/reverse drive gear and clutch hub thrust bearing (622)
    • 5th/reverse drive gear and clutch hub bearing race (623)
    • 4th/5th clutch assembly (643)
    • 4th/5th/reverse clutch housing fluid passage O-ring seals (604)
  3. Remove the following from the front of the mainshaft (603):
  4. • Mainshaft front bearing retaining ring (600)
    • Mainshaft front bearing (601)
    • Mainshaft fluid passage seal (602)

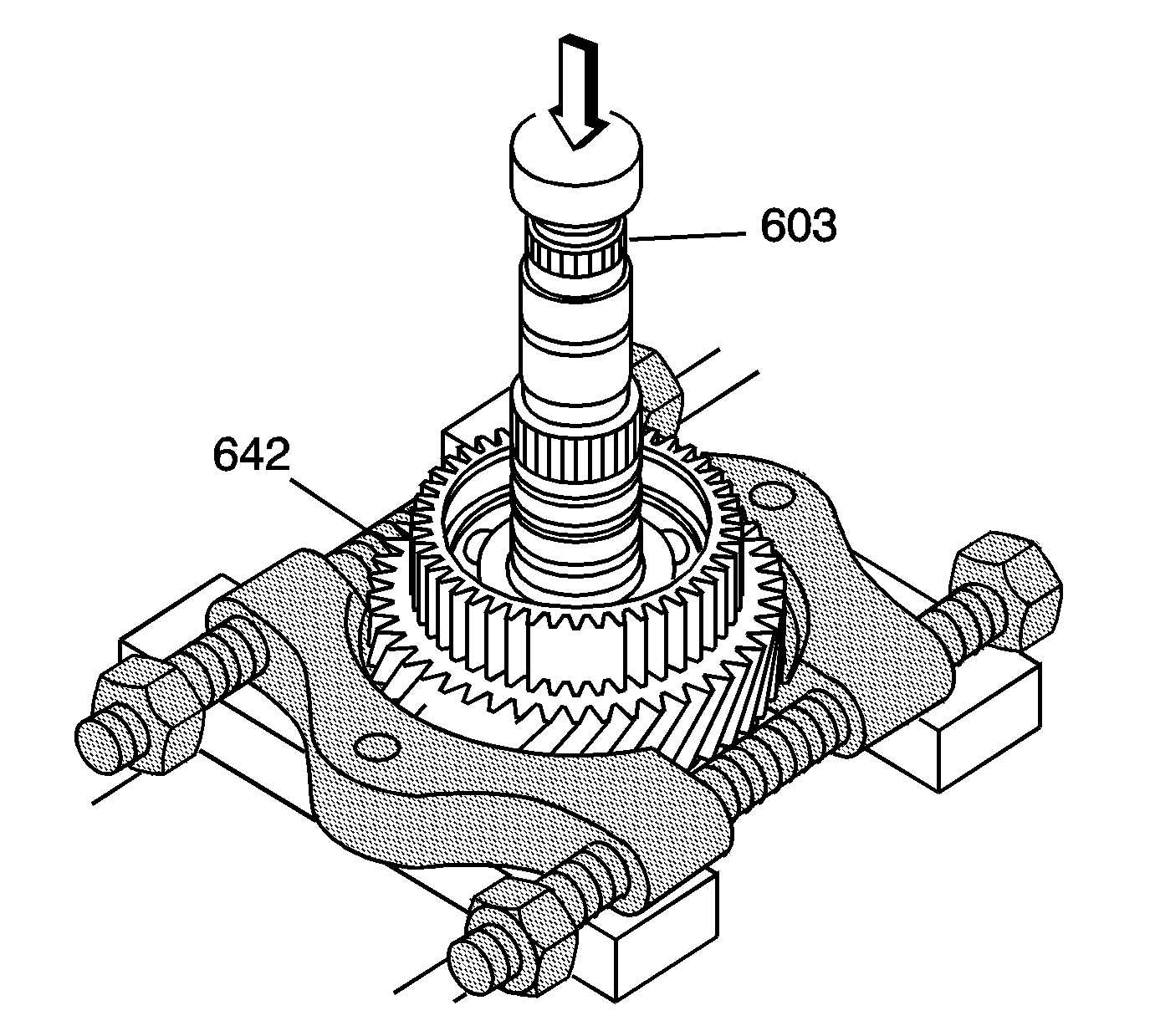
    Object Number: 1203919  Size: SH

    Important: The 1st/2nd/3rd drive gear (641) does not remove from the mainshaft (603).

  5. Using a hydraulic press and J 22912-B , remove the 4th drive gear with clutch hub assembly (642) from the mainshaft (603).
  6. • Protect the end of the mainshaft to avoid damage to the threads.
    • Ensure the J 22912-B is under the bearing race. Do not catch on or under the flange on the shaft.

    Object Number: 1470586  Size: SH
  7. Remove the 4th drive gear and clutch hub bearing retaining ring (605).
  8. Using a brass drift and hammer, remove the 4th drive gear and clutch hub bearing (606) from the 4th drive gear (607).

Inspection Procedure


    Object Number: 1358288  Size: SH
  1. Inspect the mainshaft (603) for the following conditions:
  2. • Worn or damaged splines
    • Bearing journals for excessive wear or damage
    • Damaged threads
    • Oil passage seal grooves for nicks, scratches, or other damage
  3. Inspect the 1st/2nd/3rd drive gear (641) for the following conditions:
  4. • Excessive wear to the teeth
    • Chipped teeth
    • Cracked teeth
    • Looseness on the mainshaft
  5. Replace the mainshaft (603) if any of the above conditions are found.

  6. Object Number: 1344611  Size: SH
  7. Inspect the following components for wear or damage:
  8. • 5th/reverse drive gear and clutch hub thrust bearing (619)
    • 5th/reverse drive gear (620)
    • 5th/reverse drive gear and clutch hub inner bearing (621)
    • 5th/reverse drive gear and clutch hub thrust bearing (622)
    • 5th/reverse drive gear and clutch hub bearing race (623)
    • Mainshaft front bearing (601)
  9. Replace any faulty parts.

  10. Object Number: 1358289  Size: SH
  11. Inspect the 4th drive gear (607) for the following conditions:
  12. • Excessive wear to the teeth
    • Chipped teeth
    • Cracked teeth
  13. Inspect the 4th drive gear and clutch hub bearing (606) for wear or damage.
  14. Replace any faulty parts.