GM Service Manual Online
For 1990-2009 cars only

Tools Required

SA9179NE Dial Indicator


    Object Number: 1507159  Size: SH
  1. Measure the axial clearance for the reverse driven gear (512).
  2. 1.1. Install the SA9179NE on the reverse driven gear.
    1.2. Zero the gage.
    1.3. Lift up on the reverse driven gear and record the measurement.

    Specifications
    Reversed driven gear axial clearance 0.10-0.25 mm (0.0039-0.0098 in)

    1.4. If the clearance is out of specifications inspect for excessive wear on the thrust surface of the reverse driven gear (512) or the 5th/reverse synchronizer hub (509).

    Object Number: 1203921  Size: SH
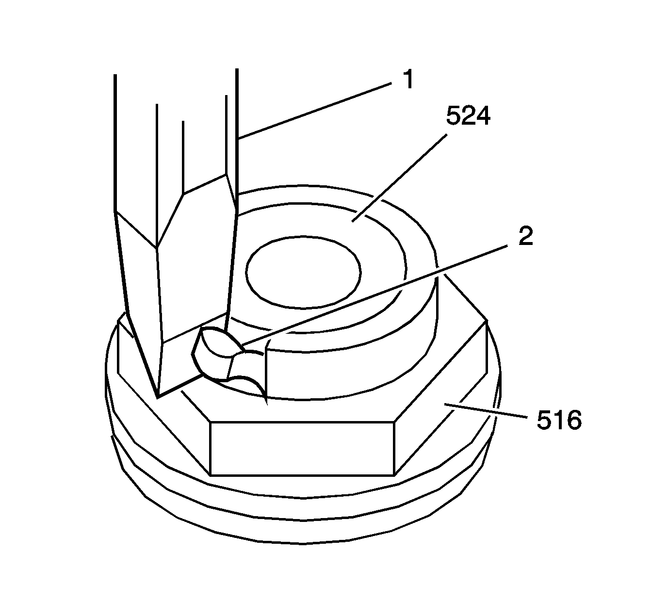
  3. Using a chisel (1) cut the locktab (2) on the output shaft retaining nut (516). Do not damage the threads on the output shaft (524).

  4. Object Number: 1203922  Size: SH

    Important: The output shaft retaining nut (516) is left handed thread.

  5. Remove the output shaft retaining nut (516).
  6. • Use an adjustable wrench held in a vise.
    • Securely hold the output shaft.
  7. Remove the output shaft washer (515).

  8. Object Number: 1203923  Size: SH
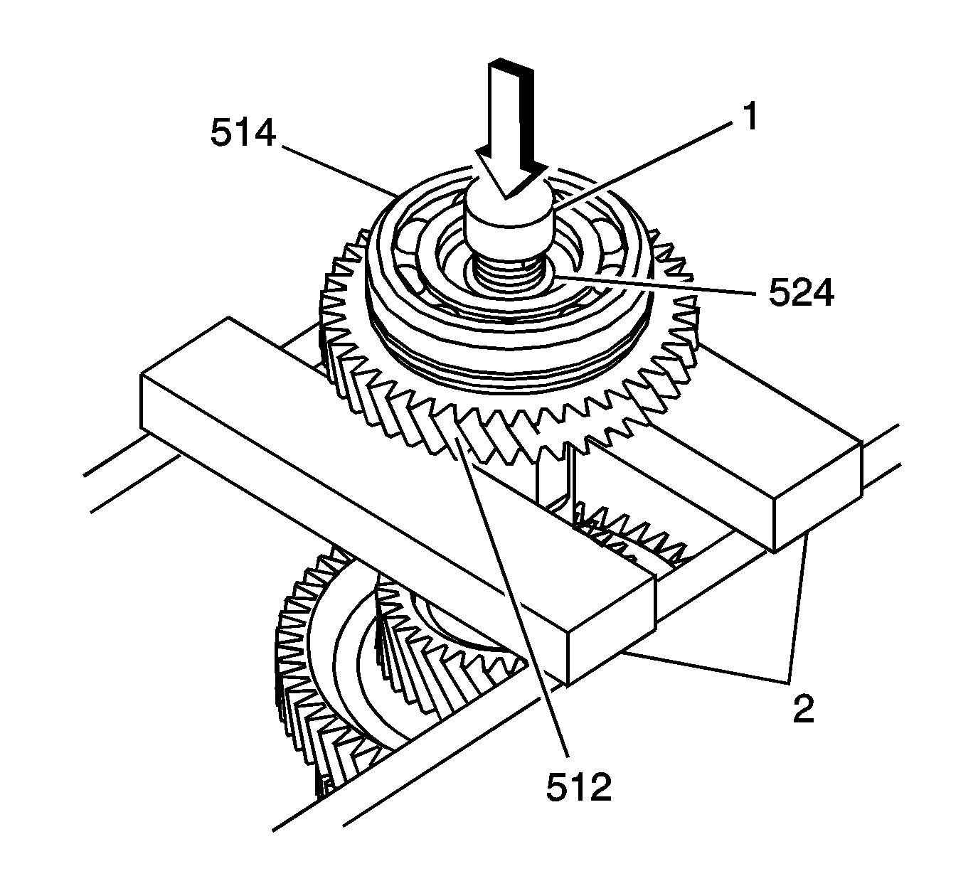
  9. Using a hydraulic press remove the output shaft rear bearing (514).
  10. • Use press plates (2) under the reverse drive gear (512).
    • Use a shaft protector (1) to prevent damage tot he output shaft threads.
    • Support the output shaft (524) to prevent the shaft from dropping.

    Object Number: 1344625  Size: SH
  11. Remove the following components from the output shaft (524):
  12. • The reverse driven gear (512)
    • The reverse driven gear inner bearing (511)
    • The reverse driven gear inner bearing race (510)
    • The reverse synchronizer sleeve (508)

    Object Number: 1507158  Size: SH
  13. Measure the 5th driven gear (507) axial clearance.
  14. 7.1. Install the SA9179NE on the 5th driven gear.
    7.2. Zero the gage.
    7.3. Lift up on the 5th driven gear and record the measurement.

    Specifications
    5th driven gear axial clearance 0.12-0.27 mm (0.0047-0.0106 in)

    7.4. If the clearance is out of specifications inspect for excessive wear on the thrust surface of the 5th driven gear (507), the 5th/reverse synchronizer hub (509), and the shoulder of the output shaft (524).

    Object Number: 1507157  Size: SH
  15. Using a hydraulic press remove the 5th/reverse synchronizer hub (509) and the 5th driven gear (507).
  16. Remove the 5th driven gear inner bearing (506).
  17. Remove the 5th driven gear spacer (505).

  18. Object Number: 1203924  Size: SH
  19. Remove the following components from the output shaft:
  20. • The 3rd/4th driven gear retaining ring cap retainer (504)
    • The 3rd/4th driven gear retaining ring cap (503)
    • The 3rd/4th driven gear retaining rings (502)
    • The 3rd/4th driven gear selective spacer (501)
    • The 3rd/4th driven gear (500)
    • The 1st driven gear (517)

    Object Number: 1344624  Size: SH
  21. Remove the following components from the output shaft (524):
  22. • The 1st driven gear selective spacer (518)
    • The 1st/2nd idler gear thrust bearing (519)
    • The 1st/2nd idler gear (520)
    • The 1st/2nd idler gear inner bearing (521)
    • The 1st/2nd driven gear thrust bearing (522)
    • The 1st/2nd driven gear (523)
  23. Inspect all bearings for wear or damage.
  24. Inspect the output shaft (524) bearing surfaces and shaft splines for scoring, excessive wear, or damage. Replace the output shaft if faulty.
  25. Inspect the gear bearing surfaces for excessive wear or damage. Refer to Output Shaft in Transmission Clearance Specifications .