GM Service Manual Online
For 1990-2009 cars only

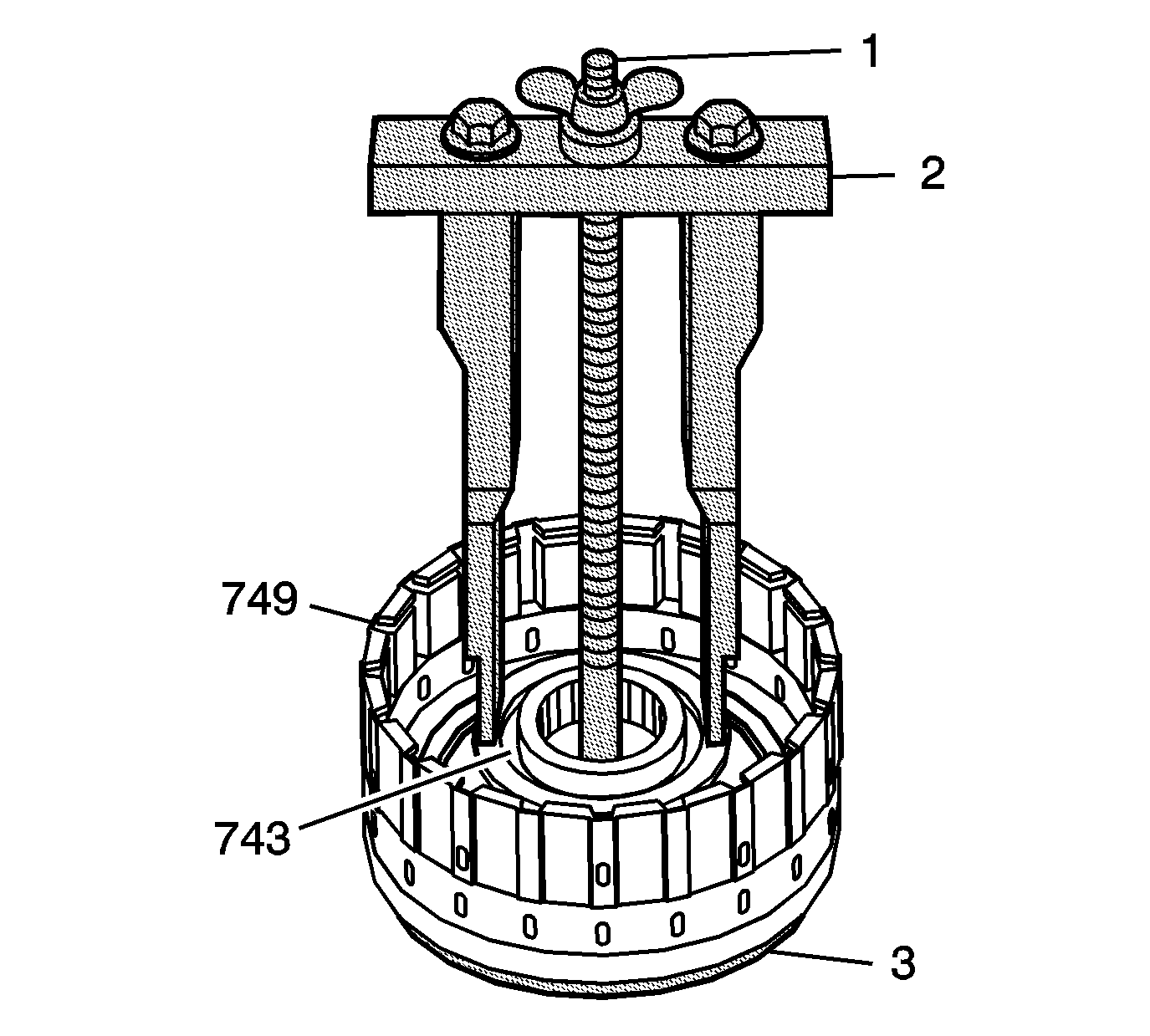
Tools Required

    • J 23327 Spring Compressor
    • J 28585 Snap Ring Remover
    • J 45124 Adjustable Bridge

    Object Number: 1353668  Size: SH

    Important: The clutch piston spring washer is crimped to the 2nd clutch piston. Do not detach from the piston.

  1. Using J 28585 remove the 2nd clutch backing plate retaining ring (739) from the 2nd clutch hub (749).

  2. Object Number: 1345504  Size: SH
  3. Remove the selective clutch backing plate (740) from the 2nd clutch hub (749).

  4. Object Number: 1345460  Size: SH
  5. Remove the fiber plates (741) and the steel plates (742) from the 2nd clutch hub (749).

  6. Object Number: 1345448  Size: SH

    Important: Position the legs of the J 45124 on the spring retainer cap only where the spring is in contact with the cap.

  7. Using the bridge and legs of the J 45124  (2) with the forcing screw of the J 23327  (1) and J 21420-2 (3) plate of the J 23327 , compress the clutch piston return spring until the groove for the clutch spring retainer cap retaining ring (743) is accessible.
  8. • Adjust the legs of the J 45124 to have full contact with the clutch piston return spring retainer cap.
    • Do not place the legs on the spring retainer cap that is not supported by the spring.
    • Ensure the legs remain in position where the spring retainer cap is in contact with the spring.

    Object Number: 1345449  Size: SH
  9. Remove the 2nd clutch piston return spring cap, retaining ring (743) and remove the tools.

  10. Object Number: 1345223  Size: SH
  11. Remove the following components from the 2nd clutch housing (749):
  12. • 2nd clutch piston retaining ring (743).
    • 2nd clutch retaining cap (744).
    • 2nd clutch piston return spring (745).

    Object Number: 1345870  Size: SH
  13. Install the 2nd clutch housing (749) onto the 1st/2nd clutch shaft (736).
  14. Caution: When you use compressed air in order to clear fluid passages and to dry parts, always aim the air pressure away from face and eyes. Always wear adequate eye protection in order to avoid injury from dirt and debris that may adhere to parts.

  15. Apply compressed air to the 2nd clutch apply port located in the 1st/2nd clutch shaft.
  16. If there is too much air leakage to remove the piston, install the old 1st/2nd clutch shaft fluid passage seals (738).

  17. Remove the 2nd clutch piston (746).

  18. Object Number: 1345452  Size: SH
  19. Remove the 2nd clutch piston inner seal (748).
  20. Remove the 2nd clutch piston outer seal (747).