GM Service Manual Online
For 1990-2009 cars only

Tools Required

    • DT 46509 Tube Style Driver
    • SA9179NE Dial Indicator

    Object Number: 1507168  Size: SH

    Important: If the transaxle has a failure of the coast clutch sprag assembly or any of the below parts, a service kit is available.

    Replace all of the parts of the kit to prevent loss of adequate lubrication. The kit includes the following parts:

       • Torque converter housing
       • 1st/2nd clutch shaft
       • 3rd clutch shaft
       • 1st drive gear
       • Coast clutch sprag assembly

  1. Inspect the 3rd clutch shaft to determine if the fluid passage hole matches the 1st design or 2nd design. In the 1st design (1) the fluid passage hole diameter is 4.0 mm. In the 2nd design (2) the fluid passage hole diameter is 3.7 mm.

  2. Object Number: 1345591  Size: SH

    Important: The 3rd clutch shaft fluid passage seals (824) are installed after the installed height measurement.

  3. Wrap the 3rd clutch shaft (823) splines with tape.
  4. Install 2 new 26.7 mm x 1.9 mm 3rd clutch housing fluid passage O-ring seals (822) in the 3rd clutch O-ring grooves.
  5. Remove the tape from the 3rd clutch shaft (823).

  6. Object Number: 1345592  Size: SH
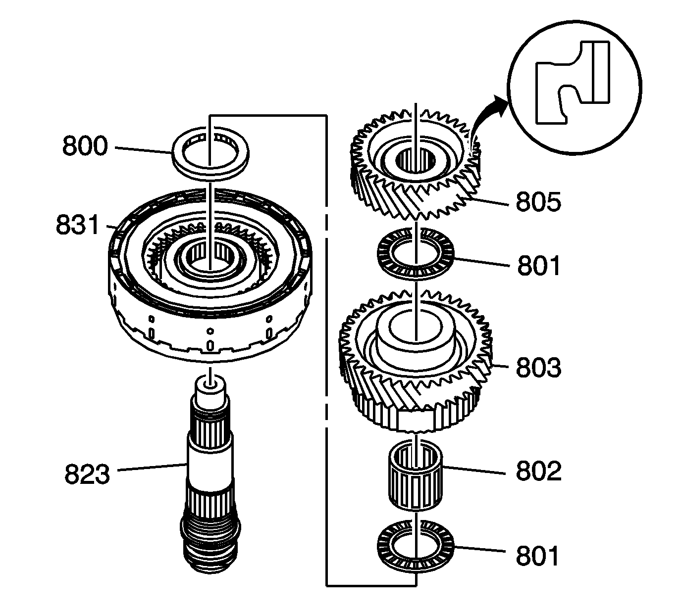
  7. Install the 3rd clutch assembly (831) on the 3rd clutch shaft (823).
  8. Install the 53 mm 3rd drive gear and clutch hub bearing race (800).
  9. Install the 3rd drive gear and clutch hub 30 mm x 52 mm x 3 mm thrust bearing (801).
  10. Install the 3rd drive gear and clutch hub 30 mm x 36 mm x 3 mm inner bearing (802).
  11. Install the 3rd drive gear and clutch hub (803).
  12. Install the 3rd driven gear and clutch hub 30 mm x 52 mm x 3 mm thrust bearing (801).
  13. Place the 3rd driven gear (805) on the 3rd clutch shaft (823) with the hub protrusion facing down as shown and align the splines.

  14. Object Number: 1346863  Size: SH
  15. Using DT 46509 and a hydraulic press, Install the 3rd driven gear (805) until the gear seats on the shoulder of the 3rd clutch shaft.

  16. Object Number: 1345526  Size: SH
  17. Using SA9179NE  (1) measure the 3rd drive gear (803) axial clearance.
  18. 13.1. Position SA9179NE gage pointer on the top of the gear teeth.
    13.2. Zero the gage.
    13.3. Lift up on the 3rd drive gear (803) to measure the clearance.
    13.4. Measure the axial clearance in 3 different locations by rotating the 3rd drive gear.
    13.5. Average the 3 measurements for the axial clearance.

    Specification
    The 3rd gear axial clearance is 0.005-0.045 mm (0.0002-0.0018 in)

  19. If the clearance exceeds the specification, replace the 3rd drive gear thrust bearing race (800) with the correct thickness.
  20. If the clearance exceeds the maximum with the thickest bearing race (800), inspect the following:
  21. • 3rd driven gear (805) not installed completely
    • 3rd drive gear (803) worn thrust surface
    • 3rd drive gear thrust bearing (801) worn or damaged
    • 3rd driven gear (805) worn thrust surface
  22. If the clearance is lower than the specifications with the thinnest bearing race (800), inspect for burrs or contamination of debris between the bearing thrust surfaces.

  23. Object Number: 1346865  Size: SH
  24. Install the 3rd driven gear retaining ring (806) on the 3rd clutch shaft (823).
  25. Install the 3rd driven gear retaining ring cap (807).
  26. Install the 3rd driven gear retaining ring cap 24 mm retaining ring (808).
  27. Install the 3rd clutch shaft 26.5 mm washer (809). The correct thickness of the washer will be determined during the installed height measurement procedure. Refer to 3rd Clutch Shaft Installed Height Measurement .