GM Service Manual Online
For 1990-2009 cars only

Tools Required

    • EN 46342 Driver Handle
    • DT 46428 Driver
    • J 25070 Heat Gun

Removal Procedure


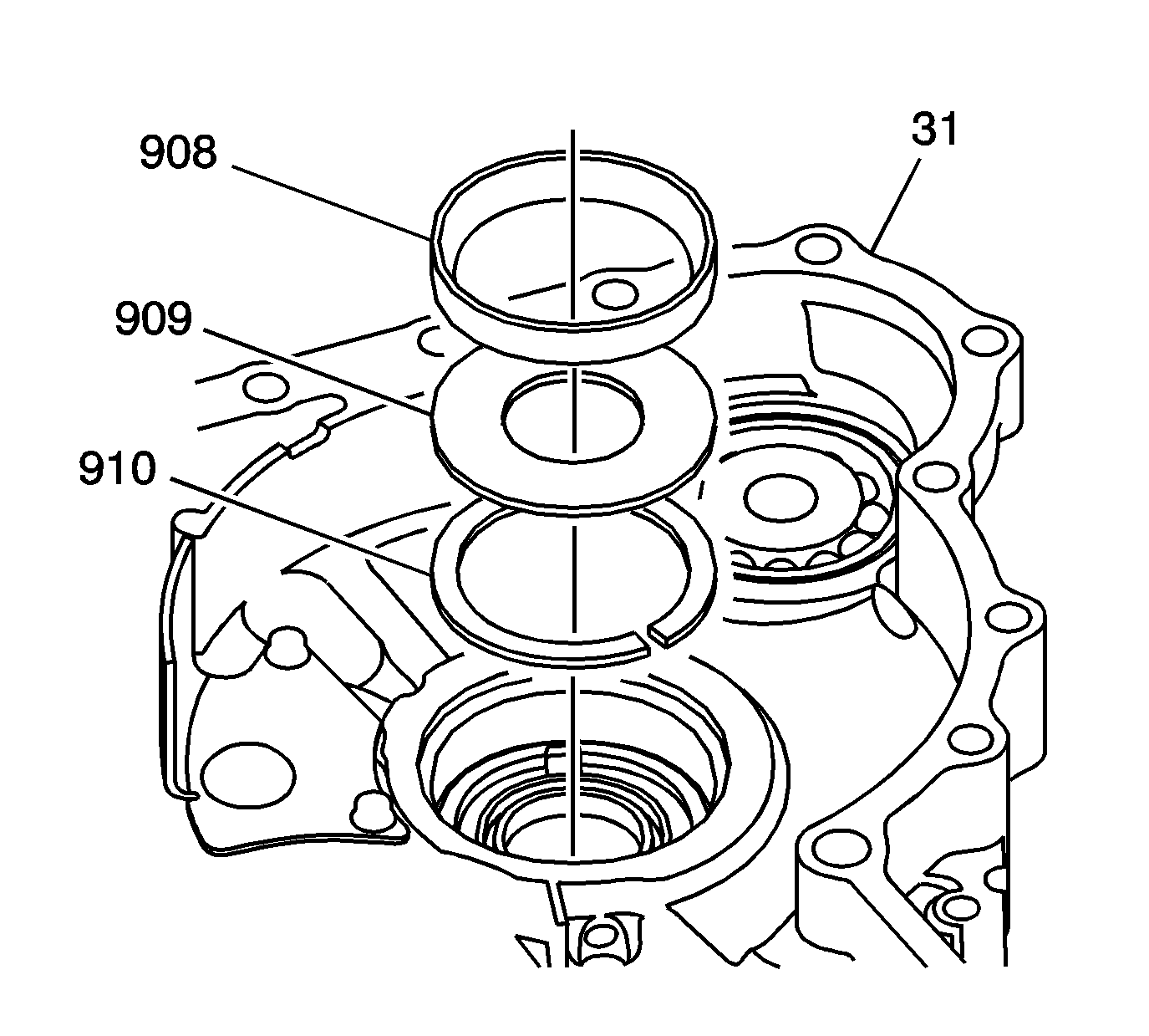
    Object Number: 1205916  Size: SH

    Important: Always replace the tapered roller bearing and the race as a set.

    Notice: Do not heat the component over the specified value or damage could occur.

  1. Using J 25070 heat the transmission case (31).
  2. Do not heat the housing greater than 100°C (212°F).

  3. Remove the following components:
  4. • Front differential tapered rear roller bearing race (908)
    • Front differential rear bearing race spacer (909)
    • Front differential bearing race selective shim (910)
  5. Refer to Front Differential Rotational Torque Measurement in order to determine the correct size of the front differential bearing race selective shim (910).

Installation Procedure


    Object Number: 1205917  Size: SH
  1. Lubricate all parts with automatic transmission fluid during installation.
  2. Install the bearing race selective shim (910) and the bearing race spacer (909) into the transmission case (31).
  3. Install the tapered rear roller bearing race (908) into the transmission case (31).

  4. Object Number: 1205918  Size: SH
  5. Using the 83 mm side of DT 46428  (1) and EN 46342  (2), install the front differential tapered rear roller bearing race (908) until it bottoms in the transmission case (31).