GM Service Manual Online
For 1990-2009 cars only

Tools Required

    • DT 46415  Driver
    • EN 46342 Driver Handle
    • J 25070 Heat Gun
    • J 26941 Bushing and Bearing Remover
    • SA9133T Axle Seal Puller
    • SA9133T-1 Axle Seal Puller Adapter

Removal Procedure


    Object Number: 1359030  Size: SH

    Notice: Do not heat the component over the specified value or damage could occur.

    Important: If a slide hammer and puller are being used without heating the case, the bearing will come apart.

  1. Using J 25070 , heat the transmission case (31) in order to remove the transfer case input gear bearing (914).
  2. Do not heat the transmission case greater than 100°C (212°F).

  3. Using the J 26941 , SA9133T-1 , and the SA9133T remove the bearing after the case is warm.

Installation Procedure


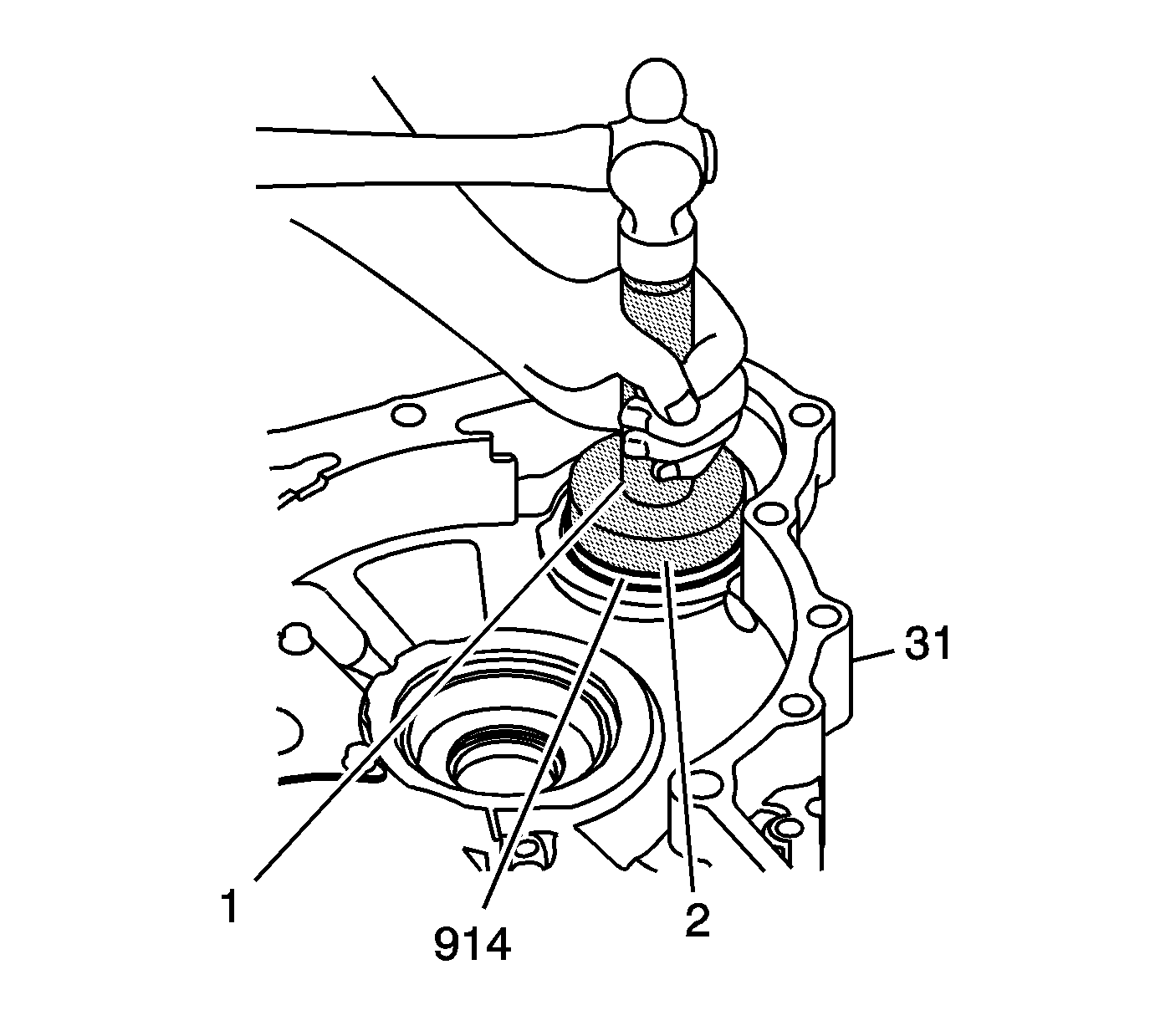
    Object Number: 1359031  Size: SH
  1. Install the transfer case input gear 40 x 80 x 16.5 mm bearing (914) into the transmission case (31) in the direction shown in the insert.

  2. Object Number: 1205931  Size: SH
  3. Using DT 46415  (2) and EN 46342  (1), install the transfer case input gear bearing (914) until it bottoms out in the transmission case (31).