GM Service Manual Online
For 1990-2009 cars only

If any of the following components have been serviced or replaced, inspect the installed height measurement to prevent internal damaged to the transaxle assembly.

    • The transfer case input gear assembly (918)
    • The transfer case input gear bearing (911)
    • The transfer case input gear bearing (914)
    • The transmission case (31)
    • The torque converter housing (150)

The transfer case input gear installed height measurement (a) can be changed by replacing the transfer case driven gear with shaft, 28.5 mm selective shim (912) as needed.


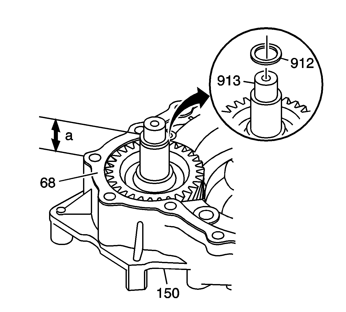
    Object Number: 1205932  Size: SH
  1. Install the transfer case input gear assembly (913) into the torque converter housing (150).
  2. Install a transfer case input gear 28.5 mm selective shim (912) on top of the shaft (913).
  3. Install a new torque converter housing gasket (68) on top of the torque converter housing (150) ensuring to align the gasket with the two transmission case locating pins.

  4. Object Number: 1205933  Size: SH
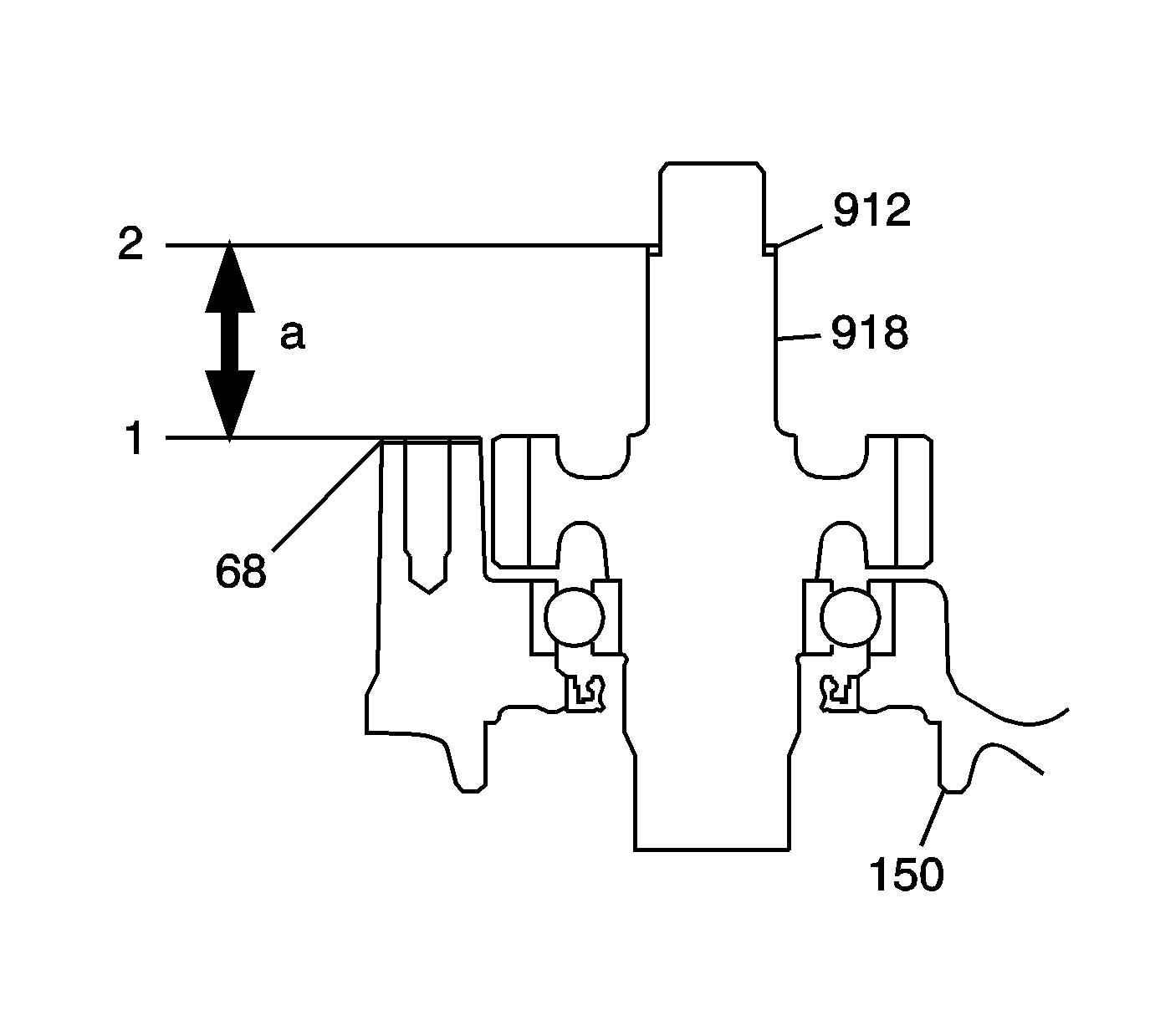
  5. Measure the height (a) from the torque converter housing gasket (1) and the top (2) of the transfer case input gear 28.5 mm selective shim (912) in at least 3 places. Use the average of the 3 measurements as the actual height.
  6. Specification:
    The height (a) is between 42.81-42.85 mm (1.685-1.687 in)

  7. If the measurement is out of specification, remove the transfer case input gear 28.5 mm selective shim (912) and measure its thickness.
  8. Select and install the correct transfer case input gear 28.5 mm selective shim (912), and then measure the installation height again.