GM Service Manual Online
For 1990-2009 cars only

    Object Number: 1206167  Size: SH
  1. Install the following components into the torque converter housing (150):
  2. • The 1st/2nd clutch housing thrust bearing (750) with the rounded shoulder down
    • The 1st, 2nd clutch shaft assembly (755)
    • Both torque converter housing locating pins
    • The torque converter housing gasket (68)

    Object Number: 1206173  Size: SH
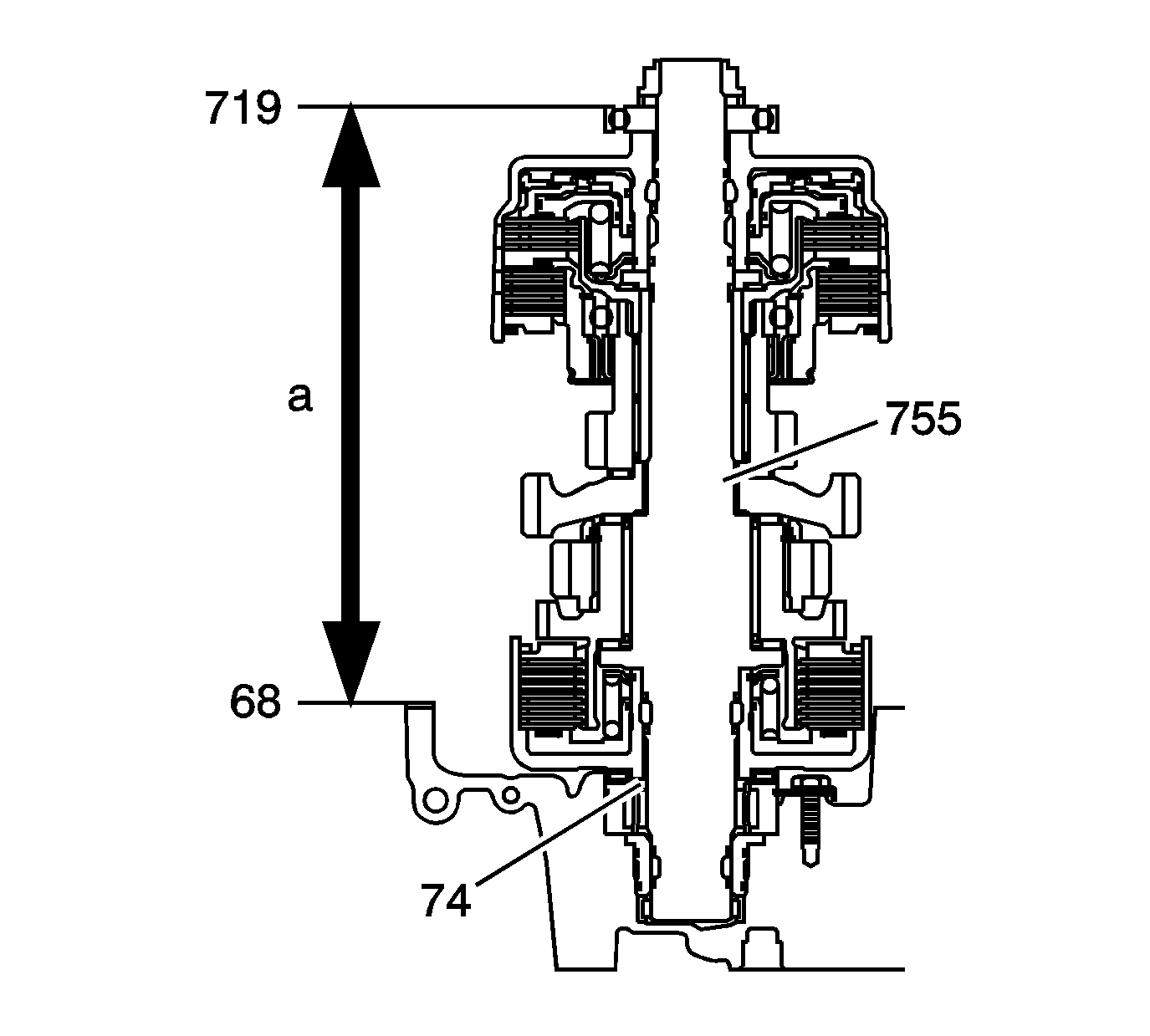
  3. Measure the height (a) of the 1st/2nd clutch shaft assembly (755) from the top of the torque converter housing gasket (68) to the top of the 1st/2nd clutch shaft bearing (719).
  4. Record the measurement. The measurement is the recorded 1st/2nd clutch shaft installed height.
  5. Use the following formula for selection of the correct thickness of the 1st/2nd clutch shaft shim (74):
  6. Formula
    The recorded 1st/2nd clutch shaft installed height measurement minus the 1st/2nd clutch shaft installed height specification equals the required shim thickness adjustment.

    Specifications
    1st/2nd clutch shaft installed height 222.54-222.63 mm (8.761-8.765 in)


    Object Number: 1206176  Size: SH
  7. Remove the 1st/2nd clutch shaft shim (74) from the transmission case (31).
  8. Measure the thickness of the shim.
  9. • In the above formula if the recorded height was less than the specification height, add the difference to the removed shim (74).
    • In the above formula if the recorded height was more than the specification height, subtract the difference from the removed shim (74).
  10. If the thickness of the shim is not the required thickness from the above formula, select from the table the correct thickness of shim. Refer to Shim Size Specifications .
  11. Install the correct 1st/2nd clutch shaft 65 mm selective shim (74) into the transmission case (31).