GM Service Manual Online
For 1990-2009 cars only

    Object Number: 1206284  Size: SH
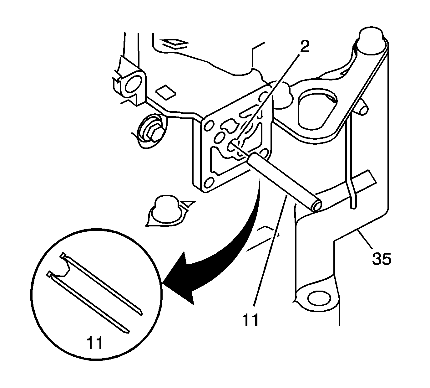
  1. Install a 8 x 53 mm TCC apply pressure control solenoid fluid feed passage tube (11) with the filter end facing the transmission case hole (2).

  2. Object Number: 1206289  Size: SH
  3. Measure from the top of the 8 x 53 mm fluid passage tube (11) to the machined surface of the transmission case (31). This is the installed height (a) of the fluid passage tube (11).
  4. If the measurement between the top of the tube and the case machined surface is approximately 7 mm (0.3 in), the tube is correctly installed in the accumulator fluid passage port.
  5. If the measurement is greater than 7 mm (0.3 in), install the fluid passage tube again until it is correctly seated in the accumulator body.

  6. Object Number: 1347233  Size: SH
  7. Install a 8 x 36 mm TCC lock-up pressure control solenoid fluid apply passage pipe (10) with the filter end facing the transmission case.
  8. Install the following components into the transmission case:
  9. • A 8 x 25.2 mm TCC lock-up pressure control solenoid fluid apply passage pipe (13)
    • A new TCC apply pressure control solenoid gasket (12)

    Object Number: 1347234  Size: SH
  10. Install both 7.7 x 2.3 mm clutch pressure control fluid passage pipe O-ring seals (9) over the fluid feed passage tubes.
  11. Important: Do not damage any of the TCC lock-up pressure control fluid passage pipe O-ring seals (9) during installation.

  12. Install the TCC apply pressure control solenoid assembly (7).
  13. Notice: Refer to Fastener Notice in the Preface section.

  14. Install the 4 TCC pressure control solenoid valve M6 x 1.0 x 30 mm bolts (6).
  15. Tighten
    Tighten the bolts to 12 N·m (106 lb in).