The wiring circuits in your vehicle are protected from short circuits by fuses. This greatly reduces the chance of circuit overload and fire caused by electrical problems.
There are two fuse blocks -- the underhood fuse block, and the instrument panel fuse block.
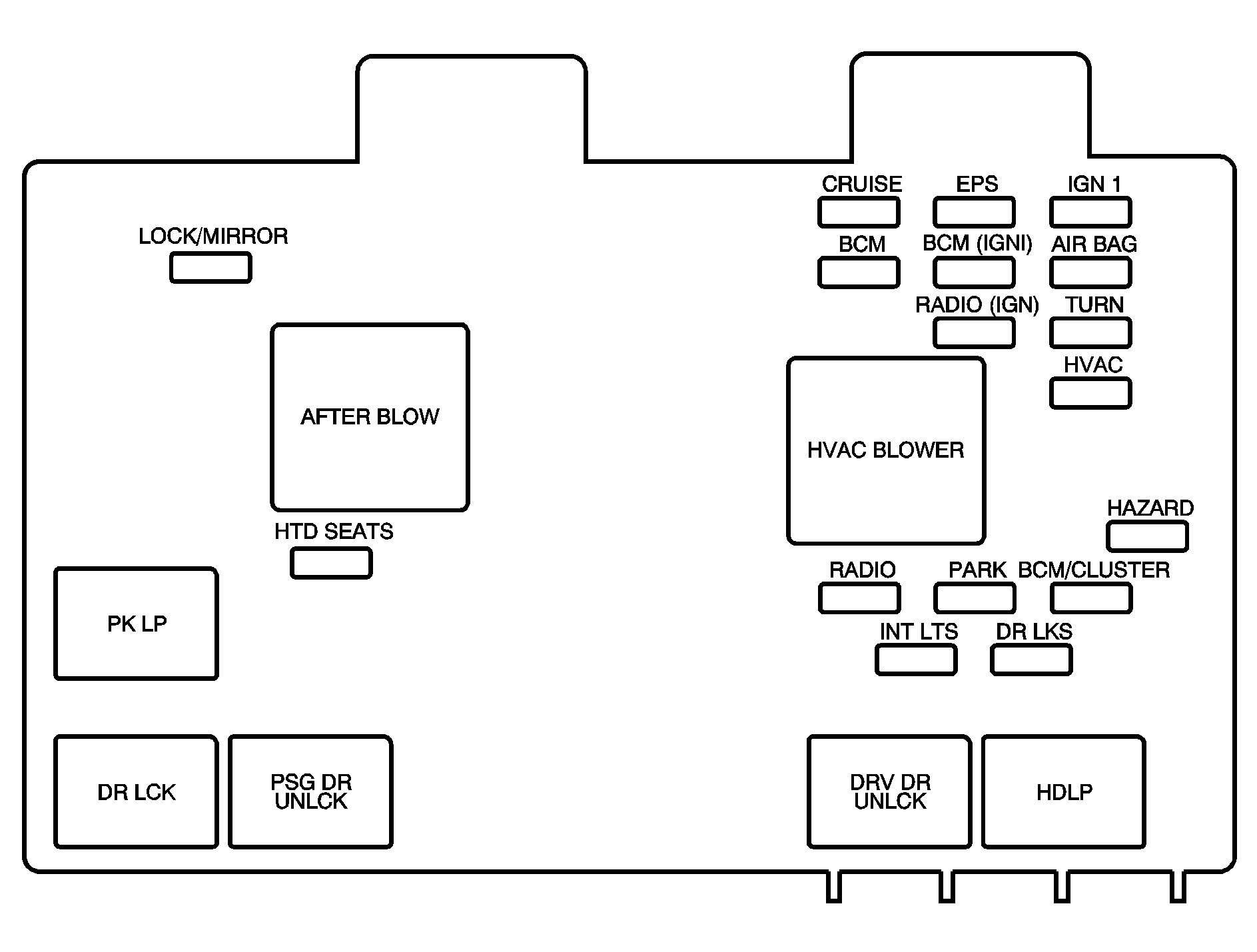
To identify and check fuses and relays, refer to the Fuse Usage Chart on the inside surface of the fuse panel door.
The instrument panel fuse block is located by the passenger's left leg.
Fuses | Usage |
|---|---|
RADIO | Radio, Data Link Connector |
BCM/CLSTR | Body Control Module, Instrument Cluster |
INT LTS | Body Control Module, OnStar® |
PARK | Park Lamps, Taillamps, Side Marker Lamps, License Lamps |
HZRD | Hazard Lamps |
DR LCK | Door Lock Relay |
LOCK/MIRROR | Power Door Locks, Power Mirror, Entry Control |
TURN | Turn Lamps |
BCM | Body Control Module, Front Wipers, Windows, Sunroof |
RADIO IGN | Radio, Power Mirror, Premium Radio Amplifier |
HVAC | HVAC Control Head |
IGN 1 | Instrument Cluster, BTSI Solenoid, Traction Switch, Fog Lamp Switch |
BCM (IGN) | Body Control Module |
AIRBAG | SDM Module |
EPS | Electronic Power Steering |
CRUISE | Cruise Control Switch, Brake Switch |
HTD SEATS | Heated Seats |
Relays | Usage |
|---|---|
HVAC BLOWER | HVAC Control Head |
DR LCK | All Door Lock Switch |
PASS DR UNLOCK | Passenger Door Unlock Switch |
DRV DR UNLCK | Driver Door Unlock Switch |
The underhood fuse block is located in the forward part of the engine compartment near the battery.
Fuses | Usage |
|---|---|
IGNITION | Ignition switch |
BATT FEED | I/P Fuse Box |
COOL 1 | Cooling Fan Module |
COOL FAN HIGH | Cooling Fan High Relay |
COOL FAN LOW | Cooling Fan Low Relay |
PWR WDW | Power Window Relay and Sunroof |
HVAC BLOWER | HVAC Blower Motor |
ABS | ABS Module |
BRAKE | Stop Lamps |
A/C CLUTCH | A/C Clutch Relay, Back Up Lamps (3.5L V6 (L66)) |
SUNROOF | Sunroof Module |
RR WIPER | Rear Wiper Relay |
FRT WIPER | Front Wiper Relay |
IGN/INJ | Engine Ignition Module, Fuel Injectors (2.2L L4 (L61)) |
ABS | ABS Ignition |
ABS | ABS Battery |
BACKUP | Low Coolant Switch, Backup Lamps (2.2L L4 (L61)), Vehicle Speed Sensor (Manual), Transmission Range Switch (2.2L L4 (L61)) |
PWRTRAIN | Engine Control Module (ECM), Transmission Control Module (TCM), Transmission |
EMISS | Canister Purge Solenoid, Canister Vent Solenoid, Rear Heated O2, Front Heated O2 |
ECM/TCM | Battery Voltage to ECM, TCM, PCM (3.5L V6 (L66)) |
ECM/CAM (3.5L V6 (L66)) | Camshaft Sensor, Main Relay Voltage To PCM, Ignition Coils 1-6 |
ETC (2.2L Four Cylinder (L61)) | Engine Control Module (ECM), Electronic Throttle Control |
FUEL PUMP | Fuel Pump Relay |
CIGAR/AUX2 | Cigar Lighter |
AUX 1 OUTLET | Front Auxiliary Power Outlet |
FOG LP | Fog Lamp Relay |
REAR DEFOG | Rear Defog Relay |
HORN | Horn Relay |
LH HDLP | Left Headlamp |
RH HDLP | Right Headlamp |
INJECTORS (3.5L V6 (L66)) | Fuel Injection |
PREM AUD | Premium Radio Amplifier |
HTD SEATS | Heated Seats |
Relays | Usage |
|---|---|
COOL FAN HIGH | Cooling Fan Motor High |
COOL FAN LOW | Cooling Fan Motor Low |
A/C CLUTCH | A/C Clutch |
PWR WDW | Power Window Switch, Sunroof Module |
FRT WIPER | Front Wiper System |
RR WIPER | Rear Wiper System |
WIPER SYSTEM | Wiper System |
ENG MAIN | ECM/CAM, EMISS, INJ, ETC |
FUEL PUMP | Fuel Pump System |
DRL | Daytime Running Lamps |
REAR DEFOG | Rear Defog System |
HORN | Horn |
FOG LP | Fog Lamps |