GM Service Manual Online
For 1990-2009 cars only

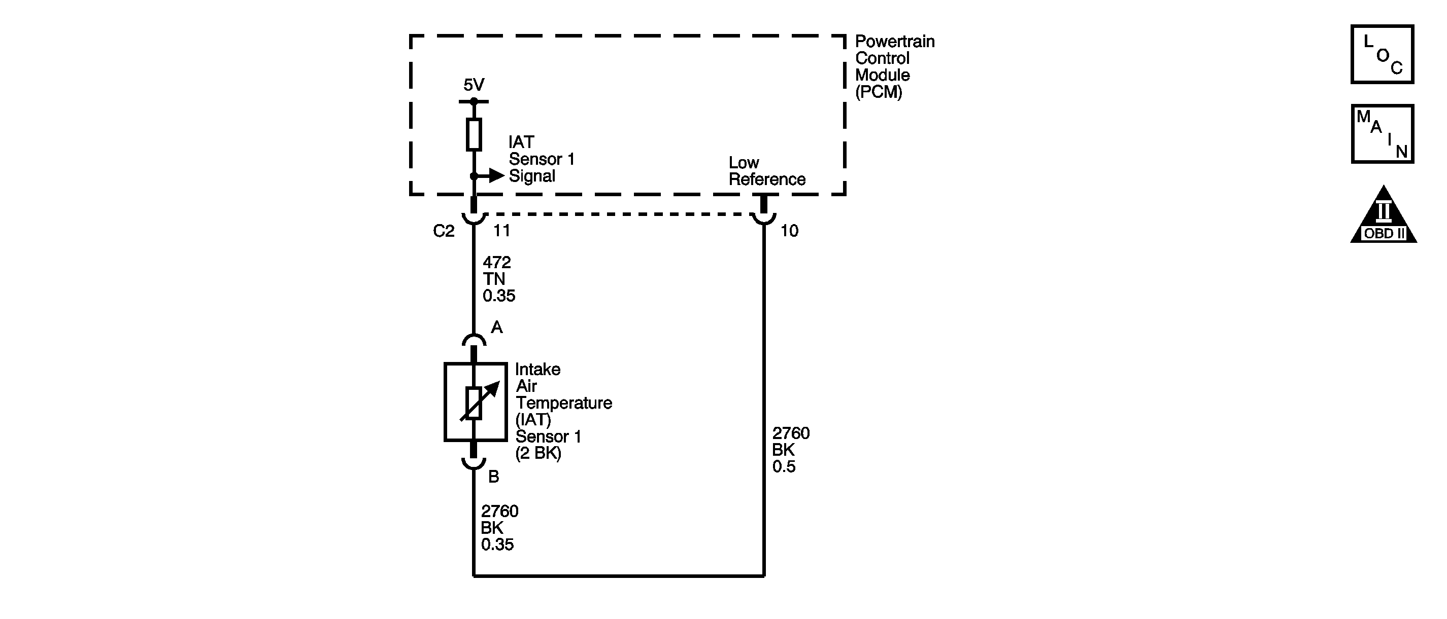
Object Number: 1350476  Size: SF
Engine Controls Component Views
Engine Controls Schematics
Engine Controls Schematic Icons

Circuit Description

The DTC P0113 Intake Air Temperature (IAT) Sensor 1 Circuit High Voltage diagnostic monitors the signal circuit value. The IAT sensor is a variable resistor that measures the temperature of the intake air. The powertrain control module (PCM) supplies 5 volts to the IAT signal circuit and supplies a ground to the low reference circuit. If the PCM detects a high IAT signal voltage, which is a low temperature indication, this DTC sets.

The following table illustrates the difference between temperature, resistance, and voltage:

IAT

IAT Resistance

IAT Signal Voltage

Cold

High

High

Warm

Low

Low

DTC Descriptor

This diagnostic procedure supports the following DTC.

DTC P0113 Intake Air Temperature (IAT) Sensor 1 Circuit High Voltage

Conditions for Running the DTC

    • The ignition is ON.
    • DTC P0112 is not set.
    • DTC P0113 runs continuously once the above conditions are met.

Conditions for Setting the DTC

    • The PCM detects that the intake air temperature (IAT) sensor 1 signal voltage is 4.95 volts or more.
    • The above condition is present for at least 5 seconds.

Action Taken When the DTC Sets

    • The powertrain control module (PCM) illuminates the malfunction indicator lamp (MIL) when the diagnostic runs and fails.
    • The PCM records the operating conditions at the time the diagnostic fails. The PCM stores this information in the Freeze Frame/Failure Records.

Conditions for Clearing the MIL/DTC

    • The PCM turns OFF the malfunction indicator lamp (MIL) after 3 consecutive ignition cycles that the diagnostic runs and does not fail.
    • A last test failed, or current DTC, clears when the diagnostic runs and does not fail.
    • A history DTC clears after 40 consecutive warm-up cycles, if no failures are reported by this or any other emission related diagnostic.
    • Use a scan tool in order to clear the MIL and the DTC.

Diagnostic Aids

    • Use the Temperature vs Resistance table in order to test the IAT sensor at various temperature levels in order to evaluate the possibility of a skewed sensor. A skewed sensor could result in a driveability condition. If the engine has sat overnight, the engine coolant temperature and the intake air temperature values should display within a few degrees. If the temperatures are not within 3°C (5°F), refer to Temperature Versus Resistance - Intake Air Temperature Sensor .
    • For an intermittent condition, refer to Intermittent Conditions .

Test Description

The numbers below refer to the step numbers in the diagnostic table.

  1. The Diagnostic System Check-Engine Controls prompts the technician to complete some basic checks and store the Freeze Frame data on the scan tool if applicable. This creates an electronic copy of the data taken when the fault occurred. The information is then stored in the scan tool for later reference.

  2. This step will determine if a fault is present.

  3. Review the Freeze Frame data to determine when the DTC set. Always record this information.

  4. This step determines if there is a fault in the IAT circuit wiring.

  5. After replacing the PCM a new minimum throttle position and idle speed must also be established.

Step

Action

Value(s)

Yes

No

Connector End View Reference: Powertrain Control Module Connector End Views or Engine Controls Connector End Views

1

Did you perform the Diagnostic System Check-Engine Controls?

--

Go to Step 2

Go to Diagnostic System Check - Engine Controls

2

  1. Turn ON the ignition, leaving the engine OFF.
  2. Install a scan tool.
  3. Observe the intake air temperature (IAT) parameter on the scan tool.

Is the IAT less than or equal to the specified value?

-40°C (-40°F)

Go to Step 4

Go to Step 3

3

  1. Observe the Freeze Frame and/or the Failure records data for this DTC.
  2. Turn OFF the ignition for 30 seconds.
  3. Start the engine.
  4. Operate the vehicle within the Conditions for Running the DTC. You may also operate the vehicle within the conditions that you observed from the Freeze Frame and/or the Failure Records data.

Does the DTC fail this ignition cycle?

--

Go to Step 4

Go to Diagnostic Aids

4

  1. Disconnect the IAT sensor 1 electrical connector.
  2. Jump the IAT signal circuit and the sensor 1 ground circuit together at the IAT sensor 1 harness connector.
  3. Observe the IAT parameter on the scan tool.

Is the IAT equal to or more than the specified value?

168°C (334°F)

Go to Step 6

Go to Step 5

5

  1. Jumper the IAT signal circuit at the sensor 1 harness connector to chassis ground.
  2. Observe the IAT parameter on the scan tool.

Is the IAT equal to or more than the specified value?

168°C (334°F)

Go to Step 7

Go to Step 8

6

  1. Check for a faulty electrical connection at the IAT sensor 1. Refer to Testing for Intermittent Conditions and Poor Connections in Wiring Systems.
  2. Repair as necessary. Refer to Wiring Repairs in Wiring Systems.

Did you find and correct the condition?

--

Go to Step 12

Go to Step 10

7

  1. Turn OFF the ignition.
  2. Disconnect the PCM.
  3. Check the IAT sensor 1 ground circuit for an open circuit. Refer to Wiring Repairs in Wiring Systems.

Did you find and correct the condition?

--

Go to Step 12

Go to Step 9

8

  1. Turn OFF the ignition.
  2. Disconnect the PCM.
  3. Check the IAT sensor 1 signal circuit for an open.
  4. Repair as necessary. Refer to Wiring Repairs in Wiring Systems.

Did you find and correct the condition?

--

Go to Step 12

Go to Step 9

9

  1. Check for a faulty connection at the PCM.
  2. Repair as necessary. Refer to Wiring Repairs in Wiring Systems.

Did you find and correct the condition?

--

Go to Step 12

Go to Step 11

10

Replace the IAT sensor 1. Refer to Intake Air Temperature Sensor 1 Replacement .

Did you complete the replacement?

--

Go to Step 12

--

11

  1. Replace the PCM. Refer to Powertrain Control Module Replacement .
  2. Perform the idle learn procedure. Refer to Idle Learn .

Did you complete the replacement?

--

Go to Step 12

--

12

  1. Use the scan tool in order to clear the DTCs.
  2. Turn the ignition OFF for 30 seconds.
  3. Start the engine.
  4. Operate the vehicle within the Conditions for Running the DTC.

Does the DTC run and pass?

--

Go to Step 13

Go to Step 2

13

With a scan tool, observe the stored information, Capture Info.

Does the scan tool display any DTCs that you have not diagnosed?

--

Go to Diagnostic Trouble Code (DTC) List

System OK