GM Service Manual Online
For 1990-2009 cars only

Object Number: 882386  Size: MF
Master Electrical Component List
Automatic Transmission Controls Schematics
OBD II Symbol Description Notice

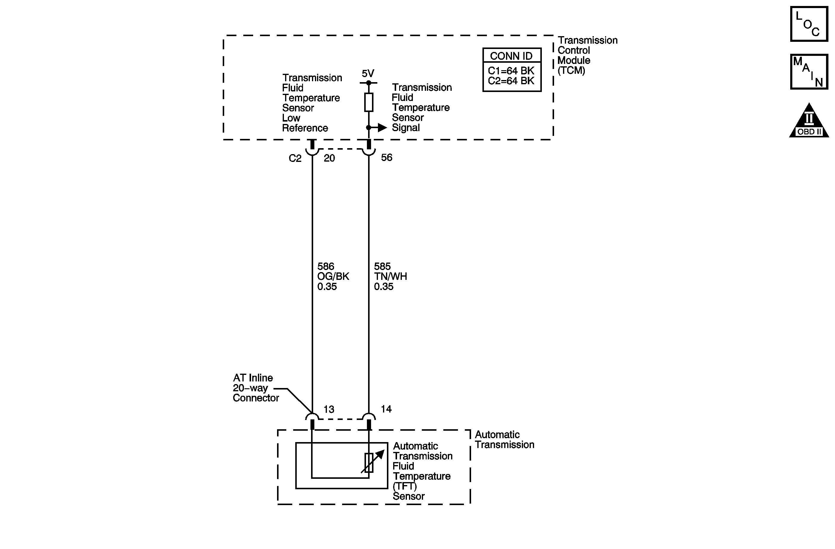
Circuit Description

The automatic transmission fluid temperature (TFT) sensor is part of the control solenoid valve assembly. The TFT sensor is a thermistor, or a resistor that changes resistance when the temperature changes. The sensor has a negative-temperature coefficient. This means that as the temperature increases, the resistance decreases, and as the temperature decreases, the resistance increases. The transmission control module (TCM) supplies a 5 volt reference signal to the sensor and measures the voltage drop in the circuit. When the transmission fluid is cold, the sensor resistance is high and the TCM detects high signal voltage. As the fluid temperature increases, the resistance of the sensor decreases, which lowers the signal voltage.

If the TCM detects an open or high voltage in the TFT signal circuit, DTC P0713 sets. DTC P0713 is a type C DTC.

Conditions for Running The DTC

    • No ISS DTCs P0716 or P0717.
    • No OSS DTCs P0722 or P0723
    • The engine speed is greater than 500 RPM for 5 seconds.

Conditions for Setting The DTC

The TCM detects a transmission fluid temperature of -40°C (-40°F) or less for 80 seconds.

Action Taken When the DTC Sets

    • The TCM does not request the ECM to illuminate the malfunction indicator lamp (MIL).
    • The TCM will request the ECM to illuminate the service vehicle soon (SVS) lamp.
    • The TCM calculates a default transmission fluid temperature based on engine coolant temperature, intake air temperature and engine run time.
    • The TCM freezes garage shift transmission adaptive functions.
    • The TCM records the operating conditions when the Conditions for Setting the DTC are met. The TCM stores this information as Failure Records.
    • The TCM stores DTC P0713 in TCM history.

Conditions for Clearing the SVS Lamp/DTC

    • The TCM clears the SVS lamp request when the condition no longer exists.
    • A scan tool can clear the SVS lamp/DTC.
    • The TCM clears the DTC from TCM history if the vehicle completes 40 warm-up cycles without a non-emission related diagnostic fault occurring.
    • The TCM cancels the DTC default actions when the fault no longer exists and the DTC passes.

Diagnostic Aids

    • Inspect the connectors at the TCM, the transmission, and all other circuit connecting points for an intermittent condition. Refer to Testing for Intermittent Conditions and Poor Connections in Wiring Systems.
    • Inspect the circuit wiring for an intermittent condition. Refer to Testing for Electrical Intermittents in Wiring Systems.

Step

Action

Values

Yes

No

1

Did you perform the Diagnostic System Check - Engine Controls?

--

Go to Step 2

Go to Diagnostic System Check - Engine Controls in Engine Controls - 2.2L (L61)

2

  1. Install a scan tool.
  2. Turn ON the ignition, with the engine OFF.
  3. Important: 

       • Before clearing the DTC, use the scan tool in order to record the ECM and the TCM Failure Records. Using the Clear DTC Info function erases the Failure Records from the ECM and TCM.
       • Using the Clear DTC Info function erases stored DTCs in both the ECM and TCM.

  4. Record the DTC Failure Records.
  5. Clear the DTC.
  6. Select Trans. Fluid Temp. on the scan tool.

Does the scan tool display a Trans. Fluid Temp. less than the specified value?

-39°C (-38°F)

Go to Step 3

Go to Intermittent Conditions in Engine Controls - 2.2L (L61)

3

  1. Turn OFF the ignition.
  2. Disconnect the AT inline 20-way connector. Additional DTCs may set.
  3. Using the DMM and the J 35616 GM Terminal Test Kit, measure the resistance between the TFT sensor signal and the low reference circuits of the transmission.

Is the resistance less than the specified value?

100 K ohms

Go to Step 5

Go to Step 4

4

  1. Test the TFT sensor signal circuit for a short to voltage between the TCM C2 connector and the TFT sensor. Refer to Testing for a Short to Voltage and Wiring Repairs in Wiring Systems.
  2. Repair the wiring as necessary.
  3. Replace the control solenoid valve assembly. Refer to Control Valve Body Assembly Disassemble .

Is the repair complete?

--

Go to Step 8

--

5

  1. Test the TFT sensor signal circuit for an open between the TCM connector and the AT inline 20-way connector.
  2. Test the TFT sensor low reference circuit for an open between the TCM connector and the AT inline 20-way connector.

Refer to Testing for Continuity and Wiring Repairs in Wiring Systems.

Did you find and correct an open condition?

--

Go to Step 8

Go to Step 6

6

Test for continuity between the TFT sensor signal circuit and the other circuits between the TCM C2 connector and the AT inline 20-way connector. Refer to Testing for Continuity and Wiring Repairs in Wiring Systems.

Did you find and correct a condition?

--

Go to Step 8

Go to Step 7

7

Replace the TCM. Refer to Transmission Control Module Replacement .

Did you complete the replacement?

--

Go to Step 8

--

8

Perform the following procedure in order to verify the repair:

  1. Select DTC.
  2. Select Clear Info.
  3. Operate the vehicle under the following conditions:
  4. • Turn ON the ignition, with the engine OFF.
    • The Trans. Fluid Temp. must be greater than -40°C (-40°F) for 2 seconds.
  5. Select Specific DTC.
  6. Enter DTC P0713.

Has the test run and passed?

--

Go to Step 9

Go to Step 2

9

With the scan tool, observe the stored information, capture info and DTC info.

Does the scan tool display any DTCs that you have not diagnosed?

--

Go to Diagnostic Trouble Code (DTC) List in Engine Controls - 2.2L (L61)

System OK