GM Service Manual Online
For 1990-2009 cars only

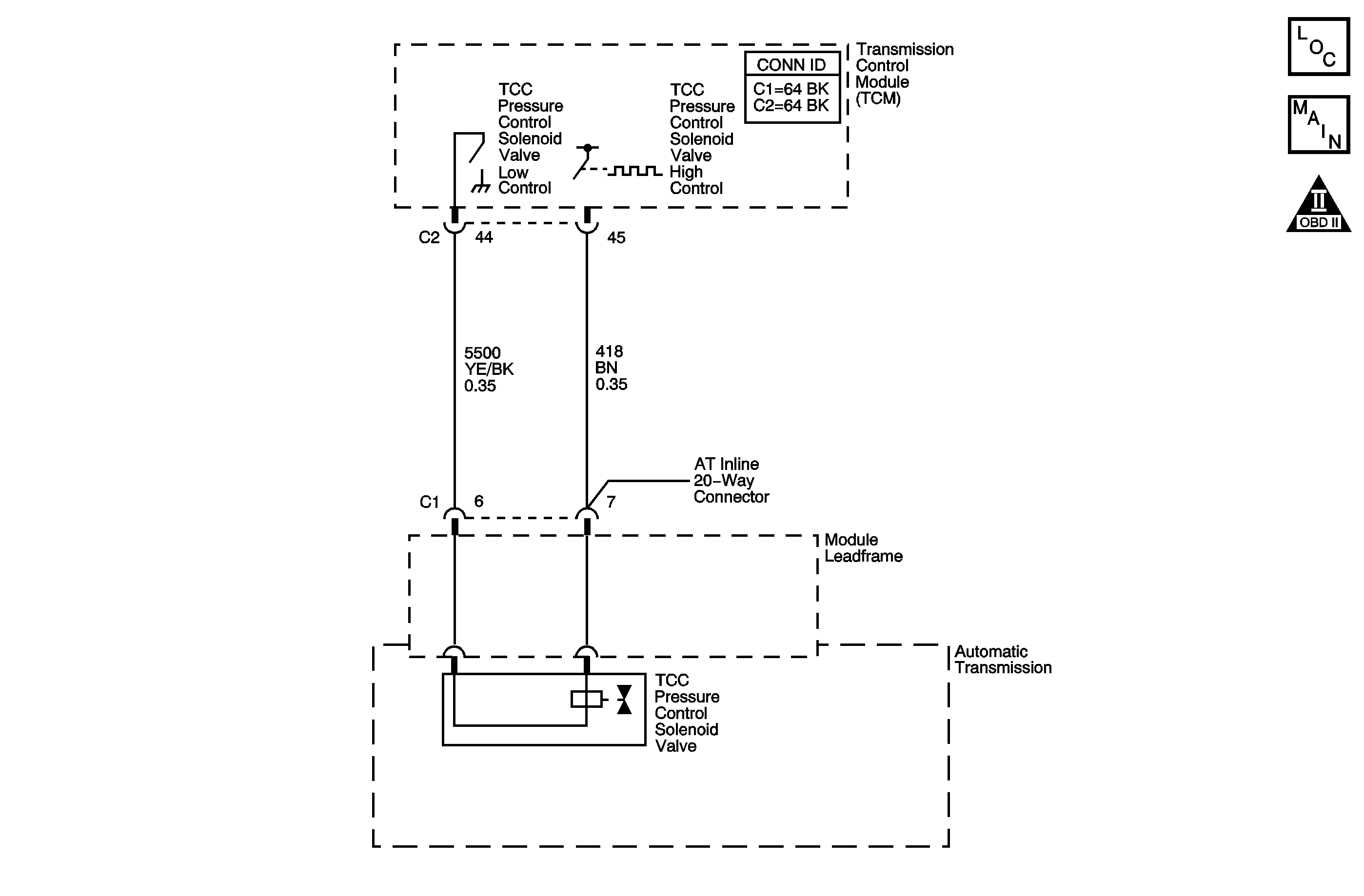
Object Number: 882394  Size: MF
Master Electrical Component List
Automatic Transmission Controls Schematics
OBD II Symbol Description Notice

Circuit Description

The TCM uses the TCC pressure control solenoid valve to apply and release the TCC system. The TCC pressure control solenoid valve is attached to the control solenoid valve assembly. The TCM compares engine and transmission inputs to determine if TCC should be applied. The TCM then regulates the pressure by applying a varying amperage to the TCC pressure control solenoid valve. The TCM then monitors the amperage at the return line.

When the TCM detects a continuous open or short to voltage in the TCC pressure control solenoid valve circuit, DTC P0964 sets. DTC P0964 is a type B DTC.

Conditions for Running the DTC

    • No TCC pressure control solenoid DTCs P0965, or P0966.
    • The engine speed is 500 RPM or greater for 5 seconds.

Conditions for Setting the DTC

The TCM detects a continuous open or short to voltage for 1.3 seconds.

Action Taken When the DTC Sets

    • The TCM requests the ECM to illuminate the malfunction indicator lamp (MIL) during the second consecutive trip in which the Conditions for Setting the DTC are met.
    • The TCM inhibits TCC engagement.
    • The TCM turns the power off to the TCC enable solenoid valve and the TCC pressure control solenoid valve. This results in harsher garage shifts and no TCC engagement.
    • The TCM no longer inhibits shifting to between reverse and drive when moving.
    • The TCM commands maximum pressure to the input clutch.
    • The TCM freezes garage shift transmission adaptive functions.
    • The TCM freezes torque converter clutch (TCC) transmission adaptive functions.
    • The ECM records the operating conditions when the Conditions for Setting the DTC are met. The ECM stores this information as Freeze Frame and Failure Records.
    • The TCM records the operating conditions when the Conditions for Setting the DTC are met. The TCM stores this information as Failure Records.
    • The TCM stores DTC P0964 in TCM history during the second consecutive trip in which the Conditions for Setting the DTC are met.

Conditions for Clearing the MIL/DTC

    • The ECM turns OFF the MIL after the third consecutive drive trip in which the TCM does not send a MIL illumination request.
    • A scan tool can clear the MIL/DTC.
    • The TCM clears the DTC from TCM history if the vehicle completes 40 warm-up cycles without an emission related diagnostic fault occurring.
    • The TCM cancels the DTC default actions when the ignition switch is OFF long enough in order to power down the TCM.

Diagnostic Aids

    • Inspect the connectors at the TCM, the transmission, and all other circuit connecting points for an intermittent condition. Refer to Testing for Intermittent Conditions and Poor Connections in Wiring Systems.
    • Inspect the circuit wiring for an intermittent condition. Refer to Testing for Electrical Intermittents in Wiring Systems.

Step

Action

Values

Yes

No

1

Did you perform the Diagnostic System Check - Engine Controls?

--

Go to Step 2

Go to Diagnostic System Check - Engine Controls in Engine Controls - 2.2L (L61)

2

  1. Install a scan tool.
  2. Turn ON the ignition, with the engine OFF.
  3. Important: 

       • Before clearing the DTC, use the scan tool in order to record the Failure Records. Using the Clear DTC Info function erases the Failure Records from the TCM.
       • Using the Clear DTC Info function erases stored DTCs in both the ECM and TCM.

  4. Record the DTC Failure Records.
  5. Clear the DTC.
  6. Turn OFF the ignition for 30 seconds.
  7. Start the engine.
  8. Select Specific DTC.
  9. Enter DTC P0964.

Does the DTC fail this ignition?

--

Go to Step 3

Go to Intermittent Conditions in Engine Controls - 2.2L (L61)

3

  1. Turn OFF the ignition .
  2. Disconnect the AT inline 20-way connector. Additional DTCs may set.
  3. Turn ON the ignition, with the engine OFF.
  4. Connect a test lamp between battery positive and low control circuit of the TCC pressure control solenoid valve.

Does the test lamp illuminate?

--

Go to Step 4

Go to Step 5

4

Using the DMM and the J-35616 , measure the voltage between the high control circuit of the TCC pressure control solenoid valve and a good ground.

Does the voltage measure within the specified range?

2-6 V

Go to Step 11

Go to Step 8

5

Connect a test lamp between the low control circuit of the TCC pressure control solenoid valve and a good ground.

Does the test lamp illuminate?

--

Go to Step 6

Go to Step 7

6

Test the low control circuit of the TCC pressure control solenoid valve for a short to voltage. Refer to Testing for a Short to Voltage and Wiring Repairs in Wiring Systems.

Did you find and correct the condition?

--

Go to Step 15

Go to Step 12

7

Test the low control circuit of the TCC pressure control solenoid valve for an open. Refer to Testing for Continuity and Wiring Repairs in Wiring Systems.

Did you find and correct the condition?

--

Go to Step 15

Go to Step 12

8

Using the DMM and the J-35616 , measure the voltage between the high control circuit and a good ground.

Does the voltage measure below the specified value?

2 V

Go to Step 9

Go to Step 10

9

Test the high control circuit of the TCC pressure control solenoid valve for an open or short to ground. Refer to Circuit Testing and Wiring Repairs in Wiring Systems.

Did you find and correct the condition?

--

Go to Step 15

Go to Step 12

10

Test the high control circuit of the TCC pressure control solenoid valve for a short to voltage Refer to Testing for a Short to Voltage and Wiring Repairs in Wiring Systems.

Did you find and correct the condition?

--

Go to Step 15

Go to Step 14

11

Inspect for faulty connections at the transmission. Refer to Circuit Testing and Connector Repairs in Wiring Systems.

Did you find and correct the condition?

--

Go to Step 15

Go to Step 13

12

Inspect for faulty connections at the TCM. Refer to Circuit Testing and Connector Repairs in Wiring Systems.

Did you find and correct the condition?

--

Go to Step 15

Go to Step 14

13

Replace the TCC pressure control solenoid valve. The TCC pressure control solenoid valve is part of the control solenoid valve assembly. Refer to Control Valve Body Assembly Disassemble .

Did you complete the replacement?

--

Go to Step 15

--

14

Replace the TCM. Refer to Transmission Control Module Replacement .

Did you complete the replacement?

--

Go to Step 15

--

15

Perform the following procedure in order to verify the repair:

  1. Select DTC.
  2. Select Clear Info.
  3. Operate the vehicle within the Conditions for Running the DTC as specified in the supporting text.
  4. Select specific DTC.
  5. Enter DTC P0964.

Has the test run and passed?

--

Go to Step 16

Go to Step 2

16

With the scan tool, observe the stored information, capture info and DTC info.

Does the scan tool display any DTCs that you have not diagnosed?

--

Go to Diagnostic Trouble Code (DTC) List in Engine Controls - 2.2L (L61)

System OK