GM Service Manual Online
For 1990-2009 cars only
Figure 1:

Forward Lamp Harness (L61)


Object Number: 1338710  Size: MF
(1)Marker Lamp - RF (2 GY)
(2)Park/Turn Signal Lamp - RF (3 GY)
(3)Headlamp - Right Low Beam (2 BK)
(4)Headlamp - Right High Beam (2 BK)
(5)Headlamp - Left High Beam (2 BK)
(6)Headlamp - Left Low Beam (2 BK)
(7)Fuse Block - Underhood C1
(8)C106
(9)S111
(10)Park/Turn Signal Lamp - LF (3 GY)
(11)Marker Lamp - LF (2 GY)
(12)Windshield Washer Fluid Pump (2 BK)
(13)Horn (2 GY)
(14)Cooling Fan Resistor (2 GY)
(15)Splice Pack SP301, G101
(16)Daytime Running Lamp (DRL) Resistor (2 BK)
(17)Fog Lamp - Left (2 BK) (w/T96)
(18)Cooling Fan (3 TN)
(19)Ambient Air Temperature Sensor (2 L-GN) (w/HAA)
(20)Fog Lamp - Right (2 BK) (w/T96)
Figure 2:

Forward Lamp Harness (L66)


Object Number: 1338706  Size: MF
(1)Headlamp - Left Low Beam (2 BK)
(2)Park/Turn Signal Lamp - LF (3 GY)
(3)Fuse Block - Underhood C1
(4)C106
(5)Marker Lamp - LF (2 GY)
(6)Horn (2 GY)
(7)Splice Pack SP301, G101
(8)Daytime Running Lamp (DRL) Resistor (2 BK)
(9)Fog Lamp - Left (2 BK)
(10)Cooling Fan Relay 3 (5 BK)
(11)Cooling Fan - Left (3 TN)
(12)Headlamp - Left High Beam (2 BK)
(13)Ambient Air Temperature Sensor (2 L-GN)
(14)Cooling Fan - Right (3 TN)
(15)Fog Lamp - Right (2 BK)
(16)Headlamp - Right High Beam (2 BK)
(17)Headlamp - Right Low Beam (2 BK)
(18)Marker Lamp - RF (2 GY)
(19)Park/Turn Signal Lamp - RF (3 GY)
Figure 3:

I/P Harness Routing


Object Number: 1345232  Size: MF
(1)Inflatable Restraint Steering Wheel Module Coil C3
(2)Instrument Panel Cluster (IPC)
(3)I/P Fuse Block C2,C3
(4)G203
(5)C202 - HVAC Harness to the I/P Harness Connector
(6)C304 - Shifter Assembly Harness to the I/P Harness
(7)C203 - I/P Harness to the Inflatable Restraint I/P Module Jumper Harness Connector
(8)S205
(9)Splice Pack SP201, G201
(10)C311 - Body Harness to the I/P Harness Connector
(11)C308 - SDM Harness to the SIS Harness Connector (ASF)
(12)S202, C307 - Roof Rail Module Harness to the SDM Harness Connector (ASF)
(13)C303 - Headliner Harness to the I/P Harness Connector (UE1)
(14)C201 - Auxiliary Outlet Harness to the I/P Harness Connector
(15)C204 - I/P Harness to the Digital Radio Harness Connector (U2K)
(16)S203
(17)C200 - I/P Harness to the Body Harness Connector
(18)Data Link Connector (DLC)
(19)Splice Pack SP203
(20)Inflatable Restraint Steering Wheel Module Coil C5
Figure 4:

Headliner Harness Routing


Object Number: 1344966  Size: MF
(1)Inside Rearview Mirror (ISRM)
(2)Courtesy/Map Lamps
(3)Sunroof Switch
(4)Cellular Telephone Microphone
(5)Dome Lamp - Front
(6)Dome Lamp - Rear
(7)S302
(8)S303
(9)C302 - Sunroof Harness to Headliner Harness Connector
(10)S301
(11)C300 - Body Harness to Headliner Harness Connector
(12)C303 - Headliner Harness to I/P Harness Connector
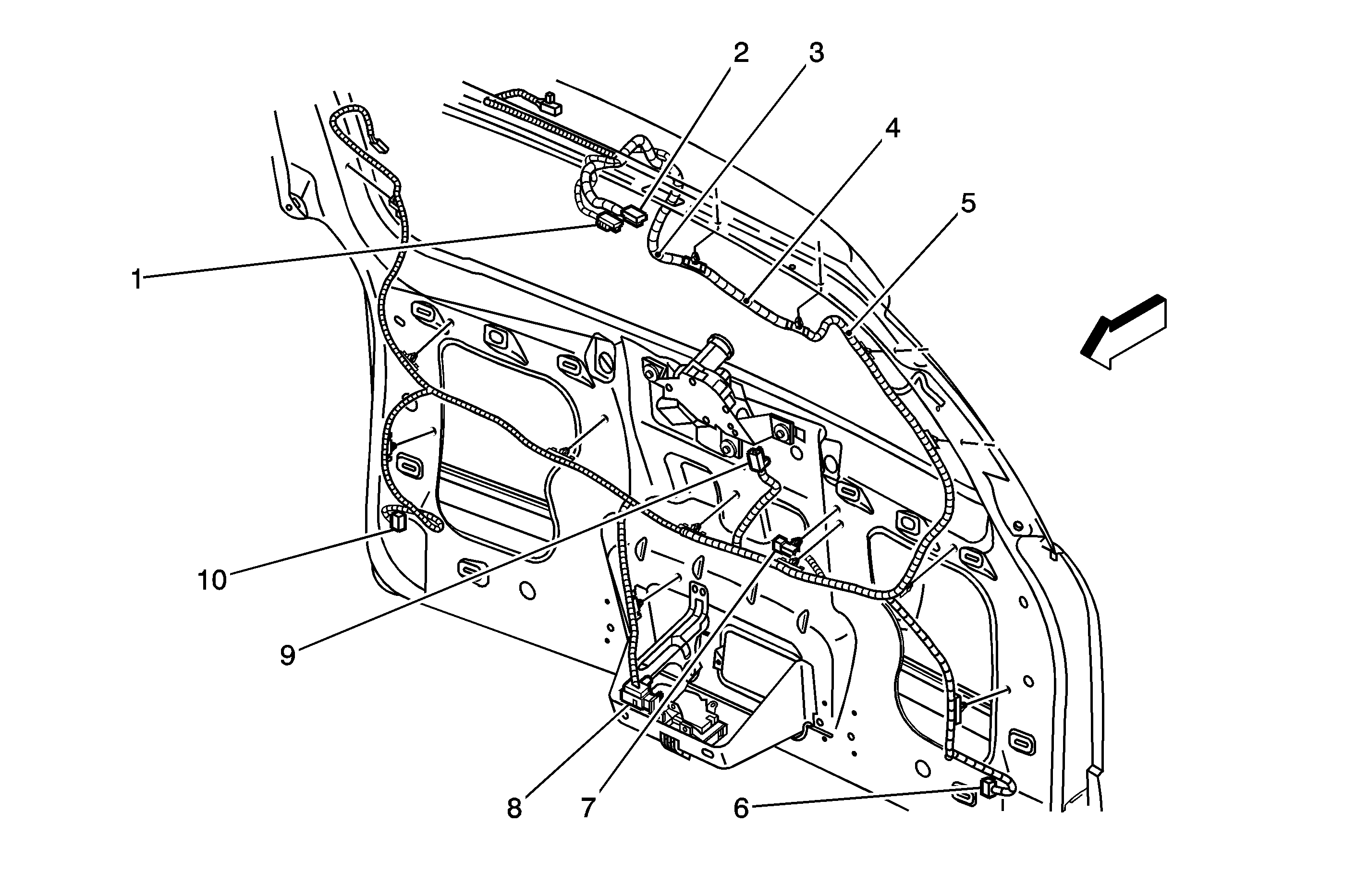
Figure 5:

Liftgate Harness


Object Number: 1338703  Size: MF
(1)Body Harness to the Liftgate Harness Connector C403
(2)Body Harness to the Liftgate Harness Connector C402
(3)S402
(4)S400
(5)S407
(6)Liftgate Lamp - Left
(7)License Lamp Harness to the Liftgate Harness Connector C405
(8)Liftgate Lock Actuator/Ajar Switch
(9)Wiper Motor - Rear
(10)Liftgate Lamp - Right