GM Service Manual Online
For 1990-2009 cars only
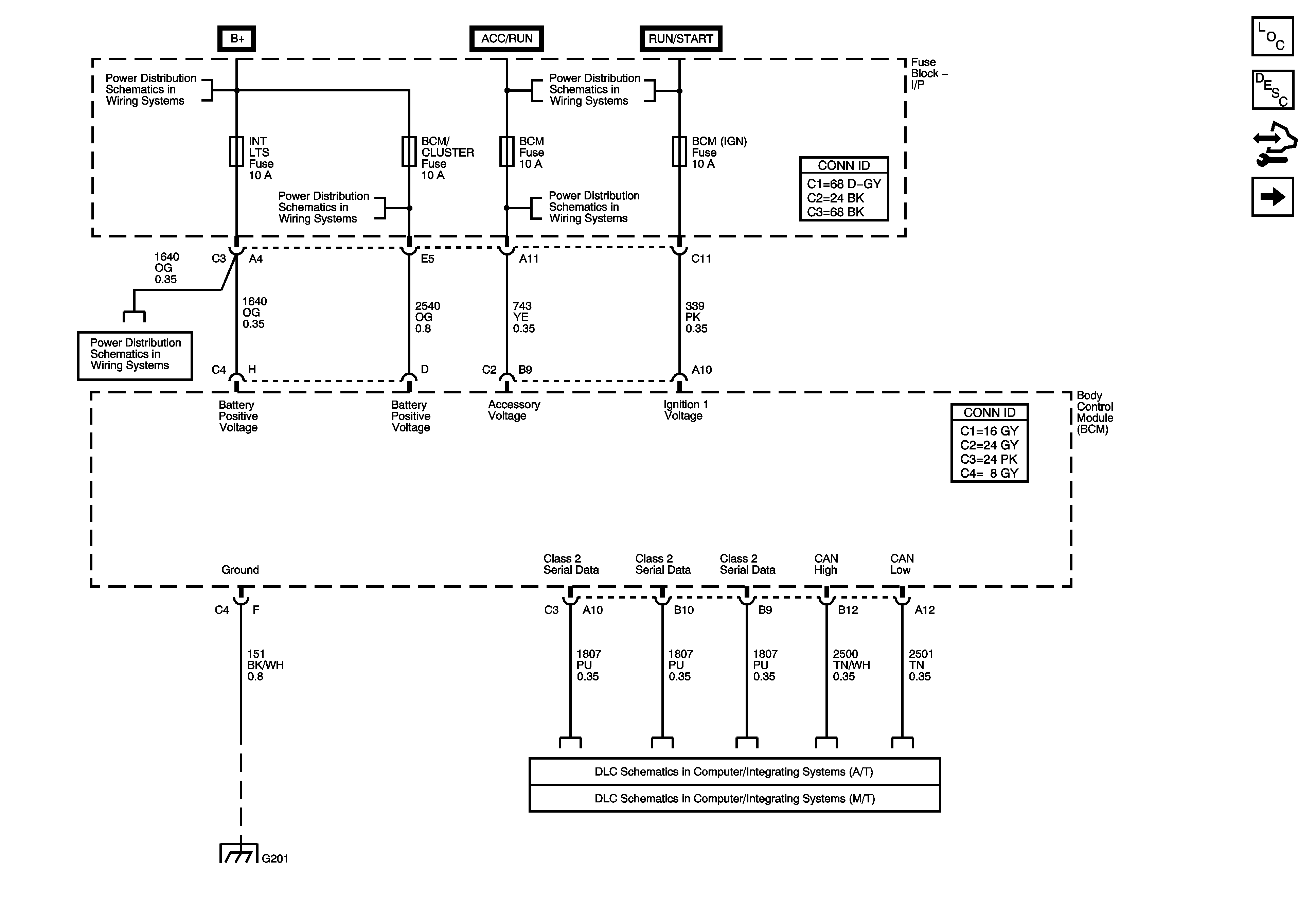
Figure 1:

Power, Ground, and Communication


Object Number: 1501765  Size: FS
Figure 2:

Lighting and Wiper System References


Object Number: 1501766  Size: FS
Figure 3:

Controlled/Monitored Subsystem References


Object Number: 1501767  Size: FS