GM Service Manual Online
For 1990-2009 cars only

Object Number: 1350436  Size: MF
Engine Controls Component Views
Engine Controls Schematics
Engine Controls Schematic Icons

Circuit Description

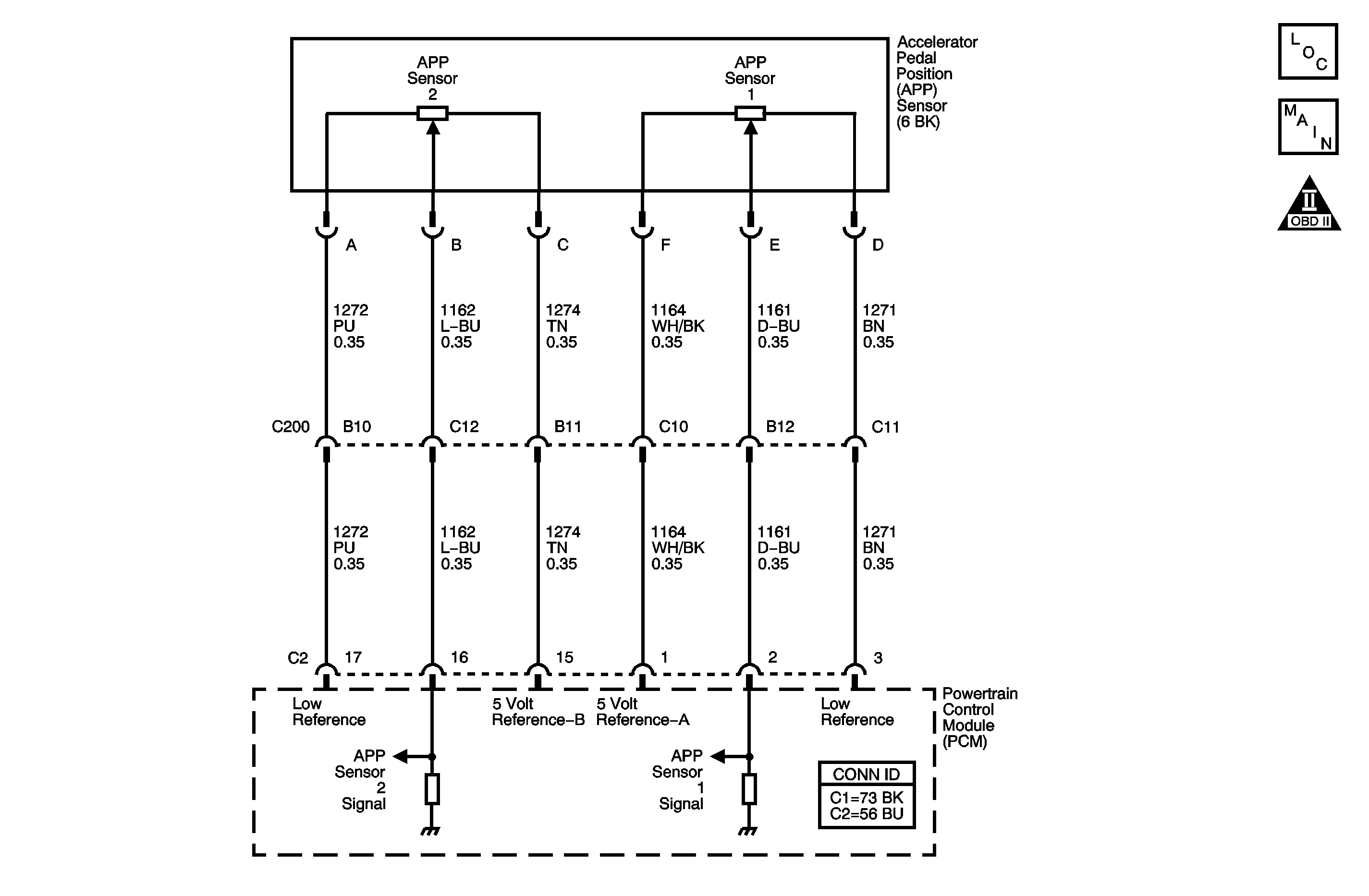
The accelerator pedal assembly contains 2 accelerator pedal position (APP) sensors. The APP sensors are mounted in the pedal assembly and are not serviceable. The APP sensors provide a signal voltage that changes relative to the position of the accelerator pedal. The powertrain control module (PCM) supplies a separate 5-volt reference and low reference circuit for each of the APP sensors.

The APP sensor 1 signal voltage increases as the pedal is depressed, from approximately 1 volt at rest to above 4 volts when fully depressed. The APP sensor 2 signal voltage increases as the pedal is depressed, from approximately 0.5 volt at rest to more than 2 volts with the accelerator pedal fully depressed.

If the PCM detects that the APP sensor 1 signal voltage is too low, this DTC sets.

DTC Descriptor

This diagnostic procedure supports the following DTC:

DTC P2122 Accelerator Pedal Position (APP) Sensor 1 Circuit Low Voltage

Conditions for Running the DTC

    • The ignition is ON.
    • DTC P2122 runs continuously.

Conditions for Setting the DTC

The APP sensor 1 voltage is less than 0.2 volts for less than 1 second.

Action Taken When the DTC Sets

    • The control module illuminates the malfunction indicator lamp (MIL) when the diagnostic runs and fails.
    • The control module records the operating conditions at the time the diagnostic fails. The control module stores this information in the Freeze Frame/Failure Records.

Conditions for Clearing the MIL/DTC

    • The control module turns OFF the malfunction indicator lamp (MIL) after 3 consecutive ignition cycles that the diagnostic runs and does not fail.
    • A current DTC, Last Test Failed, clears when the diagnostic runs and passes.
    • A history DTC clears after 40 consecutive warm-up cycles, if no failures are reported by this or any other emission related diagnostic.
    • Clear the MIL and the DTC with a scan tool.

Test Description

The numbers below refer to the step numbers on the diagnostic table.

  1. This step tests the signal and the 5-volt reference circuits.

  2. After replacing the PCM, a new minimum throttle position and idle speed must be established.

Step

Action

Values

Yes

No

Connector End View Reference: Powertrain Control Module Connector End Views or Engine Controls Connector End Views

1

Did you perform the Diagnostic System Check - Vehicle?

--

Go to Step 2

Go to Diagnostic System Check - Vehicle

2

Is DTC P0641 also set?

--

Go to DTC P0641

Go to Step 3

3

  1. Turn ON the ignition, with the engine OFF.
  2. Observe the APP Sensor 1 parameter with a scan tool.

Is the APP sensor 1 parameter less than the specified value?

0.15 V

Go to Step 5

Go to Step 4

4

  1. Observe the Freeze Frame/Failure Records data for this DTC.
  2. Turn OFF the ignition for 30 seconds.
  3. Operate the vehicle within the Conditions for Running the DTC. You may also operate the vehicle within the conditions that you observed from the Freeze Frame/Failure Records.

Did the DTC fail this ignition?

--

Go to Step 5

Go to Intermittent Conditions

5

  1. Connect a 3-amp fused jumper wire between the 5-volt reference circuit of the accelerator pedal position (APP) sensor 1 and the sensor signal circuit.
  2. Observe the APP sensor 1 parameter on the scan tool.

Is the APP sensor 1 voltage within the specified range?

4.8-5.2 V

Go to Step 9

Go to Step 6

6

Connect a DMM between the 5-volt reference circuit of the APP sensor 1 and a good ground.

Is the measured voltage within the specified range?

4.8-5.2 V

Go to Step 7

Go to Step 8

7

Test the APP sensor 1 signal circuit for the following conditions:

    • An open
    • A short to ground

Refer to Circuit Testing and Wiring Repairs .

Did you find and correct the condition?

--

Go to Step 13

Go to Step 10

8

  1. Test the 5-volt reference circuit of the APP sensor 1 for an open circuit.
  2. Refer to Circuit Testing and Wiring Repairs .

Did you find and correct the condition?

--

Go to Step 13

Go to Step 10

9

Test for an intermittent and for a poor connection at the APP sensor 1. Refer to Testing for Intermittent Conditions and Poor Connections and Connector Repairs .

Did you find and correct the condition?

--

Go to Step 13

Go to Step 11

10

Test for an intermittent and for a poor connection at the powertrain control module (PCM). Refer to Testing for Intermittent Conditions and Poor Connections and Connector Repairs .

Did you find and correct the condition?

--

Go to Step 13

Go to Step 12

11

Replace the APP sensor 1. Refer to Accelerator Pedal Position Sensor Replacement .

Did you complete the replacement?

--

Go to Step 13

--

12

  1. Replace the PCM. Refer to Control Module References for replacement, setup, and programming.
  2. Perform the idle learn procedure. Refer to Idle Learn .

Did you complete the replacement?

--

Go to Step 13

--

13

  1. Clear the DTCs with a scan tool.
  2. Turn OFF the ignition for 30 seconds.
  3. Start the engine.
  4. Operate the vehicle within the Conditions for Running the DTC. You may also operate the vehicle within the conditions that you observed from the Freeze Frame/Failure Records.

Did the DTC fail this ignition?

--

Go to Step 2

Go to Step 14

14

Observe the Capture Info with a scan tool.

Are there any DTCs that have not been diagnosed?

--

Go to Diagnostic Trouble Code (DTC) List - Vehicle

System OK