GM Service Manual Online
For 1990-2009 cars only

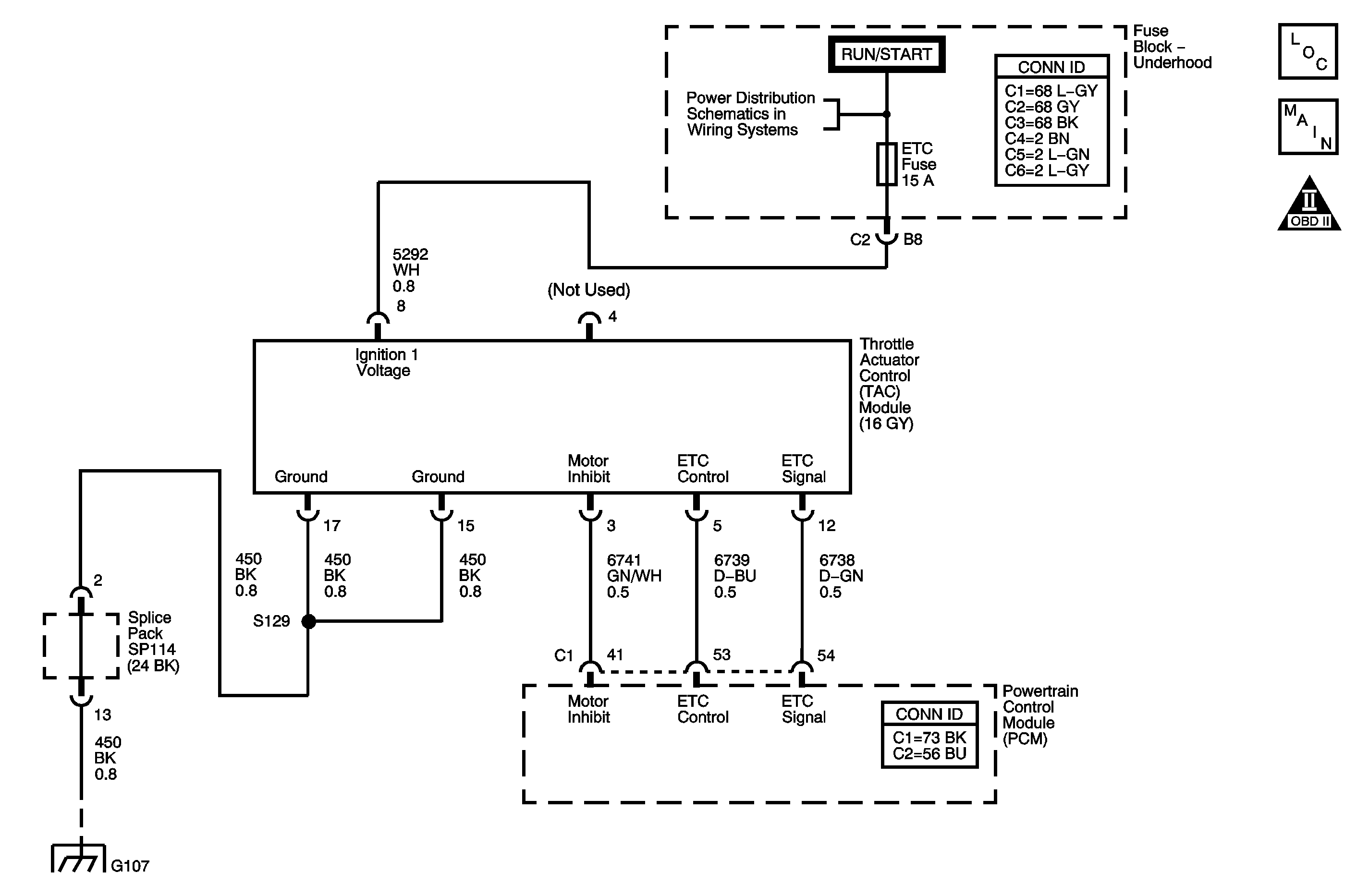
Object Number: 1350434  Size: MF
Engine Controls Component Views
Engine Controls Schematics
Engine Controls Schematic Icons

Circuit Description

The DTC P2554 Throttle Actuator Control (TAC) Inhibit Circuit Low Voltage diagnostic detects a fault in the TAC motor control circuit. The powertrain control module (PCM) receives accelerator pedal position (APP) sensor information and calculates the desired throttle position. The PCM sends this desired throttle position or target value to the TAC module. The TAC module achieves the desired throttle position by commanding the throttle control motor to position the throttle valve at the target value. The TAC module then compares the throttle position (TP) sensor 1 value to the target value. If necessary, the throttle control motor is moved slightly in order to obtain the exact target value position. If the TAC motor control circuit voltage is too low, DTC P2554 sets. The TAC motor and circuitry are integral parts of the TAC module and are not serviced separately. The TAC module is not serviceable and must be replaced with the throttle body assembly. For additional information on the operation of the TAC system, refer to Throttle Actuator Control (TAC) System Description .

DTC Descriptor

This diagnostic procedure supports the following DTC:

DTC P2554 Throttle Actuator Control (TAC) Inhibit Circuit Low Voltage

Conditions for Running the DTC

    • DTC P0122, P0123, P0222, P0223, P0641, P0651, P2100, P2101, P2108, P2122, P2123, P2127, P2128, P2138, P2176, and U0107 are not set.
    • The ignition is ON.
    • DTC P2554 runs continuously once the above conditions are met.

Conditions for Setting the DTC

    • The control circuit of the TAC motor is less than 0.48 volts when the motor is active.
    • The above conditions is present for at least 160 milliseconds.

Action Taken When the DTC Sets

    • The PCM illuminates the malfunction indicator lamp (MIL).
    • The PCM records the operating conditions at the time the diagnostic fails. This information will be stored in the Freeze Frame buffer.

Conditions for Clearing the MIL/DTC

    • The MIL turns OFF after 3 consecutively passing trips without a fault present.
    • A history DTC clears after 40 consecutive warm-up cycles without a fault.
    • Perform the scan tool Clear DTC Information function.

Test Description

The numbers below refer to the step numbers on the diagnostic table.

  1. The Diagnostic System Check - Vehicle prompts the technician to complete some basic checks and store the Freeze Frame data on the scan tool, if applicable. This creates an electronic copy of the data taken when the fault occurred. The information is then stored in the scan tool for later reference.

  2. The normal voltage reading is approximately 0.67 volts. If the conditions for a DTC P2554 are present, the circuit voltage would default to 0 volts.

  3. This step checks for an open in the TAC module electrical grounds. The TAC module can not operate correctly if there are faulty electrical grounds.

  4. After replacing the TAC module, a new minimum throttle position and idle speed must also be established.

Step

Action

Value(s)

Yes

No

Connector End View Reference: Powertrain Control Module Connector End Views or Engine Controls Connector End Views

1

Did you perform the Diagnostic System Check - Vehicle?

--

Go to Step 2

Go to Diagnostic System Check - Vehicle

2

  1. Turn ON the ignition, leaving the engine OFF.
  2. Use the scan tool in order to clear the DTCs.
  3. Start and run the engine for 1 minute.

Is a DTC P2554 set?

--

Go to Step 4

Go to Step 3

3

  1. Turn ON the ignition, with the engine OFF.
  2. Observe the voltage on the TAC Module Power Inhibit Feedback parameter of the scan tool.

Is the voltage within the specified range?

0.63-0.70 V

Go to Intermittent Conditions

Go to Step 4

4

  1. Inspect for a short to ground or an open in the ETC motor inhibit circuit.
  2. Repair as necessary. Refer to Wiring Repairs .

Did you find and correct the condition?

--

Go to Step 7

Go to Step 5

5

  1. Inspect for an intermittent or poor electrical connection at throttle actuator control (TAC) module. Refer to Testing for Intermittent Conditions and Poor Connections and Connector Repairs .
  2. Repair as necessary. Refer to Wiring Repairs .

Did you find and correct the condition?

--

Go to Step 7

Go to Step 6

6

  1. Replace the TAC module. Refer to Throttle Body Assembly Replacement .
  2. Perform the idle learn procedure. Refer to Idle Learn .

Did you complete the replacement?

--

Go to Step 7

--

7

  1. Use the scan tool in order to clear the DTCs.
  2. Start the engine.
  3. Operate the vehicle within the Freeze Frame conditions as specified or until the DTC P2554 diagnostic test has run. Refer to the Test Description.

Does the DTC run and pass?

--

Go to Step 8

Go to Step 2

8

With a scan tool, observe the stored information, Capture Info.

Does the scan tool display any DTCs that you have not diagnosed?

--

Go to Diagnostic Trouble Code (DTC) List - Vehicle

System OK