GM Service Manual Online
For 1990-2009 cars only
Table 1: Rocker Arm Actuator System Operation

Object Number: 1350450  Size: SF
Engine Controls Component Views
Engine Controls Schematics
Engine Controls Schematic Icons

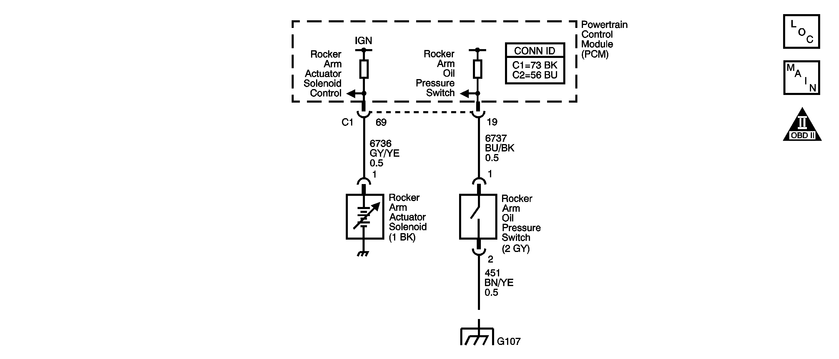
Circuit Description

The DTC P2647 Intake Rocker Arm Actuator System Stuck On diagnostic monitors the operation of the rocker arm oil control solenoid. The rocker arm oil control solenoid enables the powertrain control module (PCM) to operate the high speed cam system. The high speed cam system significantly increases valve lift at engine speeds above 4,400 RPM. A second camshaft lobe with a high lift profile is cast into each camshaft, alongside the low/medium speed lobes. Unique rocker arms follow both the high speed and low/medium speed cam lobes. At engine speeds below 4,400 RPM, the low/medium speed cam lobes operate the rocker arms. When the rocker arm oil control solenoid is turned ON between 4,400-6,500 RPM, the rocker arms are operated by the high speed cam lobes. The rocker arm oil control solenoid is energized by a 12-volt signal from the PCM.

The rocker arm oil pressure switch detects oil pressure when oil is flowing through the rocker arm oil supply system. When the rocker arm oil control solenoid is ON, the oil pressure switch opens and the signal circuit to the PCM remains high. A DTC P2647 sets when the signal circuit of the rocker arm oil pressure switch is high when engine speed is less than 4,200 RPM. For additional information on the operation of the rocker arm oil control system refer to Rocker Arm Oil Control System Description .

Rocker Arm Actuator System Operation

Rocker Arm Oil Control Solenoid

Oil Pressure/Flow

Rocker Arm Oil Pressure Switch

On

High

Open

Off

Low

Closed

DTC Descriptor

This diagnostic procedure supports the following DTC:

DTC P2647 Intake Rocker Arm Actuator System Stuck On

Conditions for Running the DTC

    • Battery voltage is at least 10.5 volts
    • The engine coolant temperature (ECT) is at least 10°C (50°F).
    • Engine speed is less than 4,200 RPM.
    • The transmission is not in PARK or NEUTRAL.
    • DTC P2647 runs every time the enable criteria is met and the rocker arm oil control system is active.

Conditions for Setting the DTC

    • The signal circuit of the rocker arm oil pressure switch stays high.
    • The above condition is present for at least 5 seconds.

Action Taken When the DTC Sets

    • The PCM illuminates the malfunction indicator lamp (MIL).
    • The PCM stores the conditions that were present when the DTC set as Freeze Frame data.

Conditions for Clearing the MIL/DTC

    • The PCM turns OFF the MIL on the third consecutive trip cycle during which the diagnostic has been run and the fault condition is no longer present.
    • A DTC clears after 40 consecutive warm-up cycles have occurred without a fault.
    • A DTC can be cleared by using the scan tool Clear DTC Information function.

Test Description

The numbers below refer to the step numbers on the diagnostic table.

  1. The Diagnostic System Check - Vehicle prompts the technician to complete some basic checks and store the Freeze Frame data on the scan tool, if applicable. This creates an electronic copy of the data taken when the fault occurred. The information is then stored in the scan tool for later reference.

  2. This step checks whether the condition that caused the DTC to set still exists.

  3. The rocker arm oil pressure switch is closed when oil pressure is less than 49 kPa (7 psi).

  4. This step tests for a stuck on rocker arm oil control solenoid.

  5. After replacing the PCM, a new minimum throttle position and idle speed must also be established.

Step

Action

Values

Yes

No

Connector End View Reference: Powertrain Control Module Connector End Views or Engine Controls Connector End Views

1

Did you perform the Diagnostic System Check - Vehicle?

--

Go to Step 2

Go to Diagnostic System Check - Vehicle

2

  1. Install a scan tool.
  2. Start the engine.
  3. Observe the Intake Rocker Arm Actuator Oil Pressure Switch parameter on the scan tool.

Is the oil pressure switch indicating ON?

--

Go to Step 4

Go to Step 3

3

  1. Use the scan tool in order to clear the DTCs.
  2. Turn OFF the ignition for 30 seconds.
  3. Start the engine.
  4. Operate the vehicle within the Freeze Frame conditions as specified or within the Conditions for Running the DTC.

Did a DTC P2647 set?

--

Go to Step 4

Go to Intermittent Conditions

4

  1. Turn OFF the ignition.
  2. Disconnect the electrical connector of the rocker arm oil pressure switch.
  3. Measure the resistance of the rocker arm oil pressure switch.

Is the resistance less than the specified value?

3 ohms

Go to Step 5

Go to Step 12

5

  1. Connect a DMM to the signal circuit of the oil pressure switch and a good ground.
  2. Turn ON the ignition, with the engine OFF.

Is the signal circuit voltage more than the specified value?

6.9 V

Go to Step 6

Go to Step 7

6

  1. Test for an open or high resistance in the ground circuit of the rocker arm oil pressure switch.
  2. Inspect for poor electrical connections at the rocker arm oil pressure switch and G107. Refer to Testing for Intermittent Conditions and Poor Connections .
  3. Repair as necessary. Refer to Wiring Repairs .

Did you find and correct a condition?

--

Go to Step 15

Go to Step 8

7

  1. Test for an open in the input circuit of the rocker arm oil pressure switch.
  2. Repair as necessary. Refer to Wiring Repairs .

Did you find and correct a condition?

--

Go to Step 15

Go to Step 13

8

  1. Remove the oil pressure switch.
  2. Install the EN 46332 Oil Pressure Gage Adapter to the engine.
  3. Install the oil pressure gage from the SA9127E Bar Gage Set to the adapter.
  4. Install the oil pressure switch to the adapter.
  5. Start the engine.

Is the oil pressure indicated on the oil pressure gage more than the specified value?

49 kPa (7 psi)

Go to Step 9

Go to Step 11

9

  1. Inspect for any of the following conditions:
  2. • A stuck or binding spool valve
    • A damaged and leaking spool valve
    • A broken spool valve spring
  3. Repair any condition as necessary.

Did you find and correct a condition?

--

Go to Step 15

Go to Step 10

10

Replace the rocker arm oil control solenoid valve. Refer to Rocker Arm Oil Control Solenoid Valve Replacement .

Did you complete the replacement?

--

Go to Step 15

--

11

Inspect for poor electrical connections at the rocker arm oil pressure switch. Refer to Testing for Intermittent Conditions and Poor Connections .

Did you find and correct a condition?

--

Go to Step 15

Go to Step 13

12

Replace the rocker arm oil pressure switch. Refer to Rocker Arm Oil Pressure Switch Replacement .

Did you complete the replacement?

--

Go to Step 15

--

13

Inspect for poor electrical connections at the powertrain control module (PCM). Refer to Testing for Intermittent Conditions and Poor Connections .

Did you find and correct a condition?

--

Go to Step 15

Go to Step 14

14

  1. Replace the PCM. Refer to Control Module References for replacement, setup, and programming.
  2. Perform the idle learn procedure. Refer to Idle Learn .

Did you complete the replacement?

--

Go to Step 15

--

15

  1. Use the scan tool in order to clear the DTCs.
  2. Turn OFF the ignition for 30 seconds.
  3. Start the engine.
  4. Operate the vehicle within the Conditions for Running the DTC as specified in the supporting text.

Does the DTC run and pass?

--

Go to Step 16

Go to Step 2

16

With a scan tool, observe the stored information, Capture Info.

Does the scan tool display any DTCs that you have not diagnosed?

--

Go to Diagnostic Trouble Code (DTC) List - Vehicle

System OK