GM Service Manual Online
For 1990-2009 cars only

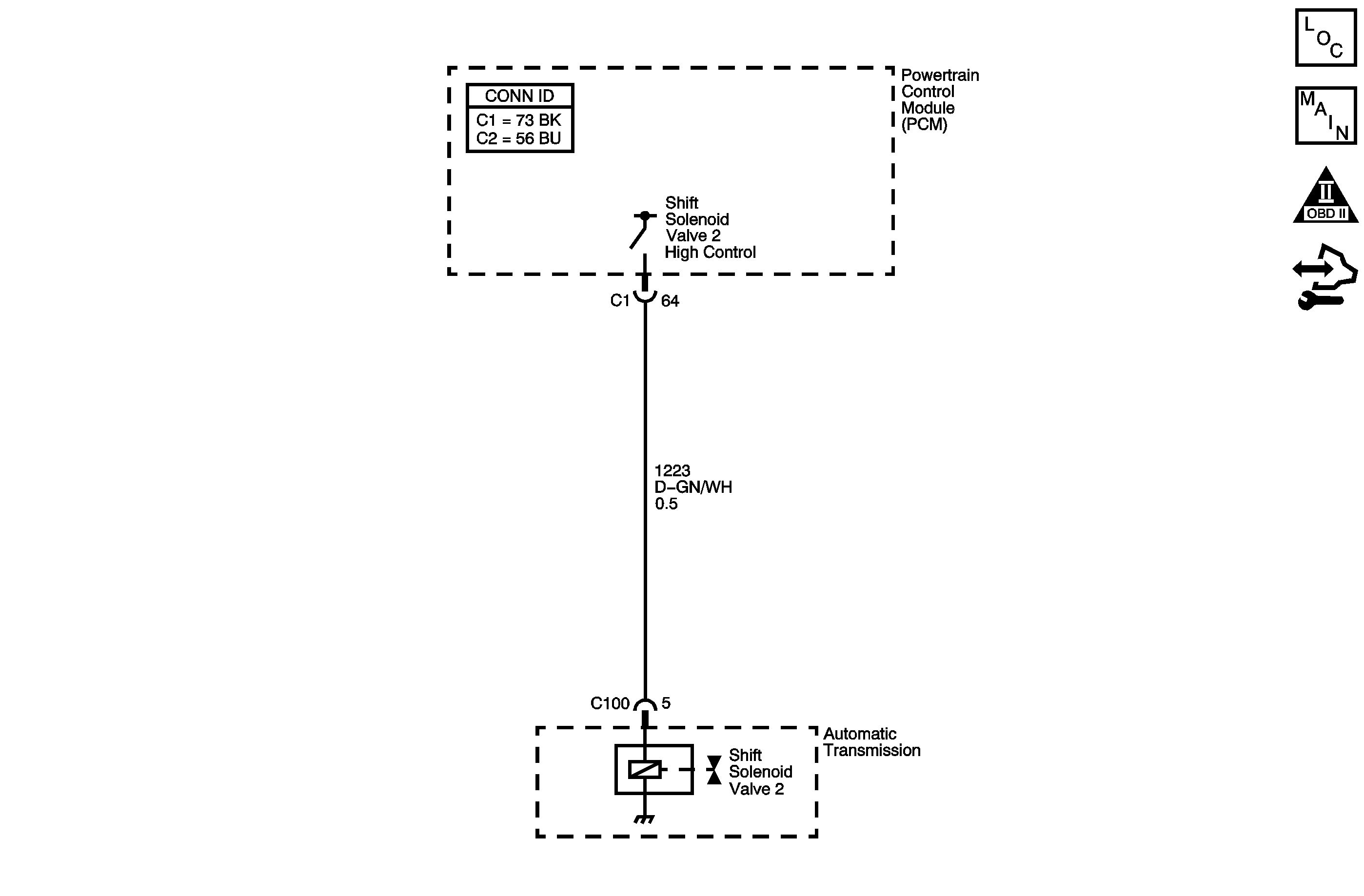
Object Number: 1466948  Size: MF
Master Electrical Component List
Automatic Transmission Controls Schematics
OBD II Symbol Description Notice
Control Module References

Circuit Description

The shift solenoid (SS) valve 2 is a normally open valve that mounts into the transmission case. The SS valve 2 controls the modulator pressure to the shift valve 2 as commanded by the powertrain control module (PCM). When the PCM energizes the SS valve 2, it closes the passage to the shift valve 2, and the modulator pressure is exhausted. When the PCM de-energizes the SS valve B, it allows the modulator pressure to apply to the shift valve 2. The PCM has a diagnosis circuit inside, to monitor the voltage level to the SS valve 2, and receives a return signal.

When the PCM detects an open or short to voltage on the SS valve 2 high control circuit, DTC P0977 sets. DTC P0977 is a type A DTC.

Refer to Shift Solenoid Valve State and Gear Ratio .

DTC Descriptor

This diagnostic procedure supports the following DTC:

DTC P0977 Shift Solenoid (SS) 2 Control Circuit High Voltage

Conditions for Running the DTC

    • No Clutch PC Solenoid Valve 1 DTCs P0746 or P0747.
    • No SS Valve Performance DTC P0751.
    • No Clutch PC Solenoid Valve 2 DTC P0777.
    • No Clutch PC Solenoid Valve 1 DTCs P0962 or P0963.
    • No Clutch PC Solenoid Valve 2 DTCs P0966 or P0967.
    • No SS Valve 1 DTCs P0973 or P0974.
    • No SS Valve 2 DTC P0976.
    • No SS Valve 3 DTCs P0979 or P0980.
    • No TCC PC Solenoid Valve DTCs P2763 or P2764.
    • No TCC Enable Solenoid Valve DTCs P2769 or P2770.
    • System voltage is greater than 11 volts.
    • The engine is running.
    • The vehicle is in D range for 1 second or greater.

Conditions for Setting the DTC

The PCM detects an open or short to voltage on the SS valve 2 high control circuit for 1 second or greater.

Action Taken When the DTC Sets

    • The PCM illuminates the malfunction indicator lamp (MIL).
    • If the SS valve 2 circuit is open, the PCM limits the transmission shift to 4th gear.
    • If the SS valve 2 circuit is shorted to voltage, the PCM limits the transmission shift to 3rd gear.
    • The PCM records the operating conditions when the Conditions for Setting the DTC are met. The PCM stores this information as Freeze Frame and Failure Records.
    • The PCM stores DTC P0977 in PCM history.

Conditions for Clearing the MIL/DTC

    • The PCM turns OFF the MIL during the third consecutive trip in which the diagnostic test runs and passes.
    • A scan tool can clear the MIL/DTC.
    • The PCM clears the DTC from PCM history if the vehicle completes 40 warm-up cycles without an emission related diagnostic fault occurring.

Diagnostic Aids

    • Inspect the connectors at the PCM, the SS valve 2, and all other circuit connecting points for an intermittent condition. Refer to Testing for Intermittent Conditions and Poor Connections in Wiring Systems.
    • Inspect for a disconnected SS valve 2 connector.
    • Inspect for a shorted SS valve 2 circuit.
    • Inspect for a faulty SS valve 2.
    • Inspect for a PCM Internal fault.

Test Description

The numbers below refer to the step numbers on the diagnostic table.

  1. This step verifies that the PCM is providing voltage to the shift solenoid valve 2.

  2. This step tests for an open or short to another circuit within the transmission.

  3. This step tests for short voltage to the shift solenoid valve 2.

  4. This step tests for an open in the shift solenoid valve 2 high control circuit.

Step

Action

Yes

No

1

Did you perform the Diagnostic System Check - Vehicle?

Go to Step 2

Go to Diagnostic System Check - Vehicle in Vehicle DTC Information

2

  1. Install a scan tool.
  2. Turn ON the ignition with the engine OFF.
  3. Important: Before clearing the DTCs, use the scan tool in order to record the Freeze Frame and Failure Records for reference. The Clear Info function will erase the data.

  4. Record the DTC Freeze Frame and Failure Records.
  5. Clear the DTCs.
  6. Drive the vehicle in 4th gear D range for 10 seconds.
  7. With a scan tool observe the Shift Sol. 2 CKT Status parameter.

Does the Shift Sol. 2 CKT Status parameter display OK?

Go to Diagnostic Aids

Go to Step 3

3

  1. Turn OFF the ignition.
  2. Disconnect the transmission inline 5-way connector.
  3. With a test lamp connected to a good ground, probe the shift solenoid valve 2 control circuit on the engine side of the inline 5-way connector.
  4. Turn ON the ignition, with the engine OFF.

Does the test lamp illuminate for 1 second?

Go to Step 4

Go to Step 5

4

Test the shift solenoid valve 2 high control circuit internal transmission harness for an open or short to another circuit. Refer to Testing for Continuity in Wiring Systems.

Did you find a condition?

Go to Step 10

Go to Step 8

5

Does the test lamp remain illuminated?

Go to Step 7

Go to Step 6

6

Test the shift solenoid valve 2 control circuit for an open. Refer to Testing for Continuity and Wiring Repairs in Wiring Systems.

Did you find and correct the condition?

Go to Step 13

Go to Step 9

7

Test the shift solenoid valve 2 high control circuit for a short to voltage. Refer to Testing for a Short to Voltage and Wiring Repairs in Wiring Systems.

Did you find and correct the condition?

Go to Step 13

Go to Step 9

8

Inspect for poor connections at the shift solenoid valve 2. Refer to Testing for Intermittent Conditions and Poor Connections and Connector Repairs in Wiring Systems.

Did you find and correct the condition?

Go to Step 13

Go to Step 11

9

Inspect for poor connections at the PCM harness connector. Refer to Testing for Intermittent Conditions and Poor Connections and Connector Repairs in Wiring Systems.

Did you find and correct the condition?

Go to Step 13

Go to Step 12

10

Replace the transmission internal solenoid harness. Refer to Transmission Wiring Extension Harness Replacement .

Did you complete the repair?

Go to Step 13

--

11

Replace the shift solenoid valve 2. Refer to Accumulator Valve Body Assembly Overhaul .

Did you complete the replacement?

Go to Step 13

--

12

Important: Always perform the PCM set up procedure.

  1. Replace the PCM. Refer to Control Module References in Computer/Integrating Systems for replacement, setup, and programming.
  2. Perform the PCM set up procedure.

Did you complete the replacement?

Go to Step 13

--

13

Perform the following procedure in order to verify the repair:

  1. Select DTC.
  2. Select Clear Info.
  3. Drive the vehicle in 4th gear D range for 10 seconds.
  4. Select Specific DTC.
  5. Enter DTC P0977.

Has the test run and passed?

Go to Step 14

Go to Step 2

14

With the scan tool, observe the stored information, capture info. and DTC info.

Does the scan tool display any DTCs that you have not diagnosed?

Go to Diagnostic Trouble Code (DTC) List - Vehicle in Vehicle DTC Information

System OK