GM Service Manual Online
For 1990-2009 cars only

Object Number: 1548159  Size: LF
Master Electrical Component List
Automatic Transmission Controls Schematics
OBD II Symbol Description Notice

Circuit Description

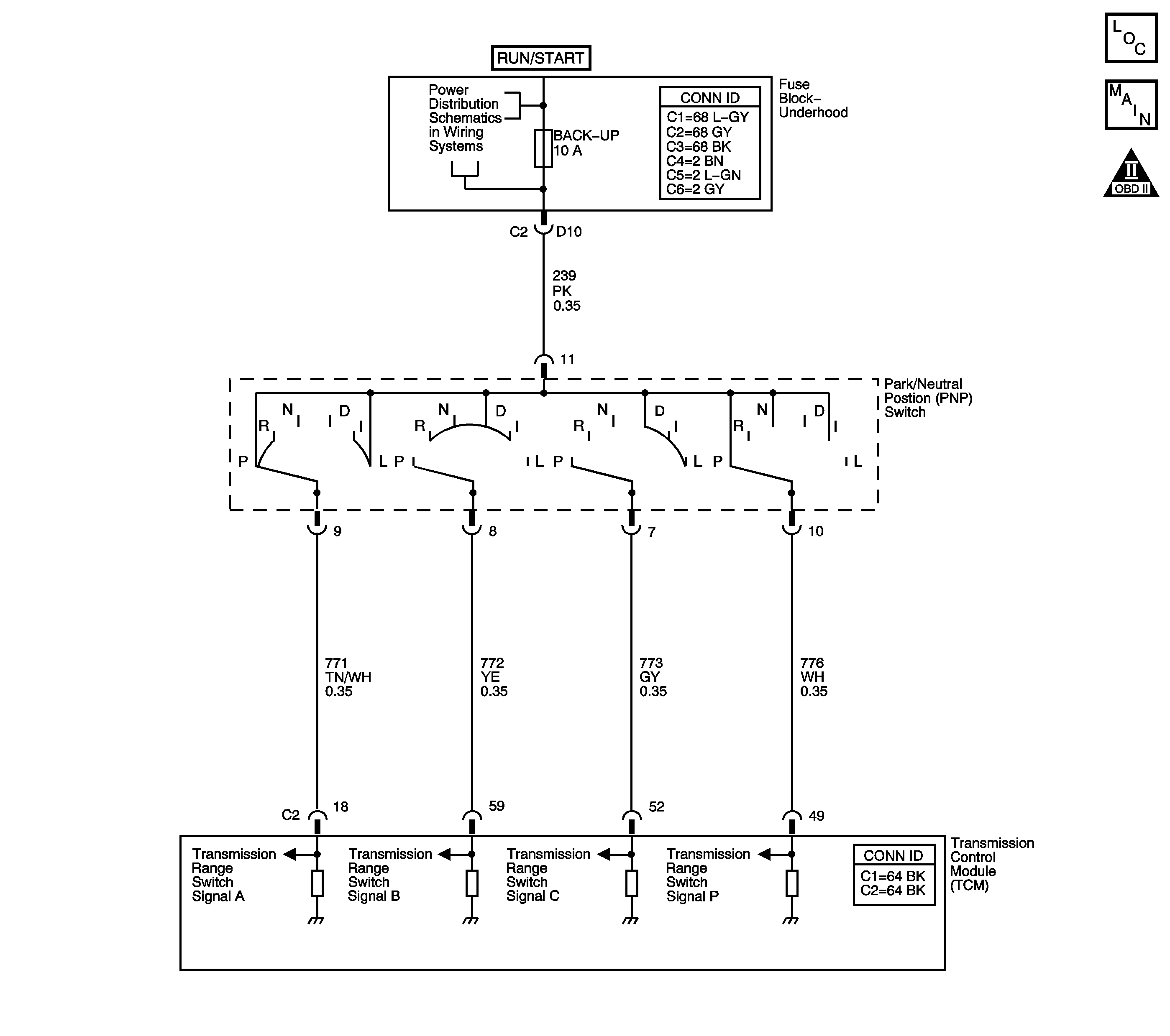
The transmission range (TR) switch is part of the park/neutral position and back-up lamp switch assembly and is mounted on the transmission manual shaft. The TR switch is a multi-signal switch. The fuse block - underhood supplies ignition voltage to the TR switch on four signal circuits, A, B, C, and P. Each gear selector lever position powers two or more of the signal circuits in a unique pattern. In order to determine the gear range selected by the driver, the TCM compares the voltage combination on the signal circuits to a TR switch combination table stored in memory. Refer to Transmission Range Switch Logic . When the TCM detects the combination of TR switch signals for a forward range and the vehicle is not moving moving, DTC P1758 sets. DTC P1758 is a type B DTC.

DTC Descriptor

This diagnostic procedure supports the following DTC:

DTC P1758 Transmission Range (TR) Switch Indicates Drive without Drive Ratio

Conditions for Running the DTC

    • No transmission range switch DTCs P0705, or P1756.
    • No ISS DTCs P0716, or P0717
    • No OSS DTCs P0722, or P0723.
    • No TCC system stuck ON DTC P0742.
    • No engine torque CAN DTC P1779.
    • No TCC enable solenoid valve DTCs P1888, or P1889.
    • The engine speed is greater than 500 RPM for 5 seconds.
    • The APP angle is less than 6 percent.
    • The transmission input shaft speed is 550 RPM or greater for 10 seconds.
    • The transmission output shaft speed is 150 RPM or less.
    • The speed ratio is 0.38-0.5.

Conditions for Setting the DTC

The combination of TR switch signals indicate a forward range while the vehicle is not moving for 10 seconds. Refer to Transmission Range Switch Logic .

Action Taken When the DTC Sets

    • The TCM requests the ECM to illuminate the malfunction indicator lamp (MIL) during the second consecutive trip in which the Conditions for Setting the DTC are met.
    • The TCM turns off power off to the torque converter clutch pressure control solenoid valve.
    • The TCM discontinues abuse torque management.
    • The TCM defaults the selected gear range to Drive.
    • The ECM records the operating conditions when the Conditions for Setting the DTC are met. The ECM stores this information as Freeze Frame and Failure Records.
    • The TCM records the operating conditions when the Conditions for Setting the DTC are met. The TCM stores this information as Failure Records.
    • The TCM stores DTC P1758 in TCM history during the second consecutive trip in which the Conditions for Setting the DTC are met.

Conditions for Clearing the MIL/DTC

    • The ECM turns OFF the MIL after the third consecutive drive trip in which the TCM does not send a MIL illumination request.
    • A scan tool can clear the MIL/DTC.
    • The TCM clears the DTC from TCM history if the vehicle completes 40 warm-up cycles without an emission-related diagnostic fault occurring.
    • The TCM cancels the DTC default actions when the ignition switch is OFF long enough in order to power down the TCM.

Test Description

The number below refers to the step number on the diagnostic table.

  1. Proper fluid level is important to the normal operation of the transmission.

Step

Action

Values

Yes

No

1

Did you perform the Diagnostic System Check - Vehicle?

--

Go to Step 2

Go to Diagnostic System Check - Vehicle in Vehicle DTC Information

2

  1. Visually inspect the transmission cooling system for fluid leaks.
  2. Repair any leaks as necessary. Refer to Fluid Leak Diagnosis .

Did you find and correct a condition?

--

Go to Step 8

Go to Step 3

3

Did you perform the Line Pressure Check Procedure?

--

Go to Step 4

Go to Line Pressure Check

4

  1. Install a scan tool.
  2. Turn ON the ignition, with the engine OFF.
  3. Important: 

       • Before clearing the DTC, use the scan tool in order to record the Failure Records. Using the Clear DTC Info function erases the Failure Records from the TCM.
       • Using the Clear DTC Info function erases stored DTCs in both the ECM and TCM.

  4. Record the DTC Failure Records.
  5. Clear the DTC.
  6. Apply the parking brake.
  7. Depress the brake pedal.
  8. Start the engine, shift to DRIVE and bring up engine speed.
  9. Idle the engine, shift to INTERMEDIATE and bring up engine speed.
  10. Idle the engine, shift to LOW and bring up engine speed.
  11. Turn the ignition OFF.

Did the vehicle attempt to move in all gear selections?

--

Go to Intermittent Conditions in Engine Controls - 2.2L (L61)

Go to Step 5

5

Did you check the control cable for proper adjustment?

--

Go to Step 6

Go to Shift Cable Adjustment

6

  1. Turn the ignition ON, with engine OFF.
  2. Using the scan tool, monitor the TR Sw. parameter.
  3. Shift from PARK to LOW, and check that each shifter position corresponds to the scan tool display.

Did the scan tool display the correct gear selections?

--

Go to Step 7

Go to DTC P0705

7

  1. Inspect for damaged manual shift shaft and parking system components. Refer to Manual Shift Shaft and Parking System Components Removal .
  2. Repair as necessary.

Did you complete the repair?

--

Go to Step 8

--

8

Perform the following procedure in order to verify the repair:

  1. Select DTC.
  2. Select Clear Info.
  3. Operate the vehicle within the Conditions for Running the DTC as specified in the supporting text.
  4. Select specific DTC.
  5. Enter DTC P1758.

Has the test run and passed?

--

Go to Step 9

Go to Step 2

9

With the scan tool, observe the stored information, capture info and DTC info.

Does the scan tool display any DTCs that you have not diagnosed?

--

Go to Diagnostic Trouble Code (DTC) List - Vehicle in Vehicle DTC Information

System OK