Connector Part Information
|
Pin | Wire Color | Circuit No. | Function |
|---|---|---|---|
A | L-GN/BK | 1137 | DRL/Ambient Light Sensor Signal |
B | YE/BK | 1138 | Low Reference |
Connector Part Information
|
Pin | Wire Color | Circuit No. | Function |
|---|---|---|---|
MAJ | L-GN | 24 | Backup Lamp Supply Voltage |
MIN | -- | -- | Not Used |
GND | BK | 750 | Ground |
Connector Part Information
|
Pin | Wire Color | Circuit No. | Function |
|---|---|---|---|
MAJ | L-GN | 24 | Backup Lamp Supply Voltage |
MIN | -- | -- | Not Used |
GND | BK | 850 | Ground |
Connector Part Information
|
Pin | Wire Color | Circuit No. | Function |
|---|---|---|---|
A | PK | 239 | Ignition 1 Voltage |
B | L-GN | 24 | Backup Lamp Supply Voltage |
Connector Part Information
|
Pin | Wire Color | Circuit No. | Function |
|---|---|---|---|
1 | L-BU | 20 | Stop Lamp Switch Signal |
2 | BK | 650 | Ground |
Connector Part Information
|
Pin | Wire Color | Circuit No. | Function |
|---|---|---|---|
A | OG | 1732 | Courtesy Lamps Supply Voltage |
B | BK | 750 | Ground |
C | WH | 156 | Courtesy Lamp Switch Signal |
Connector Part Information
|
Pin | Wire Color | Circuit No. | Function |
|---|---|---|---|
A | GY | 589 | DRL Relay |
B | BK | 150 | Ground |
Connector Part Information
|
Pin | Wire Color | Circuit No. | Function |
|---|---|---|---|
A | -- | -- | Not Used |
B | BN/WH | 230 | I/P Lamps Dimmer Control |
C | TN | 470 | Low Reference |
D-E | -- | -- | Not Used |
Connector Part Information
|
Pin | Wire Color | Circuit No. | Function |
|---|---|---|---|
A | WH | 156 | Courtesy Lamps Switch Signal |
B | GY | 157 | Courtesy Lamp Control |
C | BK | 750 | Ground |
D | OG | 1732 | Courtesy Lamps Supply Voltage |
Connector Part Information
|
Pin | Wire Color | Circuit No. | Function |
|---|---|---|---|
A | -- | -- | Not Used |
B | GY | 157 | Courtesy Lamp Control |
C | -- | -- | Not Used |
D | OG | 1732 | Courtesy Lamps Supply Voltage |
Connector Part Information
|
Pin | Wire Color | Circuit No. | Function |
|---|---|---|---|
A | GY/BK | 745 | Left Front Door Ajar Switch Signal |
B | BK/WH | 151 | Ground |
C | -- | -- | Not Used |
Connector Part Information
|
Pin | Wire Color | Circuit No. | Function |
|---|---|---|---|
A | BK/WH | 746 | Passenger Door Ajar Switch Signal |
B | BK | 650 | Ground |
C | -- | -- | Not Used |
Connector Part Information
|
Pin | Wire Color | Circuit No. | Function |
|---|---|---|---|
A | BK/WH | 746 | Passenger Door Ajar Switch Signal |
B | BK | 650 | Ground |
Connector Part Information
|
Pin | Wire Color | Circuit No. | Function |
|---|---|---|---|
A | BK/WH | 746 | Passenger Door Ajar Switch Signal |
B | BK | 650 | Ground |
Connector Part Information
|
Pin | Wire Color | Circuit No. | Function |
|---|---|---|---|
A | PU | 34 | Fog Lamp Supply Voltage |
B | BK | 150 | Ground |
Connector Part Information
|
Pin | Wire Color | Circuit No. | Function |
|---|---|---|---|
A | PU | 34 | Fog Lamp Supply Voltage |
B | BK | 150 | Ground |
Connector Part Information
|
Pin | Wire Color | Circuit No. | Function |
|---|---|---|---|
1 | YE | 317 | Fog Lamp Relay Coil Supply Voltage |
2 | OG | 192 | Front Fog Lamp Switch Signal |
3 | PK | 139 | Ignition 1 Voltage |
4 | -- | -- | Not Used |
5 | BK | 550 | Ground |
6 | GY | 8 | Instrument Panel Lamp Supply Voltage |
7 | -- | -- | Not Used |
Connector Part Information
|
Pin | Wire Color | Circuit No. | Function |
|---|---|---|---|
A | L-GN | 665 | Turn/Hazard Relay Control |
B | YE | 243 | Accessory Voltage |
C | OG | 1040 | Battery Positive Voltage |
D | PU | 16 | Turn Signal Flasher Signal |
E | L-BU | 14 | Left Turn Signal Lamps Supply Voltage |
F | D-BU | 15 | Right Turn Signal Lamps Supply Voltage |
G | -- | -- | Not Used |
H | GY | 8 | Instrument Panel Lamp Supply Voltage |
I | BK/WH | 151 | Ground |
J | -- | -- | Not Used |
Connector Part Information
|
Pin | Wire Color | Circuit No. | Function |
|---|---|---|---|
A | OG | 740 | Battery Positive Voltage |
B | PK | 1200 | Headlamp High Beam Signal |
Connector Part Information
|
Pin | Wire Color | Circuit No. | Function |
|---|---|---|---|
A | OG | 740 | Battery Positive Voltage |
B | D-BU | 1201 | Headlamp Low Beam Signal |
Connector Part Information
|
Pin | Wire Color | Circuit No. | Function |
|---|---|---|---|
A | OG | 640 | Battery Positive Voltage |
B | PK | 1200 | Headlamp High Beam Signal |
Connector Part Information
|
Pin | Wire Color | Circuit No. | Function |
|---|---|---|---|
A | OG | 640 | Battery Positive Voltage |
B | D-BU | 1201 | Headlamp Low Beam Signal |
Connector Part Information
|
Pin | Wire Color | Circuit No. | Function |
|---|---|---|---|
A | WH | 9 | Park Lamp Supply Voltage |
B | BK | 650 | Ground |
Connector Part Information
|
Pin | Wire Color | Circuit No. | Function |
|---|---|---|---|
A | WH | 9 | Park Lamp Supply Voltage |
B | BK | 650 | Ground |
Connector Part Information
|
Pin | Wire Color | Circuit No. | Function |
|---|---|---|---|
1 | OG | 1732 | Courtesy Lamps Supply Voltage |
2 | GY | 157 | Courtesy Lamp Control |
Connector Part Information
|
Pin | Wire Color | Circuit No. | Function |
|---|---|---|---|
1 | OG | 1732 | Courtesy Lamps Supply Voltage |
2 | GY | 157 | Courtesy Lamp Control |
Connector Part Information
|
Pin | Wire Color | Circuit No. | Function |
|---|---|---|---|
MAJ | L-BU | 20 | Stop Lamp Switch Signal |
MIN | BN | 9 | Park Lamp Supply Voltage |
GND | BK | 750 | Ground |
Connector Part Information
|
Pin | Wire Color | Circuit No. | Function |
|---|---|---|---|
MAJ | L-BU | 20 | Stop Lamp Switch Signal |
MIN | BN | 9 | Park Lamp Supply Voltage |
GND | BK | 850 | Ground |
Connector Part Information
|
Pin | Wire Color | Circuit No. | Function |
|---|---|---|---|
1 | BK | 150 | Ground |
2 | BN | 9 | Park Lamp Supply Voltage |
3 | L-BU | 14 | Left Turn Signal Lamps Supply Voltage |
Connector Part Information
|
Pin | Wire Color | Circuit No. | Function |
|---|---|---|---|
MAJ | D-BU | 18 | Left Rear Turn Lamp Supply Voltage |
MIN | BN | 9 | Park Lamp Supply Voltage |
GND | BK | 750 | Ground |
Connector Part Information
|
Pin | Wire Color | Circuit No. | Function |
|---|---|---|---|
1 | BK | 150 | Ground |
2 | BN | 9 | Park Lamp Supply Voltage |
3 | D-BU | 15 | Right Turn Signal Lamps Supply Voltage |
Connector Part Information
|
Pin | Wire Color | Circuit No. | Function |
|---|---|---|---|
MAJ | D-BU | 19 | Right Rear Turn Lamp Supply Voltage |
MIN | BN | 9 | Park Lamp Supply Voltage |
GND | BK | 850 | Ground |
Connector Part Information
|
Pin | Wire Color | Circuit No. | Function |
|---|---|---|---|
A | GY | 8 | I/P Dimmer Lamps Switch Signal |
B | BK | 550 | Ground |
Connector Part Information
|
Pin | Wire Color | Circuit No. | Function |
|---|---|---|---|
A | OG | 540 | Battery Positive Voltage |
B | L-BU | 20 | Stop Lamp Switch Signal |
Connector Part Information
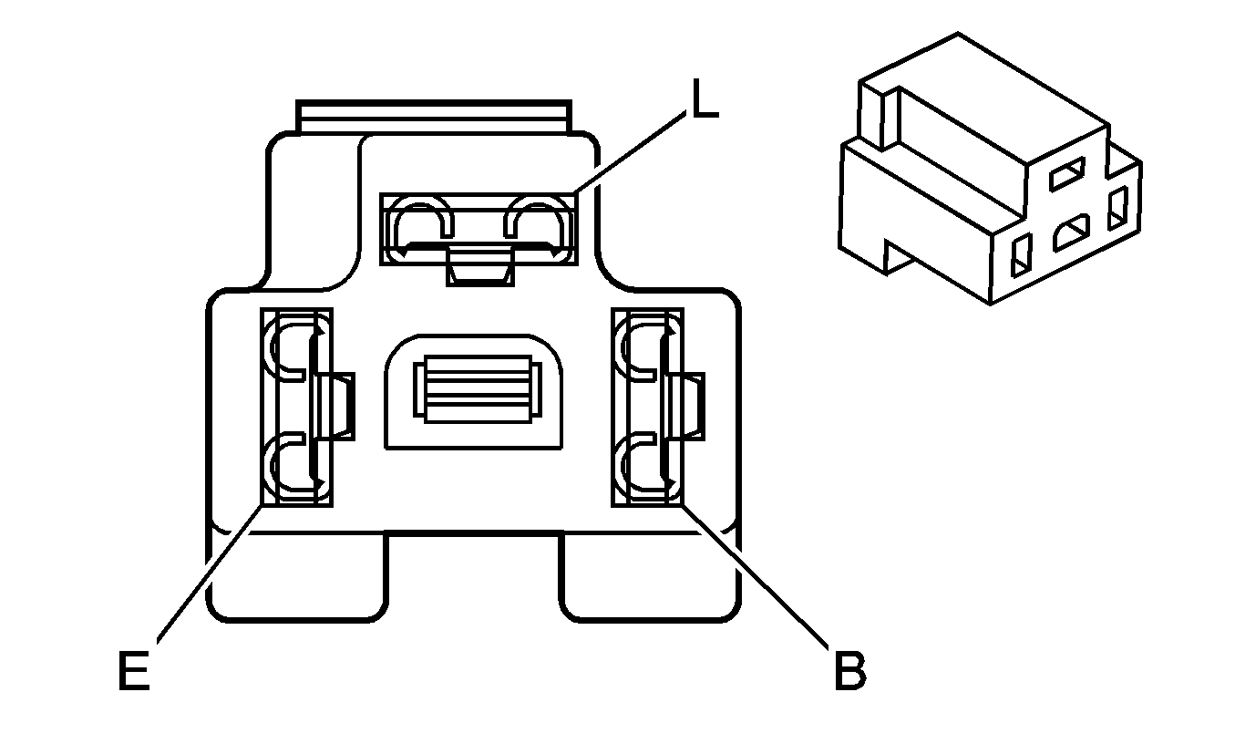
|
Pin | Wire Color | Circuit No. | Function |
|---|---|---|---|
B | L-GN | 665 | Turn/Hazard Relay Control |
L | PU | 16 | Turn Signal Flasher Signal |
E | BK/WH | 151 | Ground |
Connector Part Information
|
Pin | Wire Color | Circuit No. | Function |
|---|---|---|---|
1 | BK | 550 | Ground |
2 | L-BU | 14 | Left Turn Signal Lamps Supply Voltage |
3 | OG | 240 | Battery Positive Voltage (w/o T82) |
GY | 691 | Headlamp Relay Output (w/T82) | |
4 | PU | 16 | Turn Signal Flasher Signal |
5 | D-BU | 1201 | Headlamp Low Beam Signal |
6 | D-BU | 15 | Right Turn Signal Lamps Supply Voltage |
7 | PK | 1200 | Headlamp High Beam Signal |
8 | BN | 9 | Park Lamp Supply Voltage (w/o T82) |
L-BU | 74 | Park Lamp Switch Signal (w/T82) |