GM Service Manual Online
For 1990-2009 cars only

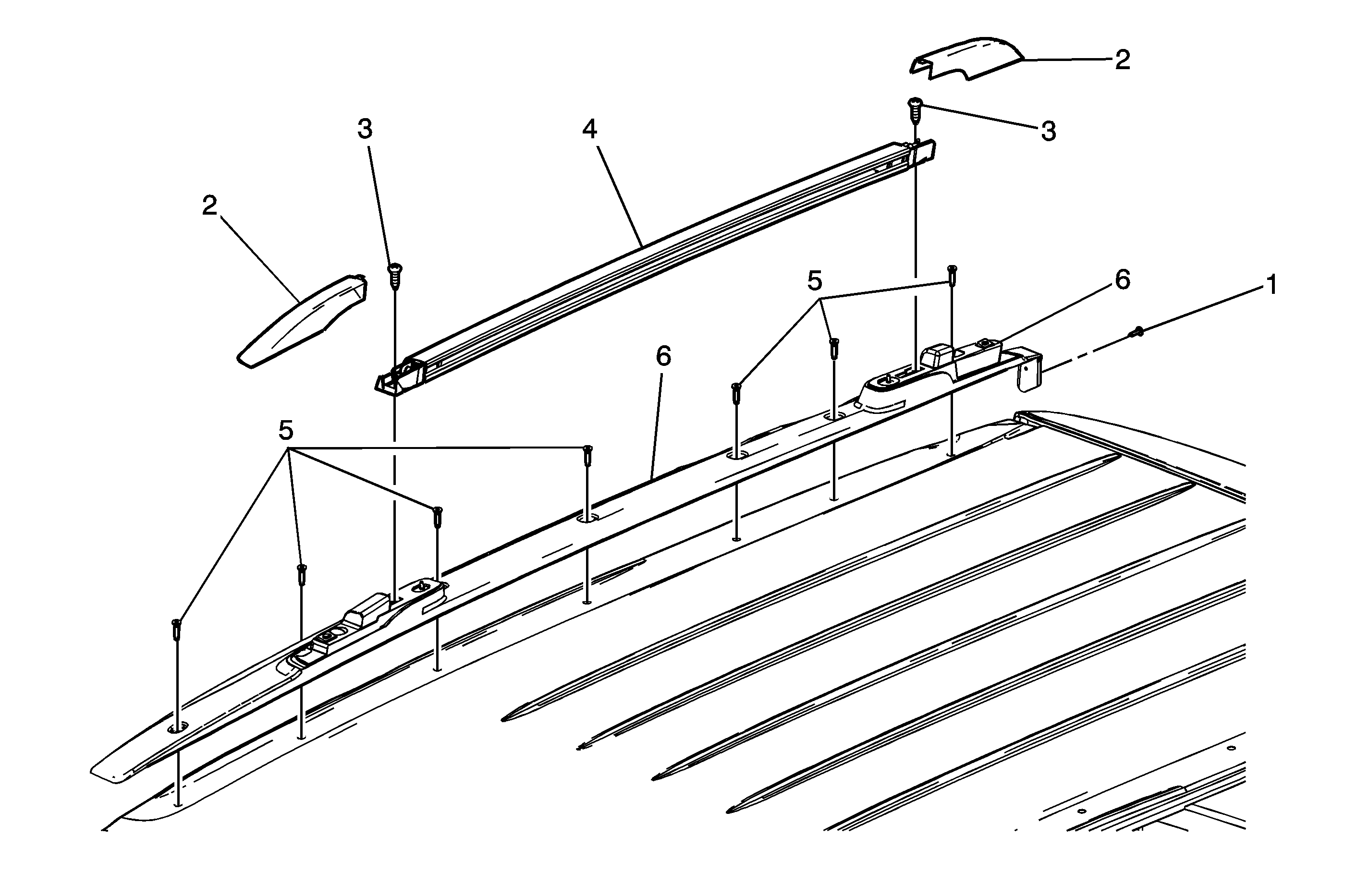
Object Number: 1717490  Size: MF

Callout

Component Name

1

Luggage Carrier Side Rail Rear Bolt

Notice: Refer to Fastener Notice in the Preface section.

Tighten
3 N·m (27 lb in)

2

Luggage Carrier Side Rail Finish Cover

3

Luggage Carrier Side Rail Plug Bolt

Tighten
3 N·m (27 lb in)

4

Luggage Carrier Side Rail Guide

5

Luggage Carrier Side Rail Base Bolt

Tighten
6.5 N·m (58 lb in)

6

Luggage Carrier Side Rail Base