GM Service Manual Online
For 1990-2009 cars only

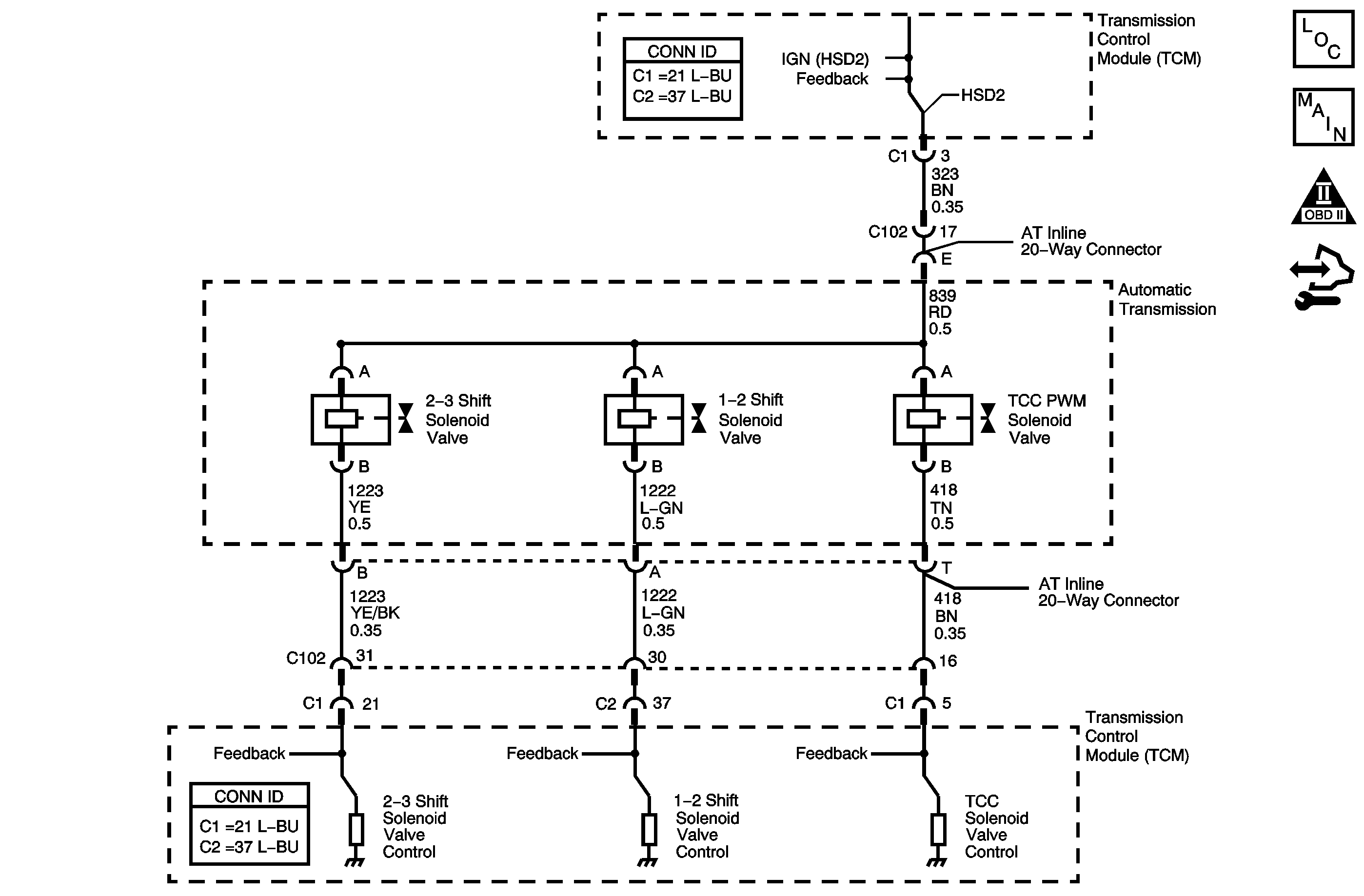
DTC P0973 Non-Hybrid


Object Number: 1715065  Size: MF
Master Electrical Component List
Automatic Transmission Controls Schematics
OBD II Symbol Description Notice
Control Module References

Circuit Description

The 1-2 shift solenoid (SS) valve controls transmission fluid pressure acting on the 1-2 and 2-3 shift valves to position the valves for the appropriate gear. The 1-2 SS valve is a normally open exhaust valve located on the control valve body. The transmission control module (TCM) provides voltage to the pressure control solenoid, the shift solenoids, and the torque converter clutch pulse width modulated (TCC PWM) solenoid through 2 separate solid-state devices called high side drivers (HSD) - HSD1 and HSD2. HSD1 provides electrical power to the pressure control solenoid. HSD2 provides electrical power to the shift solenoids, and the TCC PWM solenoid. The TCM then commands the solenoid ON or OFF by also providing a ground path. When the 1-2 SS valve is commanded ON, the TCM senses low voltage. When the 1-2 SS valve is commanded OFF, the TCM senses high voltage.

If the TCM detects a continuous open or short to ground in the 1-2 SS valve circuit, DTC P0973 sets. DTC P0973 is a type B DTC.

DTC Descriptor

This diagnostic procedure supports the following DTC:

DTC P0973 1-2 Shift Solenoid (SS) Control Circuit Low Voltage

Conditions for Running the DTC

    • The engine is running for 5 seconds and not in fuel cut-off.
    • The HSD1 is commanded ON.

Conditions for Setting the DTC

The 1-2 SS valve feedback circuit indicates a continuous open or short to ground for 4.4 seconds.

Action Taken When the DTC Sets

    • The TCM requests the engine control module (ECM) to illuminate the malfunction indicator lamp (MIL) during the second consecutive trip in which the Conditions for Setting the DTC are met.
    • The TCM commands maximum line pressure.
    • The TCM inhibits 3-2 downshifts above 51 km/h (31 mph).
    • The TCM freezes transmission adaptive functions.
    • The ECM records the operating conditions when the Conditions for Setting the DTC are met. The ECM stores this information as Freeze Frame and Failure Records.
    • The TCM records the operating conditions when the Conditions for Setting the DTC are met. The TCM stores this information as Failure Records.
    • The TCM stores DTC P0973 in TCM history.

Conditions for Clearing the MIL/DTC

    • The ECM turns OFF the MIL after the third consecutive drive trip in which the TCM does not send a MIL illumination request.
    • A scan tool can clear the MIL/DTC.
    • The TCM clears the DTC from TCM history if the vehicle completes 40 warm-up cycles without an emission-related diagnostic fault occurring.
    • The TCM cancels the DTC default actions when the ignition switch is OFF long enough in order to power down the TCM.

Test Description

The numbers below refer to the step numbers on the diagnostic table.

  1. This step tests the electrical operation of the solenoid.

  2. This step tests the TCM and the wiring to the transmission.

  3. This step verifies that the circuit has the correct resistance.

Step

Action

Value(s)

Yes

No

1

Did you perform the Diagnostic System Check - Vehicle?

--

Go to Step 2

Go to Diagnostic System Check - Vehicle

2

  1. Install a scan tool.
  2. Turn ON the ignition, with the engine OFF.
  3. Important: Before clearing the DTC, use the scan tool in order to record the Freeze Frame and Failure Records. Using the Clear Info function erases the Freeze Frame and Failure Records from both the ECM and the TCM.

  4. Record the DTC Freeze Frame and Failure Records.
  5. Clear the DTC.

Is DTC P0976 or P2761 also set?

--

Go to Step 3

Go to Step 5

3

Test the ignition 1 voltage circuit of the 1-2 SS valve for an open or a short to ground between the TCM C1 connector and the AT inline 20-way connector. Refer to Circuit Testing and Wiring Repairs.

Did you find and correct the condition?

--

Go to Step 19

Go to Step 4

4

Important: The condition that affects this circuit may exist in other connecting branches of the circuit. Refer to Power Distribution Schematics for complete circuit distribution.

Test the ignition 1 voltage circuit of the 1-2 SS valve for an open or a short to ground between the AT inline 20-way connector and the 1-2 SS valve. Refer to Circuit Testing.

Did you find the condition?

--

Go to Step 16

--

5

  1. Use the scan tool in order to command the 1-2 SS valve ON and OFF 3 times.
  2. Listen at the transmission bottom pan.

Does the solenoid click when commanded ON and OFF?

--

Go to Testing for Intermittent Conditions and Poor Connections

Go to Step 6

6

  1. Turn OFF the ignition.
  2. Disconnect the AT inline 20-way connector. Additional DTCs may set.
  3. Install the J 44152 jumper harness (20 pins) on the engine side of the AT inline 20-way connector.
  4. Using the J-35616 connector test adapter kit, connect a test lamp between the ignition 1 voltage and the 1-2 SS valve control circuits of the J 44152 . Refer to Automatic Transmission Inline 20-Way Connector End View.
  5. Turn ON the ignition, with the engine OFF.
  6. Command the 1-2 SS valve ON and OFF three times.

Is the test lamp ON when you command the solenoid ON, and OFF when you command the solenoid OFF?

--

Go to Step 10

Go to Step 7

7

Is the test lamp always ON?

--

Go to Step 8

Go to Step 9

8

Test the control circuit of the 1-2 SS valve for a short to ground between the TCM connector C2 and the AT inline 20-way connector. Refer to Testing for Short to Ground and Wiring Repairs.

Did you find and correct the condition?

--

Go to Step 19

Go to Step 18

9

Test the control circuit of the 1-2 SS valve for an open between the TCM connector C2 and the AT inline 20-way connector. Refer to Testing for Continuity and Wiring Repairs.

Did you find and correct the condition?

--

Go to Step 19

Go to Step 18

10

  1. Turn OFF the ignition.
  2. Disconnect the J 44152 from the engine side of the AT inline 20-way connector.
  3. Install the J 44152 on the transmission side of the AT inline 20-way connector.
  4. Using the DMM and the J-35616 connector test adapter kit, measure the resistance between the ignition 1 voltage and the 1-2 SS valve control circuits of the J 44152 . Refer to Automatic Transmission Inline 20-Way Connector End View.

Is the resistance within the specified range?

19-31 Ω

Go to Step 13

Go to Step 11

11

Is the resistance greater than the specified value?

31 Ω

Go to Step 12

Go to Step 13

12

  1. Test the control circuit of the 1-2 SS valve for an open between the AT inline 20-way connector and the 1-2 SS valve.
  2. Test the ignition 1 voltage circuit of the 1-2 SS valve for an open between the AT inline 20-way connector and the 1-2 SS valve.

Refer to Testing for Continuity.

Did you find a condition?

--

Go to Step 16

Go to Step 17

13

Measure the resistance from the 1-2 SS valve control circuits of the J 44152 to ground. Refer to Automatic Transmission Inline 20-Way Connector End View.

Is the resistance less than the specified value?

100 Ω

Go to Step 14

Go to Step 15

14

Test the control circuit of the 1-2 SS valve for a short to ground between the AT inline 20-way connector and the 1-2 SS valve. Refer to Testing for Short to Ground.

Did you find the condition?

--

Go to Step 16

--

15

Measure the resistance between the 1-2 SS valve control circuits and all other terminals, except the 2-3 SS valve control circuit, the TCC PWM solenoid valve control circuit, and the ignition 1 voltage circuit of the J 44152 . Refer to Automatic Transmission Inline 20-Way Connector End View.

Is the resistance less than the specified value?

100 Ω

Go to Step 16

Go to Step 17

16

Replace the automatic transmission wiring harness. Refer to Wiring Harness Replacement.

Did you complete the replacement?

--

Go to Step 19

--

17

Replace the 1-2 SS valve. Refer to Control Valve Body Disassemble.

Did you complete the replacement?

--

Go to Step 19

--

18

Replace the TCM. Refer to Control Module References for replacement, setup, and programming.

Did you complete the replacement?

--

Go to Step 19

--

19

Perform the following procedure in order to verify the repair:

  1. Select DTC.
  2. Select Clear Info.
  3. Operate the vehicle under the following conditions:
  4. • Drive the vehicle in D4.
    • Allow the transmission to obtain a 1-2 upshift.
  5. Select Specific DTC.
  6. Enter DTC P0973.

Has the test run and passed?

--

Go to Step 20

Go to Step 2

20

With the scan tool, observe the stored information, capture info. and DTC info.

Does the scan tool display any DTCs that you have not diagnosed?

--

Go to Diagnostic Trouble Code (DTC) List - Vehicle

System OK

DTC P0973 Hybrid


Object Number: 1542667  Size: MF
Master Electrical Component List
Automatic Transmission Controls Schematics
OBD II Symbol Description Notice
Control Module References

Circuit Description

The 1-2 shift solenoid (SS) valve controls transmission fluid pressure acting on the 1-2 and 3-4 shift valves to position the valves for the appropriate gear. The 1-2 SS valve is a normally open exhaust valve located on the lower control valve body. Ignition voltage is supplied to the solenoid. The transmission control module (TCM) commands the solenoid ON or OFF by providing a ground path. When the 1-2 SS valve is commanded ON, the TCM senses low voltage. When the 1-2 SS valve is commanded OFF, the TCM senses high voltage.

If the TCM detects a continuous open or short to ground in the 1-2 SS valve circuit, then DTC P0973 sets. DTC P0973 is a type B DTC.

DTC Descriptor

This diagnostic procedure supports the following DTC:

DTC P0973 1-2 Shift Solenoid (SS) Control Circuit Low Voltage

Conditions for Running the DTC

    • The engine is running for 2 seconds.
    • The 1-2 SS is commanded OFF.

Conditions for Setting the DTC

The 1-2 SS valve feedback circuit indicates a continuous open or short to ground for 4.4 seconds.

Action Taken When the DTC Sets

    • The TCM illuminates the malfunction indicator lamp (MIL) during the second consecutive trip in which the Conditions for Setting the DTC are met.
    • The TCM commands maximum line pressure.
    • The Hybrid control module (HCM) inhibits Hybrid operation.
    • The TCM inhibits 3-2 downshifts above 52 km/h (32 mph).
    • The TCM freezes transmission adaptive functions.
    • The TCM records the operating conditions when the Conditions for Setting the DTC are met. The TCM stores this information as Freeze Frame and Failure Records.
    • The TCM stores DTC P0973 in TCM history during the second consecutive trip in which the Conditions for Setting the DTC are met.

Conditions for Clearing the MIL/DTC

    • The TCM turns OFF the MIL during the third consecutive trip in which the diagnostic test runs and passes.
    • A scan tool can clear the MIL/DTC.
    • The TCM clears the DTC from TCM history if the vehicle completes 40 warm-up cycles without an emission related diagnostic fault occurring.
    • The TCM cancels the DTC default actions when the ignition switch is OFF long enough in order to power down the TCM.

Test Description

The numbers below refer to the step numbers on the diagnostic table.

  1. This step tests the electrical operation of the solenoid.

  2. This step tests the TCM and the wiring to the transmission.

  3. This step verifies that the circuit has the correct resistance.

DTC P0973

Step

Action

Value(s)

Yes

No

1

Did you perform the Diagnostic System Check - Vehicle?

--

Go to Step 2

Go to Diagnostic System Check - Vehicle

2

  1. Install a scan tool.
  2. Turn ON the ignition, with the engine OFF.
  3. Important: Before clearing the DTC, use the scan tool in order to record the Freeze Frame and Failure Records. Using the Clear Info function erases the Freeze Frame and Failure Records from the TCM.

  4. Record the DTC Freeze Frame and Failure Records.
  5. Clear the DTC.

Is DTC P0787, P0976, or P2764 also set?

--

Go to Step 3

Go to Step 8

3

  1. Remove the TRANSMISSION fuse.
  2. Inspect the fuse for an open.
  3. Refer to Circuit Protection - Fuses.

Did you find the condition?

--

Go to Step 4

Go to Step 6

4

Important: The condition that affects this circuit may exist in other connecting branches of the circuit. Refer to Power Distribution Schematics for complete circuit distribution.

Test the ignition 1 voltage circuit of the 1-2 SS valve for a short to ground between the underhood fuse block and the AT inline 20-way connector.

Refer to Testing for Short to Ground and Wiring Repairs.

Did you find and correct the condition?

--

Go to Step 23

Go to Step 5

5

Important: The condition that affects this circuit may exist in other connecting branches of the circuit. Refer to Power Distribution Schematics for complete circuit distribution.

Test the ignition 1 voltage circuit of the 1-2 SS valve for a short to ground between the AT inline 20-way connector and the 1-2 SS valve.

Refer to Testing for Short to Ground.

Did you find the condition?

--

Go to Step 20

--

6

Test the ignition 1 voltage circuit of the 1-2 SS valve for an open between the underhood fuse block and the AT inline 20-way connector.

Refer to Testing for Continuity and Wiring Repairs.

Did you find and correct the condition?

--

Go to Step 23

Go to Step 7

7

Test the ignition 1 voltage circuit of the 1-2 SS valve for an open between the AT inline 20-way connector and the 1-2 SS valve.

Refer to Testing for Continuity.

Did you find the condition?

--

Go to Step 20

--

8

  1. Use the scan tool in order to command the 1-2 SS valve ON and OFF 3 times.
  2. Listen at the transmission bottom pan.

Does the solenoid click when commanded ON and OFF?

--

Go to Testing for Intermittent Conditions and Poor Connections

Go to Step 9

9

  1. Turn OFF the ignition.
  2. Disconnect the AT inline 20-way connector. Additional DTCs may set.
  3. Install the J 44152 Jumper Harness (20 pins) on the engine side of the AT inline 20-way connector.
  4. Using the J 35616 GM-approved terminal test kit, connect a test lamp between the ignition 1 voltage and the 1-2 SS valve control circuits of the J 44152 .
  5. Refer to Automatic Transmission Inline 20-Way Connector End View.

  6. Turn ON the ignition, with the engine OFF.
  7. Command the 1-2 SS valve ON and OFF three times.

Is the test lamp ON when you command the solenoid ON, and OFF when you command the solenoid OFF?

--

Go to Step 14

Go to Step 10

10

Is the test lamp always ON?

--

Go to Step 11

Go to Step 13

11

  1. Turn OFF the ignition.
  2. Disconnect the TCM connector. Additional DTCs may set.
  3. Turn ON the ignition, with the engine OFF.

Is the test lamp ON?

--

Go to Step 12

Go to Step 22

12

Test the control circuit of the 1-2 SS valve for a short to ground between the TCM connector and the AT inline 20-way connector.

Refer to Testing for Short to Ground and Wiring Repairs.

Did you find and correct the condition?

--

Go to Step 23

--

13

Test the control circuit of the 1-2 SS valve for an open between the TCM connector and the AT inline 20-way connector.

Refer to Testing for Continuity and Wiring Repairs.

Did you find and correct the condition?

--

Go to Step 23

Go to Step 22

14

  1. Turn OFF the ignition.
  2. Disconnect the J 44152 from the engine side of the AT inline 20-way connector.
  3. Install the J 44152 on the transmission side of the AT inline 20-way connector.
  4. Using the DMM and the J 35616 GM-approved terminal test kit, measure the resistance between the ignition 1 voltage and the 1-2 SS valve control circuits of the J 44152 .

Refer to Automatic Transmission Inline 20-Way Connector End View.

Is the resistance within the specified range?

19-31 Ω

Go to Step 17

Go to Step 15

15

Is the resistance greater than the specified value?

31 Ω

Go to Step 16

Go to Step 17

16

  1. Test the control circuit of the 1-2 SS valve for an open between the AT inline 20-way connector and the 1-2 SS valve.
  2. Test the ignition 1 voltage circuit of the 1-2 SS valve for an open between the AT inline 20-way connector and the 1-2 SS valve.

Refer to Testing for Continuity.

Did you find a condition?

--

Go to Step 20

Go to Step 21

17

Measure the resistance from the 1-2 SS valve control circuit of the J 44152 to ground.

Refer to Automatic Transmission Inline 20-Way Connector End View.

Is the resistance less than the specified value?

100 Ω

Go to Step 18

Go to Step 19

18

Test the control circuit of the 1-2 SS valve for a short to ground between the AT inline 20-way connector and the 1-2 SS valve.

Refer to Testing for Short to Ground.

Did you find the condition?

--

Go to Step 20

--

19

Measure the resistance between the 1-2 SS valve control circuit and all other terminals of the J 44152 .

Refer to Automatic Transmission Inline 20-Way Connector End View.

Is the resistance less than the specified value?

100 Ω

Go to Step 20

Go to Step 21

20

Replace the automatic transmission wiring harness.

Refer to Wiring Harness Replacement.

Did you complete the replacement?

--

Go to Step 23

--

21

Replace the 1-2 SS valve.

Refer to 1-2 Shift Solenoid Valve Replacement.

Did you complete the replacement?

--

Go to Step 23

--

22

Replace the TCM.

Refer to Control Module References for replacement, setup, and programming.

Did you complete the replacement?

--

Go to Step 23

--

23

Perform the following procedure in order to verify the repair:

  1. Select DTC.
  2. Select Clear Info.
  3. Operate the vehicle under the following conditions:
  4. • Drive the vehicle in D4.
    • Allow the transmission to shift through all gears.
  5. Select Specific DTC.
  6. Enter DTC P0973.

Has the test run and passed?

--

Go to Step 24

Go to Step 2

24

With the scan tool, observe the stored information, capture info. and DTC info.

Does the scan tool display any DTCs that you have not diagnosed?

--

Go to Diagnostic Trouble Code (DTC) List - Vehicle

System OK