GM Service Manual Online
For 1990-2009 cars only

DTC P0711 Non-Hybrid


Object Number: 1715058  Size: LF
Master Electrical Component List
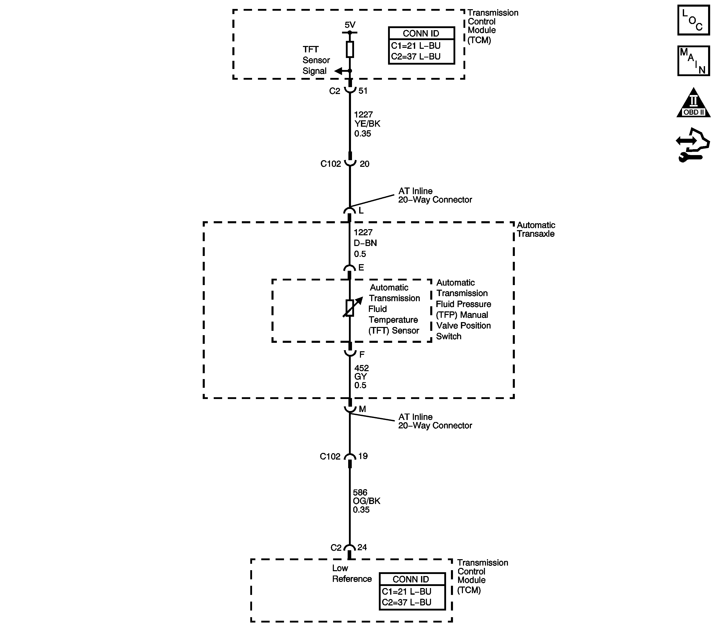
Automatic Transmission Controls Schematics
OBD II Symbol Description Notice
Control Module References

Circuit Description

The automatic transmission fluid temperature (TFT) sensor is a negative coefficient thermistor. When the transmission fluid is cold, the sensor resistance is high. As the transmission fluid warms, the sensor resistance decreases. This diagnostic monitors the TFT circuit. The circuit may be functional, but not in the normal operating range. This diagnostic indicates stuck, erratic, intermittent, or skewed values, indicating poor system performance. The TFT range is -40 to +151°C (-40 to +304°F).

When the transmission control module (TCM) detects an intermittent voltage or no voltage change in the TFT sensor circuit, DTC P0711 sets. DTC P0711 is a type C DTC.

DTC Descriptor

This diagnostic procedure supports the following DTC:

DTC P0711 Transmission Fluid Temperature (TFT) Sensor Performance

Conditions for Running the DTC

    • No ECT DTCs P0117 or P0118.
    • No ISS DTCs P0716 or P0717.
    • No OSS DTCs P0722 or P0723.
    • The engine coolant temperature (ECT) is greater than 70°C (158°F).
    • The ECT has changed by greater than 55°C (99°F) since start-up.
    • The TFT is between -39°C (-38°F) and 149°C (300°F).
    • The vehicle speed is greater than 8 km/h (5 mph) for 5 minutes cumulatively.
    • The torque converter clutch (TCC) slip is greater than 120 RPM for 5 minutes cumulatively for Condition 1.

Conditions for Setting the DTC

One of the following conditions occurs:

Condition 1

The change in TFT is less than 2°C (3.6°F) when the TFT is between -39°C (-38°F) and 20°C (68°F) at start-up for 1 minute and 20 seconds.

Condition 2

The change in TFT is less than 2°C (3.6°F) when the TFT is between 129°C (264°F) and 149°C (300°F) at start-up for 1 minute and 20 seconds.

Condition 3

The change in TFT is greater than 20°C (36°F) within 200 milliseconds; 15 times within 7 seconds.

Action Taken When the DTC Sets

    • The TCM does not request the engine control module (ECM) to illuminate the malfunction indicator lamp (MIL).
    • The TCM freezes transmission adaptive functions.
    • The TCM calculates a default transmission fluid temperature based on engine coolant temperature, manifold air temperature, and engine run time.
    • The TCM records the operating conditions when the Conditions for setting the DTC are met. The TCM stores this information as Failure Records.
    • The TCM stores DTC P0711 in TCM history.

Conditions for Clearing the DTC

    • A scan tool can clear the DTC.
    • The TCM clears the DTC from TCM history if the vehicle completes 40 warm-up cycles without a non-emission-related diagnostic fault occurring.
    • The TCM cancels the DTC default actions when the fault no longer exists and the DTC passes.

Test Description

The numbers below refer to the step numbers on the diagnostic table.

  1. This step tests for an intermittent short or open condition in the engine wiring harness. The test light is used as a resistor in the circuit.

  2. This step determines if the TCM or the TFT sensor is causing a steady, unchanging TFT reading.

Step

Action

Value(s)

Yes

No

1

Did you perform the Diagnostic System Check - Vehicle?

--

Go to Step 2

Go to Diagnostic System Check - Vehicle

2

Did you perform the Transmission Fluid Checking Procedure?

--

Go to Step 3

Go to Transmission Fluid Check

3

  1. Install a scan tool.
  2. Turn ON the ignition, with the engine OFF.
  3. Important: Before clearing the DTC, use the scan tool in order to record the Failure Records. Using the Clear Info function erases the Failure Records from the TCM.

  4. Record the DTC Failure Records.
  5. Clear the DTC.
  6. Select Trans. Fluid Temp. on the scan tool.
  7. Drive the vehicle and observe the scan tool for either of the following fail conditions:
  8. • The TFT does not change greater than 2°C (3.6°F) in 20 seconds since startup.
    • The TFT changes greater than 20°C (36°F) in 0.200 second, 15 times within 7 seconds, unrealistic change.

Did either of the fail conditions occur?

--

Go to Step 4

Go to Testing for Intermittent Conditions and Poor Connections

4

Did the scan tool display a condition in which the TFT does not change by greater than the specified value in 20 seconds since startup?

2°C (3.6°F)

Go to Step 6

Go to Step 5

5

  1. Turn OFF the ignition.
  2. Disconnect the AT inline 20-way connector. Additional DTCs may set.
  3. Install the J 44152 jumper harness (20 pins) on the engine side of the AT inline 20-way connector.
  4. Using the J-35616 connector test adapter kit, connect a test light between the TFT sensor signal and the low reference circuits of the J 44152 . Refer to Automatic Transmission Inline 20-Way Connector End View.
  5. Turn ON the ignition, with the engine OFF.
  6. While observing the scan tool display, move or wiggle the engine wiring harness from TCM connector C1 and C2 to the AT inline 20-way connector.

Does the TFT change by greater than the specified value?

20°C (36°F)

Go to Step 7

Go to Step 8

6

  1. Turn OFF the ignition.
  2. Disconnect the AT inline 20-way connector.
  3. Turn ON the ignition, with the engine OFF.

Did the scan tool display a condition in which the TFT does not change by greater than the specified value in 20 seconds since startup?

2°C (3.6°F)

Go to Step 11

Go to Step 10

7

  1. Test the signal circuit of the TFT sensor for an intermittent open or short condition between the TCM connector C2 and the AT inline 20-way connector.
  2. Test the low reference circuit of the TFT sensor for an intermittent open or short condition between the TCM connector C2 and the AT inline 20-way connector.

Refer to Circuit Testing and Wiring Repairs.

Did you find and correct a condition?

--

Go to Step 12

Go to Step 11

8

  1. Test the signal circuit of the TFT sensor for an intermittent open or short condition between the AT inline 20-way connector and the TFP manual valve position switch.
  2. Test the low reference circuit of the TFT sensor for an intermittent open or short condition between the AT inline 20-way connector and the TFP manual valve position switch.

Refer to Circuit Testing and Wiring Repairs.

Did you find a condition?

--

Go to Step 9

Go to Step 10

9

Replace the automatic transmission wiring harness. Refer to Wiring Harness Replacement.

Did you complete the replacement?

--

Go to Step 12

--

10

Replace the TFT sensor. The TFT sensor is part of the TFP manual valve position switch. Refer to Transmission Fluid Pressure Manual Valve Position Switch Replacement.

Did you complete the replacement?

--

Go to Step 12

--

11

Replace the TCM. Refer to Control Module References for replacement, setup, and programming.

Did you complete the replacement?

--

Go to Step 12

--

12

Perform the following procedure in order to verify the repair:

  1. Select DTC.
  2. Select Clear Info.
  3. Drive the vehicle and ensure the following conditions are met:
  4. • The TFT changes by greater than 3°C (5°F) for 5 seconds since startup.
    • The TFT does not change by greater than 20°C (36°F) within 0.200 second, 15 times within 7 seconds.
  5. Select Specific DTC.
  6. Enter DTC P0711.

Has the test run and passed?

--

Go to Step 13

Go to Step 2

13

With the scan tool, observe the stored information, capture info and DTC info.

Does the scan tool display any DTCs that you have not diagnosed?

--

Go to Diagnostic Trouble Code (DTC) List - Vehicle

System OK

DTC P0711 Hybrid


Object Number: 1505102  Size: MF
Master Electrical Component List
Automatic Transmission Controls Schematics
OBD II Symbol Description Notice
Control Module References

Circuit Description

The automatic transmission fluid temperature (TFT) sensor is a negative coefficient thermistor. When the transmission fluid is cold, the sensor resistance is high. As the transmission fluid warms, the sensor resistance decreases. This diagnostic monitors the TFT circuit. The circuit may be functional, but not in the normal operating range. This diagnostic indicates stuck, erratic, intermittent, or skewed values, indicating poor system performance. The TFT range is -40 to +151°C (-40 to +305°F).

When the transmission control module (TCM) detects an intermittent voltage or no voltage change in the TFT sensor circuit, then DTC P0711 sets. DTC P0711 is a type C DTC.

DTC Descriptor

This diagnostic procedure supports the following DTC:

DTC P0711 Transmission Fluid Temperature (TFT) Sensor Performance

Conditions for Running the DTC

    • No ECT DTCs P0117 or P0118.
    • No ISS DTCs P0716 or P0717.
    • No OSS DTCs P0722 or P0723.
    • DTC P0711 has not passed this key cycle.
    • The engine coolant temperature (ECT) is 70°C (158°F) or more for Condition 1 and Condition 2.
    • The ECT has changed by 55°C (99°F) or more since start-up for Condition 1 and Condition 2.
    • The TFT is -39°C to +149°C (-38°F to +300°F).
    • The vehicle speed is 8 km/h (5 mph) or more for 5 minutes cumulatively for Condition 1 and Condition 2.
    • The torque converter clutch (TCC) slip is 120 RPM or more for 5 minutes cumulatively for Condition 1.
    • The Calc. Throttle Position is between 8 and 90 percent for Condition 3.
    • The engine torque is greater than 50 N·m (37 lb ft) for Condition 3.
    • The vehicle speed is greater than 8 km/h (5 mph) for Condition 3.

Conditions for Setting the DTC

One of the following conditions occurs:

Condition 1

The change in TFT is less than 2°C (4°F) when the TFT is -39°C to +20°C (-38°F to +68°F) at start-up for 1 minute and 20 seconds.

Condition 2

The change in TFT is less than 2°C (4°F) when the TFT is 129-149°C (264-300°F) at start-up for 1 minute and 20 seconds.

Condition 3

The TFT is 20°C (68°F) or less after a predetermined amount of time.

Action Taken When the DTC Sets

    • The TCM does not illuminate the malfunction indicator lamp (MIL).
    • The TCM freezes transmission adaptive functions.
    • The TCM calculates a default transmission fluid temperature based on engine coolant temperature, manifold air temperature, and engine run time.
    • The TCM records the operating conditions when the Conditions for setting the DTC are met. The TCM stores this information as Failure Records.
    • The TCM stores DTC P0711 in TCM history.

Conditions for Clearing the DTC

    • A scan tool can clear the DTC.
    • The TCM clears the DTC from TCM history if the vehicle completes 40 warm-up cycles without a non-emission related diagnostic fault occurring.
    • The TCM cancels the DTC default actions when the fault no longer exists and the DTC passes.

Test Description

The numbers below refer to the step numbers on the diagnostic table.

  1. This step tests for an intermittent short or open condition in the engine wiring harness. The test light is used as a resistor in the circuit.

  2. This step determines if the TCM or the TFT sensor is causing a steady, unchanging TFT reading.

Step

Action

Value(s)

Yes

No

1

Did you perform the Diagnostic System Check - Vehicle?

--

Go to Step 2

Go to Diagnostic System Check - Vehicle

2

Did you perform the Transmission Fluid Checking Procedure?

--

Go to Step 3

Go to Transmission Fluid Check

3

  1. Install a scan tool.
  2. Turn ON the ignition, with the engine OFF.
  3. Important: Before clearing the DTC, use the scan tool in order to record the Failure Records. Using the Clear Info function erases the Failure Records from the TCM.

  4. Record the DTC Failure Records.
  5. Clear the DTC.
  6. Select Trans. Fluid Temp. on the scan tool.
  7. Drive the vehicle and observe the scan tool for either of the following fail conditions:
  8. • The TFT does not change by greater than 2°C (4°F) in 1 minute and 20 seconds when the TFT is -39°C to 20°C (-38°F to +68°F) at start-up.
    • The TFT does not change by greater than 2°C (4°F) in 1 minute and 20 seconds when the TFT is 129-149°C (264-300°F) at start-up.

Did either of the fail conditions occur?

--

Go to Step 4

Go to Testing for Intermittent Conditions and Poor Connections

4

Did the scan tool display a condition in which the TFT does not change by greater than the specified value in 1 minute and 20 seconds since startup?

2°C (4°F)

Go to Step 6

Go to Step 5

5

  1. Turn OFF the ignition.
  2. Disconnect the AT inline 20-way connector. Additional DTCs may set.
  3. Install the J 44152 jumper harness (20 pins) on the engine side of the AT inline 20-way connector.
  4. Using the J 35616 GM-approved terminal test kit, connect a test light between the TFT sensor signal circuit and the low reference circuit of the J 44152 .
  5. Refer to Automatic Transmission Inline 20-Way Connector End View.

  6. Turn ON the ignition, with the engine OFF.
  7. While observing the scan tool display, move or wiggle the engine wiring harness from the TCM connector to the AT inline 20-way connector.

Does the TFT change by greater than the specified value?

20°C (36°F)

Go to Step 7

Go to Step 8

6

  1. Turn OFF the ignition.
  2. Disconnect the AT inline 20-way connector.
  3. Turn ON the ignition, with the engine OFF.

Did the scan tool display a condition in which the TFT does not change by greater than the specified value in 1 minute and 20 seconds since startup?

2°C (4°F)

Go to Step 11

Go to Step 10

7

  1. Test the signal circuit of the TFT sensor for an intermittent open or short condition between the TCM connector and the AT inline 20-way connector.
  2. Test the low reference circuit of the TFT sensor for an intermittent open or short condition between the TCM connector and the AT inline 20-way connector.

Refer to Circuit Testing and Wiring Repairs.

Did you find and correct a condition?

--

Go to Step 12

Go to Step 11

8

  1. Test the signal circuit of the TFT sensor for an intermittent open or short condition between the AT inline 20-way connector and the TFP manual valve position switch.
  2. Test the low reference circuit of the TFT sensor for an intermittent open or short condition between the AT inline 20-way connector and the TFP manual valve position switch.

Refer to Circuit Testing and Wiring Repairs.

Did you find a condition?

--

Go to Step 9

Go to Step 10

9

Replace the automatic transmission wiring harness.

Refer to Wiring Harness Replacement.

Did you complete the replacement?

--

Go to Step 12

--

10

Replace the TFT sensor. The TFT sensor is part of the TFP manual valve position switch.

Refer to Transmission Fluid Pressure Manual Valve Position Switch Replacement.

Did you complete the replacement?

--

Go to Step 12

--

11

Replace the TCM.

Refer to Control Module References for replacement, setup, and programming.

Did you complete the replacement?

--

Go to Step 12

--

12

Perform the following procedure in order to verify the repair:

  1. Select DTC.
  2. Select Clear Info.
  3. Drive the vehicle and ensure the TFT is greater than 20°C (68°F) and changes by greater than 2.5°C (4.5°F) for 5 seconds since startup.
  4. Select Specific DTC.
  5. Enter DTC P0711.

Has the test run and passed?

--

Go to Step 13

Go to Step 2

13

With the scan tool, observe the stored information, capture info and DTC info.

Does the scan tool display any DTCs that you have not diagnosed?

--

Go to Diagnostic Trouble Code (DTC) List - Vehicle

System OK