GM Service Manual Online
For 1990-2009 cars only

To access the spare tire:

  1. Open the liftgate.

  2. Object Number: 1848431  Size: B3
  3. Push the levers on the load floor.
  4. Lift the load floor and hang the hook to the tailgate opening.

  5. Object Number: 1879306  Size: B3
  6. Remove the tire protector foam.

  7. Object Number: 1843342  Size: B3
  8. Remove the wheel retainer bolt holding down the spare tire by turning it counterclockwise.
  9. Remove the compact spare tire. See Compact Spare Tire for more information.

The tools you will need are located between the compact spare tire and the liftgate. To access the tools:


Object Number: 1843347  Size: B3
  1. Tool Bag

  2. Wing-bolt

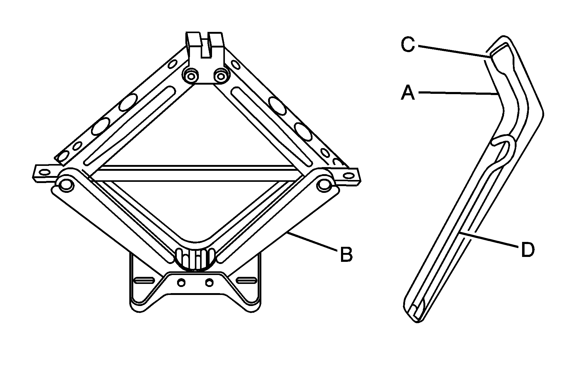
  3. Jack

  1. Remove the wing-bolt (B) from the jack.
  2. Remove the jack (C) and tool bag (A).
  3. Remove the straps holding the bag containing the wheel wrench and extension jack handle.
  4. Remove the wheel wrench and extension jack handle from the bag.

The tools you will be using include:


Object Number: 1862473  Size: B3
  1. Tool Bag

  2. Jack

  3. Wheel Wrench

  4. Extension Jack Handle