GM Service Manual Online
For 1990-2009 cars only

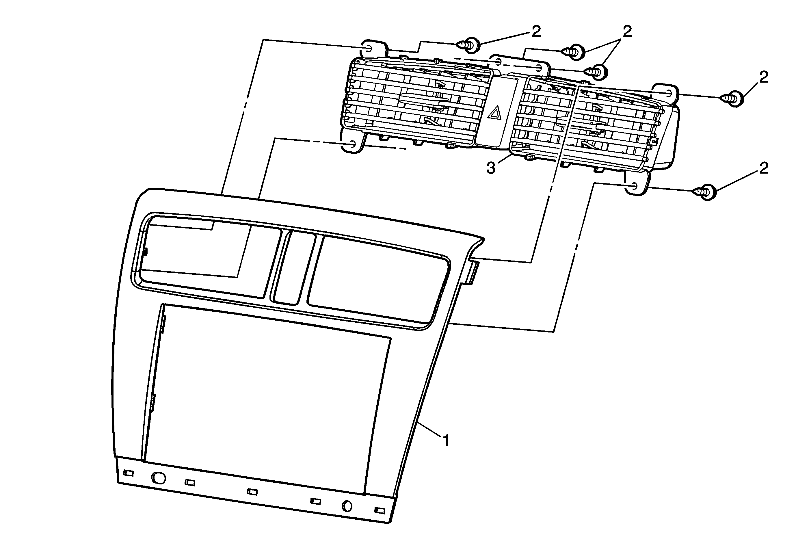
Object Number: 1753813  Size: MF

Callout

Component Name

1

Instrument Panel Accessory Trim Plate

Refer to Instrument Panel Accessory Trim Plate Replacement

2

Instrument Panel Air Outlet - Center Screw (Qty: 6)

Notice: Refer to Fastener Notice in the Preface section.

Tighten
2 N·m (18 lb in)

3

Instrument Panel Air Outlet - Center

Tip
Remove the hazard warning switch from the air outlet. Refer to Hazard Warning Switch Replacement .