GM Service Manual Online
For 1990-2009 cars only
Connector 1: Fuse Block - Underhood C1
Connector 2: Fuse Block - Underhood C2
Connector 3: Fuse Block - Underhood C3
Connector 4: Fuse Block - I/P C1
Connector 5: Fuse Block - I/P C2
Connector 6: Fuse Block - I/P C3

Fuse Block - Underhood C1


Object Number: 1757912  Size: CH

Connector Part Information

  • OEM: 6098-5227
  • Service: 88988708
  • Description: 47-Way F LIF Series (WH)

Terminal Part Information

  • Pins: 46
  • Terminal/Tray: 7116-4122-02/10
  • Core/Insulation Crimp: A/B
  • Release Tool/Test Probe: 12094430/J-35616-42 (RD)
  • Pins: 24, 24
  • Terminal/Tray: 15304713/19
  • Core/Insulation Crimp: See Terminal Repair Kit
  • Release Tool/Test Probe: 15315247/J-35616-4A (PU)
  • Pins: 5, 6, 7, 8, 9, 15, 16, 18, 19, 20, 26, 28, 29, 31, 32, 39, 40, 42, 27, 30
  • Terminal/Tray: 12191812/19
  • Core/Insulation Crimp: Pins 5, 6, 7, 8, 9, 15, 16, 18, 19, 20, 26, 28, 29, 31, 32, 39, 40, 42 - E/C
  • Core/Insulation Crimp: Pins 27, 30 - C/A
  • Release Tool/Test Probe: 15315247/J-35616-2A (GY)
  • Pins: 13, 23, 14, 25
  • Terminal/Tray: 15304711/8
  • Core/Insulation Crimp: Pins 13, 23 - E/A
  • Core/Insulation Crimp: Pins 14, 25 - 2/A
  • Release Tool/Test Probe: 15315247/J-35616-4A (PU)

Fuse Block - Underhood C1

Pin

Wire Color

Circuit No.

Function

1-4

--

--

Not Used

5

YE

447

Starter Relay Coil Control

6

BK/WH

451

Ground

7

PK

439

Ignition 1 Voltage

8

D-GN

59

A/C Compressor Clutch Supply Voltage

9

PK/BK

5294

Powertrain Main Relay Fused Supply (5)

10-12

--

--

Not Used

13

PK

1339

Ignition 1 Voltage

14

PK/BK

5291

Ignition 1 Voltage

15

D-BU

473

High Speed Cooling Fan Relay Control

16

TN

2759

Low Reference

17

--

--

Not Used

18

D-GN/WH

459

A/C Compressor Clutch Relay Control

19

PK/BK

5294

Powertrain Main Relay Fused Supply (5)

20

PK

1039

Ignition 1 Voltage

21-22

--

--

Not Used

23

BN/WH

419

MIL Control

24

PK/BK

5293

Powertrain Main Relay Fused Supply (4)

PK/BK

5293

Powertrain Main Relay Fused Supply (4)

25

PK/BK

5292

Ignition 1 Voltage

26

D-GN/WH

465

Fuel Pump Relay Control [- Primary]

27

WH

1310

EVAP Canister Vent Solenoid Control

28

WH

17

Stop Lamp Switch Signal

29

BN

4

Accessory Voltage

30

PK/BK

5290

Ignition 1 Voltage

31

RD/WH

1540

Battery Positive Voltage

32

BN

5069

Engine Main Relay Coil Control

33-38

--

--

Not Used

39

D-GN

335

Low Speed Cooling Fan Relay Control

40

BN

4

Accessory Voltage

41

--

--

Not Used

42

RD/WH

540

Battery Positive Voltage

43-45

--

--

Not Used

46

PU

6

Starter Solenoid Crank Voltage

47

--

--

Not Used

Fuse Block - Underhood C2


Object Number: 1757913  Size: CH

Connector Part Information

  • OEM: 6098-5229
  • Service: 88988710
  • Description: 50-Way F LIF Series (BK)

Terminal Part Information

  • Pins: 1, 2, 34, 35
  • Terminal/Tray: 15304713/19
  • Core/Insulation Crimp: 4/4
  • Release Tool/Test Probe: 15315247/J-35616-4A (PU)
  • Pins: 3, 11, 11, 12, 13, 22, 25, B, 14, 23, 24, 33, A
  • Terminal/Tray: 15304711/8
  • Core/Insulation Crimp: Pins 3, 11, 11, 12, 13, 22, 25, B - E/A
  • Core/Insulation Crimp: Pins 14, 23, 24, 33, A - 2/A
  • Release Tool/Test Probe: 15315247/J-35616-4A (PU)
  • Pins: 4, 6, 7, 8, 9, 15, 17, 18, 19, 20, 21, 27, 28, 29, 30, 31, 32, 36, 36, 38, 39, 40, 41, 41, 42, 5, 10, 16
  • Terminal/Tray: 12191812/19
  • Core/Insulation Crimp: Pins 4, 6, 7, 8, 9, 15, 17, 18, 19, 20, 21, 27, 28, 29, 30, 31, 32, 36, 36, 38, 39, 40, 41, 41, 42 - E/C
  • Core/Insulation Crimp: Pins 5, 10, 16 - C/A
  • Release Tool/Test Probe: 15315247/J-35616-2A (GY)
  • Pins: 43, 46, 47, 44, C
  • Terminal/Tray: 7116-4122-02/10
  • Core/Insulation Crimp: Pins 43, 46, 47 - D/G
  • Core/Insulation Crimp: Pins 44, C - A/B
  • Release Tool/Test Probe: 12094430/J-35616-42 (RD)

Fuse Block - Underhood C2

Pin

Wire Color

Circuit No.

Function

1

RD/WH

140

Battery Positive Voltage

2

RD/BK

742

Battery Positive Voltage

3

D-GN

1619

Trailer Right Rear Turn/Stop Lamp Supply Voltage (V92)

4

BN

2109

Trailer Park Lamps Supply Voltage (V92)

5

D-BU/WH

1315

Right Front Turn Signal Lamp Supply Voltage

6

WH

1080

Park Lamp Relay Control

7

PK/BK

109

Hood Ajar Switch Signal (AP3)

8

TN/WH

1969

Headlamp High Beam Relay Control

9

PU

5531

Hood Closed Switch Signal (AP3)

10

L-BU/WH

1314

Left Front Turn Signal Lamp Supply Voltage

11

L-BU

20

Stop Lamp Supply Voltage

L-BU

20

Stop Lamp Supply Voltage

12

BN/WH

309

Right Park Lamp Supply Voltage

13

YE

1618

Trailer Left Rear Turn/Stop Lamp Supply Voltage (V92)

14

GY

120

Fuel Pump Supply Voltage

15

L-BU

1320

CHMSL Supply Voltage

16

RD/WH

1740

Battery Positive Voltage (MH6)

17

RD/WH

2440

Battery Positive Voltage

18

PK/WH

1970

Headlamp Low Beam Relay Control

19

D-GN/WH

1317

Fog Lamp Relay Control (T96)

20

YE

5187

Right Trailer Turn Signal Lamp (V92)

21

OG

5186

Left Trailer Turn Signal Lamp (V92)

22

PU

709

Left Park Lamp Supply Voltage

23

PU

92

Windshield Wiper Motor High Speed

24

D-GN

95

Windshield Wiper Motor Low Speed

25

OG

2268

Windshield Washer Relay Control

26

--

--

Not Used

27

TN

28

Horn Relay Control

28

PK

1139

Ignition 1 Voltage

29

BN

4

Accessory Voltage

30

PK

1439

Ignition 1 Voltage

31

TN

860

Front Windshield Wiper Switch High Signal

32

GY

91

Windshield Wiper Switch Signal 2

33

RD/WH

2540

Battery Positive Voltage

34

RD/WH

2640

Battery Positive Voltage (C69)

35

RD/WH

2740

Battery Positive Voltage

36

YE

243

Accessory Voltage

YE

243

Accessory Voltage

37

--

--

Not Used

38

PU

544

Headlamp Low Beam Supply Voltage

39

WH

17

Stop Lamp Switch Signal

40

WH

1310

EVAP Canister Vent Solenoid Control

41

TN

2759

Low Reference

TN

2759

Low Reference

42

BN/WH

419

MIL Control

43

RD/BK

242

Battery Positive Voltage

44

RD/BK

442

Battery Positive Voltage

45

--

--

Not Used

46

RD/BK

842

Battery Positive Voltage

47

RD/BK

642

Battery Positive Voltage

A

RD/WH

2540

Battery Positive Voltage

B

L-GN

2270

Rear Window Washer Relay Control

C

RD/BK

142

Battery Positive Voltage

Fuse Block - Underhood C3

Connector Part Information

  • OEM: 6098-4937
  • Service: See Catalog
  • Description: 22-Way F Connector Assembly

Terminal Part Information

  • Pins: 1, 2, 12, 22
  • Terminal/Tray: 7116-4122-02/10
  • Core/Insulation Crimp: A/B
  • Release Tool/Test Probe: 12094430/J-35616-42 (RD)
  • Pins: 3, 4, 4, 5, 6, 8, 9, 13, 14, 15, 16, 19, 20, 21, 7, 17, 18
  • Terminal/Tray: 15304711/8
  • Core/Insulation Crimp: Pins 3, 4, 4, 5, 6, 8, 9, 13, 14, 15, 16, 19, 20, 21 - E/A
  • Core/Insulation Crimp: Pins 7, 17, 18 - 2/A
  • Release Tool/Test Probe: 15315247/J-35616-4A (PU)

Fuse Block - Underhood C3

Pin

Wire Color

Circuit No.

Function

1

L-BU

409

Cooling Fan Motor Supply Voltage

2

BK

1250

Ground

3

L-BU/WH

1314

Left Front Turn Signal Lamp Supply Voltage

4

PU

34

Front Fog Lamp Supply Voltage (T96)

PU

34

Front Fog Lamp Supply Voltage (T96)

5

D-BU/WH

1315

Right Front Turn Signal Lamp Supply Voltage

6

BN/WH

309

Right Park Lamp Supply Voltage

7

D-GN

29

Horn Control

8

YE

712

Left Headlamp Low Beam Supply Voltage

9

GY

589

DRL Resistor Supply Voltage

10-11

--

--

Not Used

12

GY

532

Cooling Fan Motor Supply Voltage

13

PK/BK

109

Hood Ajar Switch Signal (AP3)

14

PU

5531

Hood Closed Switch Signal (AP3)

15

GY

589

DRL Resistor Supply Voltage

16

PU

709

Left Park Lamp Supply Voltage

17

D-GN

392

Rear Window Washer Pump Control

18

D-BU

298

Rear Window Washer Pump Control

19

TN/WH

312

Right Headlamp Low Beam Supply Voltage

20

D-GN/WH

711

Left Headlamp High Beam Supply Voltage

21

L-GN/BK

311

Right Headlamp High Beam Supply Voltage

22

WH

504

Cooling Fan Low Reference

Fuse Block - I/P C1


Object Number: 1757912  Size: CH

Connector Part Information

  • OEM: 6098-5228
  • Service: 88988709
  • Description: 47-Way F LIF Series (GY)

Terminal Part Information

  • Pins: 46
  • Terminal/Tray: 7116-4122-02/10
  • Core/Insulation Crimp: A/B
  • Release Tool/Test Probe: 12094430/J-35616-42 (RD)
  • Pins: 3, 13, 13, 14, 24, 25
  • Terminal/Tray: 15304711/8
  • Core/Insulation Crimp: Pins 3, 13, 13 - E/A
  • Core/Insulation Crimp: Pins 14, 24, 25 - 2/A
  • Release Tool/Test Probe: 15315247/J-35616-4A (PU)
  • Pins: 4, 5, 6, 8, 9, 15, 16, 18, 19, 20, 21, 21, 27, 28, 28, 28, 28, 29, 37, 39, 7, 32, 38
  • Terminal/Tray: 12191812/19
  • Core/Insulation Crimp: Pins 4, 5, 6, 8, 9, 15, 16, 18, 19, 20, 21, 21, 27, 28, 28, 28, 28, 29, 37, 39 - E/C
  • Core/Insulation Crimp: Pins 7, 32, 38 - C/A
  • Release Tool/Test Probe: 15315247/J-35616-2A (GY)

Fuse Block - I/P C1

Pin

Wire Color

Circuit No.

Function

1-2

--

--

Not Used

3

RD/WH

1640

Battery Positive Voltage

4

PK

1139

Ignition 1 Voltage

5

RD/WH

3340

Battery Positive Voltage

6

L-BU

5986

Serial Data Communication Enable

7

OG

1732

Courtesy Lamps Supply Voltage

8

PU/WH

1382

LED Dimming Signal

9

PU/WH

7005

LED Dimming Signal (K34)

10-12

--

--

Not Used

13

RD/WH

2340

Battery Positive Voltage (UUC)

14

RD/WH

1040

Battery Positive Voltage

15

PK

1139

Ignition 1 Voltage

16

TN

28

Horn Relay Control

17

--

--

Not Used

18

L-GN

2270

Rear Window Washer Relay Control

19

RD/WH

1040

Battery Positive Voltage

20

GY

391

Rear Window Wiper Switch Signal

21

RD/WH

1840

Battery Positive Voltage

RD/WH

1840

Battery Positive Voltage

22-23

--

--

Not Used

24

RD/WH

2040

Battery Positive Voltage

25

BK

1450

Ground

26

--

--

Not Used

27

PK

1139

Ignition 1 Voltage

28

YE

343

Accessory Voltage (UUC)

29

RD/WH

840

Battery Positive Voltage

30-31

--

--

Not Used

32

RD/WH

1240

Battery Positive Voltage

33-36

--

--

Not Used

37

D-GN

5060

Low Speed GMLAN Serial Data

38

RD/WH

240

Battery Positive Voltage

39

WH

193

Rear Defog Relay Control

40-45

--

--

Not Used

46

RD/BK

442

Battery Positive Voltage

47

--

--

Not Used

Fuse Block - I/P C2


Object Number: 1845354  Size: CH

Connector Part Information

  • OEM: 7283-5600-40
  • Service: See Catalog
  • Description: 6-Way F (L-GY)

Terminal Part Information

  • Pins: 4, 4
  • Terminal/Tray: 7116-4121-02/10
  • Core/Insulation Crimp: C/B
  • Release Tool/Test Probe: 12094430/J-35616-42 (RD)
  • Pins: 1, 3, 2
  • Terminal/Tray: 7116-4122-02/10
  • Core/Insulation Crimp: Pins 1, 3 - D/G
  • Core/Insulation Crimp: Pins 2 - A/B
  • Release Tool/Test Probe: 12094430/J-35616-42 (RD)

Fuse Block - I/P C2

Pin

Wire Color

Circuit No.

Function

1

RD/BK

642

Battery Positive Voltage

2

RD/BK

442

Battery Positive Voltage

3

RD/BK

842

Battery Positive Voltage

4

RD/BK

542

Battery Positive Voltage (AG1)

5-6

--

--

Not Used

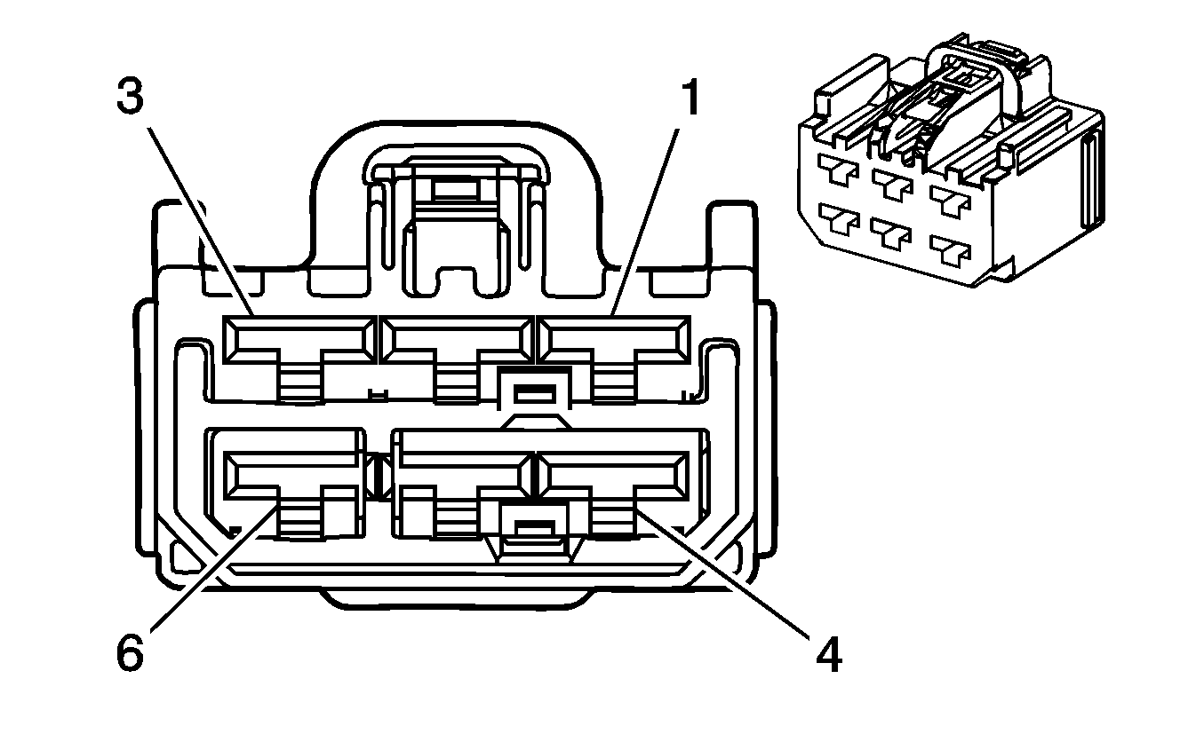
Fuse Block - I/P C3


Object Number: 1757913  Size: CH

Connector Part Information

  • OEM: 6098-5229
  • Service: 88988710
  • Description: 50-Way F LIF Series (BK)

Terminal Part Information

  • Pins: 1, 1, 34, 34
  • Terminal/Tray: 15304713/19
  • Core/Insulation Crimp: See Terminal Repair Kit
  • Release Tool/Test Probe: 15315247/J-35616-4A (PU)
  • Pins: 43, 44, 46, 47, C
  • Terminal/Tray: 7116-4121-02/10
  • Core/Insulation Crimp: C/B
  • Release Tool/Test Probe: 12094430/J-35616-42 (RD)
  • Pins: 45
  • Terminal/Tray: 7116-4122-02/10
  • Core/Insulation Crimp: D/G
  • Release Tool/Test Probe: 12094430/J-35616-42 (RD)
  • Pins: 2, 3, 11, 12, 13, 23, 24, 35, A, 14, 14, 22, B, B
  • Terminal/Tray: 15304711/8
  • Core/Insulation Crimp: Pins 2, 3, 11, 12, 13, 23, 24, 35, A - 2/A
  • Core/Insulation Crimp: Pins 14, 14, 22, B, B - E/A
  • Release Tool/Test Probe: 15315247/J-35616-4A (PU)
  • Pins: 4, 6, 6, 8, 9, 15, 18, 19, 20, 21, 27, 28, 29, 31, 32, 36, 37, 38, 41, 42, 5, 16, 16, 30, 39, 40
  • Terminal/Tray: 12191812/19
  • Core/Insulation Crimp: Pins 4, 6, 6, 8, 9, 15, 18, 19, 20, 21, 27, 28, 29, 31, 32, 36, 37, 38, 41, 42 - E/C
  • Core/Insulation Crimp: Pins 5, 16, 16, 30, 39, 40 - C/A
  • Release Tool/Test Probe: 15315247/J-35616-2A (GY)

Fuse Block - I/P C3

Pin

Wire Color

Circuit No.

Function

1

TN

294

Door Lock Actuator Unlock Control

TN

294

Door Lock Actuator Unlock Control

2

TN

294

Door Lock Actuator Unlock Control

3

TN

694

Driver Door Lock Actuator Unlock Control

4

TN

707

RAP Relay Coil Supply Voltage

5

L-BU

1320

CHMSL Supply Voltage

6

L-BU

1320

CHMSL Supply Voltage

L-BU

1320

CHMSL Supply Voltage

7

--

--

Not Used

8

YE

356

Driver Door Lock Relay Unlock Control

9

YE

5704

Endgate Latch Relay Coil Control

10

--

--

Not Used

11

RD/WH

2140

Battery Positive Voltage

12

GY

295

Door Lock Actuator Lock Control

13

YE

643

Accessory Voltage

14

RD/WH

1340

Battery Positive Voltage

RD/WH

1340

Battery Positive Voltage

15

PK

1139

Ignition 1 Voltage

16

D-GN

5060

Low Speed GMLAN Serial Data

D-GN

5060

Low Speed GMLAN Serial Data (U2K)

17

--

--

Not Used

18

L-GN

2270

Rear Window Washer Relay Control

19

GY

391

Rear Window Wiper Switch Signal

20

D-GN

5706

Endgate Latch Relay Supply Voltage

21

RD/WH

2340

Battery Positive Voltage

22

L-BU

6128

Rear Closure Unlatch Motor Unlatch Control

23

GY

295

Door Lock Actuator Lock Control

24

RD/WH

240

Battery Positive Voltage

25-26

--

--

Not Used

27

TN

28

Horn Relay Control

28

L-BU

5986

Serial Data Communication Enable

29

L-GN

2270

Rear Window Washer Relay Control

30

RD/WH

440

Battery Positive Voltage

31

RD/WH

2840

Battery Positive Voltage

32

RD/WH

1840

Battery Positive Voltage

33

--

--

Not Used

34

GY

295

Door Lock Actuator Lock Control

GY

295

Door Lock Actuator Lock Control

35

RD/WH

340

Battery Positive Voltage

36

PK

1139

Ignition 1 Voltage

37

TN

28

Horn Relay Control

38

L-BU

5986

Serial Data Communication Enable

39

OG

1732

Courtesy Lamps Supply Voltage

40

RD/WH

1240

Battery Positive Voltage

41

L-BU

5921

Driver Door Unlock Relay Control

42

L-GN

1391

Driver Door Unlock Relay Control

43

RD/BK

742

Battery Positive Voltage

44

YE

143

Accessory Voltage

45

RD/BK

242

Battery Positive Voltage

46

PU

293

Rear Defog Element Supply Voltage

47

RD/WH

2040

Battery Positive Voltage

A

RD/WH

640

Battery Positive Voltage

B

RD/WH

840

Battery Positive Voltage (ASF, KA1)

RD/WH

840

Battery Positive Voltage (Except ATY , KA1)

C

YE

143

Accessory Voltage