GM Service Manual Online
For 1990-2009 cars only
Connector 1: C101 Body Harness to the Forward Lamp Harness
Connector 2: C102 Body Harness to the Battery Cable Harness
Connector 3: C103 LF Wheel Speed Sensor Harness to the Body Harness
Connector 4: C104 RF Wheel Speed Sensor Harness to the Body Harness
Connector 5: C105 Engine Harness to the Fuel Injector Harness
Connector 6: C106 Body Harness to the Engine Harness
Connector 7: C108 Forward Lamp Harness to the Right Cooling Fan Harness
Connector 8: C109 Forward Lamp Harness to the Left Headlamp Harness
Connector 9: C110 Forward Lamp Harness to the Right Headlamp Harness
Connector 10: C202 Console Harness to the I/P Harness (UUC w/C69)
Connector 11: C203 I/P Harness to the Console Harness (C69 w/o UUC)
Connector 12: C204 I/P Harness to the Body Harness
Connector 13: C206 I/P Harness to the Body Harness
Connector 14: C207 Console Harness to the I/P Harness (UUC w/o C69)
Connector 15: C210 I/P Harness to the Body Harness
Connector 16: C214 Passenger Airbag Jumper Harness to the I/P Harness
Connector 17: C216 I/P Harness to the HVAC Harness
Connector 18: C218 I/P Harness to the Body Harness
Connector 19: C219 Body Harness to the I/P Harness
Connector 20: C223 Sunload/Ambient Light Sensor Harness to the I/P Harness
Connector 21: C226 I/P Harness to the Shifter Jumper Harness
Connector 22: C275 I/P Harness to the Steering Wheel Module Coil Harness
Connector 23: C276 I/P Harness to the Steering Wheel Module Coil Harness
Connector 24: C277 Steering Wheel Controls Harness to the Steering Wheel Module Coil Harness
Connector 25: C305 Console Harness to the Body Harness
Connector 26: C307 Body Harness to the I/P Harness (C69)
Connector 27: C308 Body Harness to the Power Seat Harness (AG1 w/o KA1)
Connector 28: C308 Body Harness to the Driver Seat Harness (KA1)
Connector 29: C309 Body Harness to the Passenger Seat Harness (w/o KA1)
Connector 30: C309 Body Harness to the Passenger Seat Harness (KA1)
Connector 31: C310 Body Harness to the Fuel Sender Harness
Connector 32: C311 Headliner Harness to the Sunshade Harness (UUC)
Connector 33: C312 Driver Seat Harness to the Power Seat Harness (AG1 w/KA1)
Connector 34: C313 Passenger Presence Harness to the Passenger Seat Harness
Connector 35: C314 Headliner Harness to the Sunroof Harness (CF5)
Connector 36: C400 Body Harness to the Chassis Harness
Connector 37: C403 Body Harness to the Left Tail Lamp Harness
Connector 38: C404 Body Harness to the Right Tail Lamp Harness
Connector 39: C409 Body Harness to the Trailer Jumper Harness (V92)
Connector 40: C410 Trailer Harness to the Trailer Jumper Harness (V92)
Connector 41: C412 Headliner Harness to the I/P Harness (UUC)
Connector 42: C415 Headliner Harness to the Body Harness
Connector 43: C417 Headliner Harness to the Body Harness (U3U)
Connector 44: C419 Body Harness to the Rear HVAC Harness (C69)
Connector 45: C420 Body Harness to the Left Inflatable Restraint Roof Rail Module Harness (ASF)
Connector 46: C421 Body Harness to the Right Inflatable Restraint Roof Rail Module Harness (ASF)
Connector 47: C500 Body Harness to the LF Door Harness
Connector 48: C600 Body Harness to the RF Door Harness
Connector 49: C700 Body Harness to the LR Door Harness
Connector 50: C800 Body Harness to the RR Door Harness
Connector 51: C900 Body Harness to the Liftgate Harness
Connector 52: C901 Body Harness to the Liftgate Harness
Connector 53: C906 Licence Lamp Harness to the Liftgate Harness

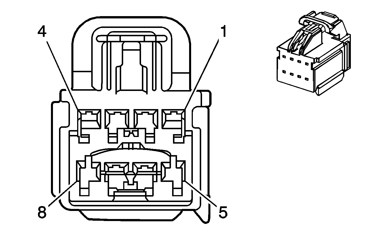
C101 Body Harness to the Forward Lamp Harness


Object Number: 1420541  Size: CH

Object Number: 1420650  Size: CH

Connector Part Information

  • OEM: 7283-5684-10
  • Service: See Catalog
  • Description: 8-Way F Receptacle 1.5 Sealed (D-GY)

Connector Part Information

  • OEM: 7282-5684-10
  • Service: See Catalog
  • Description: 8-Way M 1.5 Sealed (D-GY)

Terminal Part Information

  • Pins: 1, 2, 3, 4, 7, 8
  • Terminal/Tray: 7116-4102-08/9
  • Core/Insulation Crimp: E/1
  • Release Tool/Test Probe: 12094430/J-35616-2A (GY)
  • Pins: 6
  • Terminal/Tray: 7116-4103-08/9
  • Core/Insulation Crimp: E/1
  • Release Tool/Test Probe: 12094430/J-35616-2A (GY)

Terminal Part Information

  • Pins: 1, 2, 3, 4, 7, 8
  • Terminal/Tray: 7114-4102-08/9
  • Core/Insulation Crimp: E/1
  • Release Tool/Test Probe: 12094430/J-35616-3 (GY)
  • Pins: 6
  • Terminal/Tray: 7114-4103-08/9
  • Core/Insulation Crimp: E/1
  • Release Tool/Test Probe: 12094430/J-35616-3 (GY)

C101 Body Harness to the Forward Lamp Harness

Pin

Wire Color

Circuit No.

Function

Pin

Wire Color

Circuit No.

Function

1

L-GN/BK

735

Ambient Air Temperature Sensor Signal (UH9)

1

L-GN/BK

735

Ambient Air Temperature Sensor Signal (UH9)

2

YE

61

Low Reference (UH9)

2

YE

61

Low Reference (UH9)

3

TN/OG

5045

Discriminating Sensor - Low Reference

3

TN/OG

5045

Discriminating Sensor - Low Reference

4

YE

354

Discriminating Sensor - Signal

4

YE

354

Discriminating Sensor - Signal

5

--

--

Not Used

5

--

--

Not Used

6

BK

1250

Ground

6

BK

1250

Ground

7

GY

5600

Right Front Discriminating Sensor Low Reference

7

GY

5600

Right Front Discriminating Sensor Low Reference

8

D-GN

1409

Discriminating Sensor - Right - Signal

8

D-GN

1409

Discriminating Sensor - Right - Signal

C102 Body Harness to the Battery Cable Harness


Object Number: 888601  Size: CH

Object Number: 897985  Size: CH

Connector Part Information

  • OEM: 7283-5548-30
  • Service: 88953306
  • Description: 2-Way F YESC Weather Pack (BK)

Connector Part Information

  • OEM: 7282-5548-30
  • Service: 88953303
  • Description: 2-Way M YESC Weather Pack (BK)

Terminal Part Information

  • Terminal/Tray: 7116-4102-08/9
  • Core/Insulation Crimp: E/1
  • Release Tool/Test Probe: 12094430/J-35616-2A (GY)

Terminal Part Information

  • Terminal/Tray: 7114-4103-08/9
  • Core/Insulation Crimp: E/1
  • Release Tool/Test Probe: 12094430/J-35616-3 (GY)

C102 Body Harness to the Battery Cable Harness

Pin

Wire Color

Circuit No.

Function

Pin

Wire Color

Circuit No.

Function

1

BK

50

Ground

1

BK

50

Ground

2

--

--

Not Used

2

--

--

Not Used

C103 LF Wheel Speed Sensor Harness to the Body Harness


Object Number: 635009  Size: CH

Object Number: 333041  Size: CH

Connector Part Information

  • OEM: 12052641
  • Service: 12102747
  • Description: 2-Way F Metri-Pack 150 Series (BK)

Connector Part Information

  • OEM: 12162000
  • Service: 12167120
  • Description: 2-Way M Metri-Pack 150 Series (BK)

Terminal Part Information

  • Terminal/Tray: 12048074/2
  • Core/Insulation Crimp: E/1
  • Release Tool/Test Probe: 12094429/J-35616-2A (GY)

Terminal Part Information

  • Terminal/Tray: 12045773/2
  • Core/Insulation Crimp: E/1
  • Release Tool/Test Probe: 12094429/J-35616-3 (GY)

C103 LF Wheel Speed Sensor Harness to the Body Harness

Pin

Wire Color

Circuit No.

Function

Pin

Wire Color

Circuit No.

Function

A

YE

873

Left Front Wheel Speed Sensor Low Reference

A

YE

873

Left Front Wheel Speed Sensor Low Reference

B

L-BU

830

Left Front Wheel Speed Sensor Signal

B

L-BU

830

Left Front Wheel Speed Sensor Signal

C104 RF Wheel Speed Sensor Harness to the Body Harness


Object Number: 635009  Size: CH

Object Number: 333041  Size: CH

Connector Part Information

  • OEM: 12052641
  • Service: 12102747
  • Description: 2-Way F Metri-Pack 150 Series (BK)

Connector Part Information

  • OEM: 12162000
  • Service: 12167120
  • Description: 2-Way M Metri-Pack 150 Series (BK)

Terminal Part Information

  • Terminal/Tray: 12048074/2
  • Core/Insulation Crimp: E/1
  • Release Tool/Test Probe: 12094429/J-35616-2A (GY)

Terminal Part Information

  • Terminal/Tray: 12045773/2
  • Core/Insulation Crimp: E/1
  • Release Tool/Test Probe: 12094429/J-35616-3 (GY)

C104 RF Wheel Speed Sensor Harness to the Body Harness

Pin

Wire Color

Circuit No.

Function

Pin

Wire Color

Circuit No.

Function

A

TN

833

Right Front Wheel Speed Sensor Low Reference

A

TN

833

Right Front Wheel Speed Sensor Low Reference

B

D-GN

872

Right Front Wheel Speed Sensor Signal

B

D-GN

872

Right Front Wheel Speed Sensor Signal

C105 Engine Harness to the Fuel Injector Harness


Object Number: 1849822  Size: CH

Object Number: 1480280  Size: CH

Connector Part Information

  • OEM: 1-967189-1
  • Service: See Catalog
  • Description: 10-Way F Timer Junior Power Timer Sealed (BK)

Connector Part Information

  • OEM: 1-962352-1
  • Service: See Catalog
  • Description: 10-Way M Junior Power Timer Series Sealed (BK)

Terminal Part Information

  • Terminal/Tray: 4-964286-1/16
  • Core/Insulation Crimp: E/1
  • Release Tool/Test Probe: 12093647/J-35616-4A (PU)

Terminal Part Information

  • Terminal/Tray: See Terminal Repair Kit
  • Core/Insulation Crimp: See Terminal Repair Kit
  • Release Tool/Test Probe: See Terminal Repair Kit

C105 Engine Harness to the Fuel Injector Harness

Pin

Wire Color

Circuit No.

Function

Pin

Wire Color

Circuit No.

Function

1

PK/BK

5291

Ignition 1 Voltage

1

WH

5291

Ignition 1 Voltage

2

PK/BK

5292

Ignition 1 Voltage

2

WH

5292

Ignition 1 Voltage

3

TN

1744

Fuel Injector 1 Control

3

TN

1744

Fuel Injector 1 Control

4

PK/BK

1746

Fuel Injector 3 Control

4

PK/BK

1746

Fuel Injector 3 Control

5

TN/WH

845

Fuel Injector 5 Control

5

TN/WH

845

Fuel Injector 5 Control

6

L-GN/BK

1745

Fuel Injector 2 Control

6

L-GN/BK

1745

Fuel Injector 2 Control

7

L-BU/BK

844

Fuel Injector 4 Control

7

L-BU/BK

844

Fuel Injector 4 Control

8

YE/BK

846

Fuel Injector 6 Control

8

YE/BK

846

Fuel Injector 6 Control

9-10

--

--

Not Used

9-10

--

--

Not Used

C106 Body Harness to the Engine Harness


Object Number: 888600  Size: CH

Object Number: 823284  Size: CH

Connector Part Information

  • OEM: 7283-5546-30
  • Service: See Catalog
  • Description: 12-Way F 1.5 Series Sealed (BK)

Connector Part Information

  • OEM: 7282-5545-30
  • Service: See Catalog
  • Description: 12-Way M 1.5 Series Sealed (BK)

Terminal Part Information

  • Terminal/Tray: 7116-4102-08/9
  • Core/Insulation Crimp: E/1
  • Release Tool/Test Probe: 12094430/J-35616-2A (GY)

Terminal Part Information

  • Terminal/Tray: 7114-4102-08/9
  • Core/Insulation Crimp: E/1
  • Release Tool/Test Probe: 12094430/J-35616-3 (GY)

C106 Body Harness to the Engine Harness

Pin

Wire Color

Circuit No.

Function

Pin

Wire Color

Circuit No.

Function

1

PU

1589

Fuel Level Sensor Signal [- Primary]

1

PU

1589

Fuel Level Sensor Signal [- Primary]

2

PU

1272

Low Reference

2

PU

1272

Low Reference

3

L-BU

1162

APP Sensor 2 Signal

3

L-BU

1162

APP Sensor 2 Signal

4

WH/BK

1164

5-Volt Reference

4

WH/BK

1164

5-Volt Reference

5

BN

1271

Low Reference

5

BN

1271

Low Reference

6

D-GN

890

Fuel Tank Pressure Sensor Signal

6

D-GN

890

Fuel Tank Pressure Sensor Signal

7

GY

2709

5-Volt Reference

7

GY

2709

5-Volt Reference

8

D-BU

1161

APP Sensor 1 Signal

8

D-BU

1161

APP Sensor 1 Signal

9

TN

1274

5-Volt Reference

9

TN

1274

5-Volt Reference

10

--

--

Not Used

10

--

--

Not Used

11

TN/BK

2500

High Speed GMLAN Serial Data Bus+

11

TN/BK

2500

High Speed GMLAN Serial Data Bus+

12

TN

2501

High Speed GMLAN Serial Data Bus-

12

TN

2501

High Speed GMLAN Serial Data Bus-

C108 Forward Lamp Harness to the Right Cooling Fan Harness


Object Number: 811182  Size: CH

Object Number: 1283862  Size: CH

Connector Part Information

  • OEM: 7283-5596-10
  • Service: 88953307
  • Description: 2-Way F YESC/USCAR Class III (D-GY)

Connector Part Information

  • OEM: 7282-5596-10
  • Service: 88953304
  • Description: 2-Way M 250 Sealed (D-GY)

Terminal Part Information

  • Terminal/Tray: 7116-4142-02/10
  • Core/Insulation Crimp: A/3
  • Release Tool/Test Probe: 12094430/J-35616-42 (RD)

Terminal Part Information

  • Terminal/Tray: 7114-4142-02/10
  • Core/Insulation Crimp: A/3
  • Release Tool/Test Probe: 12094430/J-35616-43 (RD)

C108 Forward Lamp Harness to the Right Cooling Fan Harness

Pin

Wire Color

Circuit No.

Function

Pin

Wire Color

Circuit No.

Function

1

L-BU

409

Cooling Fan Motor Supply Voltage

1

L-BU

409

Cooling Fan Motor Supply Voltage

2

BK

1250

Ground

2

BK

1250

Ground

C109 Forward Lamp Harness to the Left Headlamp Harness


Object Number: 647974  Size: CH

Object Number: 1334521  Size: CH

Connector Part Information

  • OEM: 15326822
  • Service: 19151498
  • Description: 5-Way F GT 150 Sealed 4.0 (BK)

Connector Part Information

  • OEM: 15326827
  • Service: 89046648
  • Description: 5-Way M GT 150 Series Sealed (BK)

Terminal Part Information

  • Terminal/Tray: 12191819/8
  • Core/Insulation Crimp: E/A
  • Release Tool/Test Probe: 15315247/J-35616-2A (GY)

Terminal Part Information

  • Terminal/Tray: See Terminal Repair Kit
  • Core/Insulation Crimp: See Terminal Repair Kit
  • Release Tool/Test Probe: See Terminal Repair Kit

C109 Forward Lamp Harness to the LH Headlamp Harness

Pin

Wire Color

Circuit No.

Function

Pin

Wire Color

Circuit No.

Function

A

BK

1250

Ground

A

BK

1250

Ground

B

D-GN/WH

711

Left Headlamp High Beam Supply Voltage

B

WH

711

Left Headlamp High Beam Supply Voltage

C

YE

712

Left Headlamp Low Beam Supply Voltage

C

D-GN

712

Left Headlamp Low Beam Supply Voltage

D

L-BU/WH

1314

Left Front Turn Signal Lamp Supply Voltage

D

D-BU

1314

Left Front Turn Signal Lamp Supply Voltage

E

PU

709

Left Park Lamp Supply Voltage

E

L-GN

709

Left Park Lamp Supply Voltage

C110 Forward Lamp Harness to the Right Headlamp Harness


Object Number: 647974  Size: CH

Object Number: 1334521  Size: CH

Connector Part Information

  • OEM: 15326822
  • Service: 19151498
  • Description: 5-Way F GT 150 Sealed 4.0 (BK)

Connector Part Information

  • OEM: 15326827
  • Service: 89046648
  • Description: 5-Way M GT 150 Series Sealed (BK)

Terminal Part Information

  • Terminal/Tray: 12191819/8
  • Core/Insulation Crimp: E/A
  • Release Tool/Test Probe: 15315247/J-35616-2A (GY)

Terminal Part Information

  • Terminal/Tray: See Terminal Repair Kit
  • Core/Insulation Crimp: See Terminal Repair Kit
  • Release Tool/Test Probe: See Terminal Repair Kit

C110 Forward Lamp Harness to the Right Headlamp Harness

Pin

Wire Color

Circuit No.

Function

Pin

Wire Color

Circuit No.

Function

A

BK

1250

Ground

A

BK

1250

Ground

B

L-GN/BK

311

Right Headlamp High Beam Supply Voltage

B

WH

311

Right Headlamp High Beam Supply Voltage

C

TN/WH

312

Right Headlamp Low Beam Supply Voltage

C

D-GN

312

Right Headlamp Low Beam Supply Voltage

D

D-BU/WH

1315

Right Front Turn Signal Lamp Supply Voltage

D

D-BU

1315

Right Front Turn Signal Lamp Supply Voltage

E

BN/WH

309

Right Park Lamp Supply Voltage

E

L-GN

309

Right Park Lamp Supply Voltage

C202 Console Harness to the I/P Harness (UUC w/C69)


Object Number: 1849800  Size: CH

Object Number: 1849795  Size: CH

Connector Part Information

  • OEM: 7283-8391-40
  • Service: See Catalog
  • Description: 26-Way F Receptacle 1.5 2.8 6.3 (L-GY)

Connector Part Information

  • OEM: 7282-8391-40
  • Service: See Catalog
  • Description: 26-Way M 6.3 Unsealed (L-GY)

Terminal Part Information

  • Pins: 2, 3, 4, 5, 6, 7, 10, 11, 12, 13, 14, 15
  • Terminal/Tray: 7116-4100-08/9
  • Core/Insulation Crimp: E/C
  • Release Tool/Test Probe: 12094430/J-35616-2A (GY)

Terminal Part Information

  • Pins: 2, 3, 4, 5, 6, 7, 10, 11, 12, 13, 14, 15
  • Terminal/Tray: 7114-4100-08/9
  • Core/Insulation Crimp: E/C
  • Release Tool/Test Probe: 15315247/J-35616-3 (GY)

C202 Console Harness to the I/P Harness (UUC w/C69)

Pin

Wire Color

Circuit No.

Function

Pin

Wire Color

Circuit No.

Function

1

--

--

Not Used

1

--

--

Not Used

2

GY

8

Instrument Panel Lamp Supply Voltage

2

GY

8

Instrument Panel Lamp Supply Voltage

3

BARE

5346

Video Drain Wire

3

BARE

5346

Video Drain Wire

4

PU

2056

Auxiliary Video High Signal

4

PU

2056

Auxiliary Video High Signal

5

WH

2058

Auxiliary Audio Right Signal

5

WH

2058

Auxiliary Audio Right Signal

6

YE

2059

Auxiliary Audio Left Signal

6

YE

2059

Auxiliary Audio Left Signal

7

BARE

5345

Drain Wire

7

BARE

5345

Drain Wire

8-9

--

--

Not Used

8-9

--

--

Not Used

10

OG

2615

Auxiliary Mode Door Control

10

OG

2615

Auxiliary Mode Door Control

11

GY

720

Low Reference

11

GY/BK

1798

Low Reference

GY

720

Low Reference

12

GY

597

5-Volt Reference

12

GY

596

5-Volt Reference

GY

597

5-Volt Reference

13

YE

2214

Auxiliary Air Temperature Door Control

13

YE

2214

Auxiliary Air Temperature Door Control

14

BK/WH

1551

Ground

14

BK/WH

1551

Ground

15

PU/WH

760

Auxiliary Blower Motor Speed Control

15

PU/WH

760

Auxiliary Blower Motor Speed Control

16-26

--

--

Not Used

16-26

--

--

Not Used

C203 I/P Harness to the Console Harness (C69 w/o UUC)


Object Number: 1849808  Size: CH

Object Number: 1849807  Size: CH

Connector Part Information

  • OEM: 7283-3441-40
  • Service: See Catalog
  • Description: 8-Way F 1.5 Unsealed (L-GY)

Connector Part Information

  • OEM: 7282-3441-40
  • Service: See Catalog
  • Description: 8-Way M 1.5 Unsealed (L-GY)

Terminal Part Information

  • Terminal/Tray: 7116-4100-08/9
  • Core/Insulation Crimp: E/C
  • Release Tool/Test Probe: 12094430/J-35616-2A (GY)

Terminal Part Information

  • Terminal/Tray: 7114-4100-08/9
  • Core/Insulation Crimp: E/C
  • Release Tool/Test Probe: 15315247/J-35616-3 (GY)

C203 I/P Harness to the Console Harness (C69 w/o UUC)

Pin

Wire Color

Circuit No.

Function

Pin

Wire Color

Circuit No.

Function

1

GY

8

Instrument Panel Lamp Supply Voltage

1

GY

8

Instrument Panel Lamp Supply Voltage

2

BK/WH

1551

Ground

2

BK/WH

1551

Ground

3

OG

2615

Auxiliary Mode Door Control

3

OG

2615

Auxiliary Mode Door Control

4

GY

720

Low Reference

4

GY

720

Low Reference

5

--

--

Not Used

5

--

--

Not Used

6

GY

597

5-Volt Reference

6

GY

597

5-Volt Reference

7

YE

2214

Auxiliary Air Temperature Door Control

7

YE

2214

Auxiliary Air Temperature Door Control

8

PU/WH

760

Auxiliary Blower Motor Speed Control

8

PU/WH

760

Auxiliary Blower Motor Speed Control

C204 I/P Harness to the Body Harness


Object Number: 594473  Size: CH

Object Number: 684931  Size: CH

Connector Part Information

  • OEM: 15336479
  • Service: 15306186
  • Description: 4-Way F Metri-Pack 280 (YE)

Connector Part Information

  • OEM: 15336476
  • Service: 88987998
  • Description: 4-Way M Metri-Pack 280 Series (YE)

Terminal Part Information

  • Terminal/Tray: 12034046/2
  • Core/Insulation Crimp: E/A
  • Release Tool/Test Probe: 12094430/J-35616-4A (PU)

Terminal Part Information

  • Terminal/Tray: 12034047/2
  • Core/Insulation Crimp: E/A
  • Release Tool/Test Probe: 12094430/J-35616-5 (PU)

C204 I/P Harness to the Body Harness

Pin

Wire Color

Circuit No.

Function

Pin

Wire Color

Circuit No.

Function

A1

TN

3021

Steering Wheel Module - Stage1 - High Control

A1

TN

3021

Steering Wheel Module - Stage1 - High Control

A2

BN

3020

Steering Wheel Module - Stage1 - Low Control

A2

BN

3020

Steering Wheel Module - Stage1 - Low Control

B1

WH

3023

Steering Wheel Module - Stage2 - High Control

B1

WH

3023

Steering Wheel Module - Stage2 - High Control

B2

PK

3022

Steering Wheel Module - Stage2 - Low Control

B2

PK

3022

Steering Wheel Module - Stage2 - Low Control

C206 I/P Harness to the Body Harness


Object Number: 1849800  Size: CH

Object Number: 1849795  Size: CH

Connector Part Information

  • OEM: 7283-8391-40
  • Service: See Catalog
  • Description: 26-Way F Receptacle 1.5 2.8 6.3 Unsealed (L-GY)

Connector Part Information

  • OEM: 7282-8391-40
  • Service: See Catalog
  • Description: 26-Way M 6.3 Unsealed (L-GY)

Terminal Part Information

  • Pins: 26
  • Terminal/Tray: 7116-4110-02/9
  • Core/Insulation Crimp: E/C
  • Release Tool/Test Probe: 12094430/J-35616-4A (PU)
  • Pins: 3, 4, 6, 13, 14, 15, 16, 18, 19, 21, 22, 23, 24, 25
  • Terminal/Tray: 7116-4100-08/9
  • Core/Insulation Crimp: E/C
  • Release Tool/Test Probe: 12094430/J-35616-2A (GY)
  • Pins: 9, 11, 12, 10, 13, 14, 15, 16
  • Terminal/Tray: 7116-4101-08/9
  • Core/Insulation Crimp: E/A
  • Release Tool/Test Probe: 12094430/J-35616-2A (GY)

Terminal Part Information

  • Pins: 26
  • Terminal/Tray: 7114-4110-02/9
  • Core/Insulation Crimp: E/C
  • Release Tool/Test Probe: 12094430/J-35616-5 (PU)
  • Pins: 11, 12, 13, 14, 15, 16
  • Terminal/Tray: 7114-4101-08/9
  • Core/Insulation Crimp: E/A
  • Release Tool/Test Probe: 15315247/J-35616-3 (GY)
  • Pins: 3, 4, 6, 13, 14, 15, 16, 18, 19, 21, 22, 23, 24, 25
  • Terminal/Tray: 7114-4100-08/9
  • Core/Insulation Crimp: E/C
  • Release Tool/Test Probe: 15315247/J-35616-3 (GY)

C206 I/P Harness to the Body Harness

Pin

Wire Color

Circuit No.

Function

Pin

Wire Color

Circuit No.

Function

1-2

--

--

Not Used

1-2

--

--

Not Used

3

TN/BK

2500

High Speed GMLAN Serial Data Bus+

3

TN/BK

2500

High Speed GMLAN Serial Data Bus+

4

TN

2501

High Speed GMLAN Serial Data Bus-

4

TN

2501

High Speed GMLAN Serial Data Bus-

5

--

--

Not Used

5

--

--

Not Used

6

OG

5748

Radio Audio Mute Signal (U65)

6

OG

5748

Radio Audio Mute Signal (U65)

7-8

--

--

Not Used

7-8

--

--

Not Used

9

TN

1875

Right Front Speaker Output (+)

9

L-GN/WH

512

Right Front Low Level Audio Signal (+) (U65)

L-GN

200

Right Front Speaker Output (+) (Except U65)

10

TN/WH

1985

5-Volt Reference

10

L-GN

1948

Right Front Low Level Audio Signal (-) (U65)

D-GN

117

Right Front Speaker Output (-) (Except U65)

11

GY

118

Left Front Speaker Output (-)

11

D-GN

1947

Left Front Low Level Audio Signal (-) (U65)

GY

118

Left Front Speaker Output (-) (Except U65)

12

TN

201

Left Front Speaker Output (+)

12

TN

511

Left Front Low Level Audio Signal (+) (U65)

201

Left Front Speaker Output (+) (Except U65)

13

BN

199

Left Rear Speaker Output (+)

13

BN/WH

599

Left Rear Low Level Audio Signal (+) (U65)

BN

199

Left Rear Speaker Output (+) (Except U65)

14

BN

1999

Left Rear Low Level Audio Signal (-)

14

YE

116

Left Rear Speaker Output (-) (Except U65)

BN

1999

Left Rear Low Level Audio Signal (-) (U65)

15

L-BU

115

Right Rear Speaker Output (-)

15

L-BU

115

Right Rear Speaker Output (-) (Except U65)

TN

1946

Right Rear Low Level Audio Signal (-) (U65)

16

D-BU

46

Right Rear Speaker Output (+) (Except UK6)

16

D-BU

546

Right Rear Low Level Audio Signal (+) (U65)

D-BU

46

Right Rear Speaker Output (+) (Except U65)

17

--

--

Not Used

17

--

--

Not Used

18

BARE

1489

Drain Wire (U3U)

18

BARE

1489

Drain Wire (U3U)

19

GY

655

Cellular Microphone Signal (U3U)

19

GY

655

Cellular Microphone Signal (U3U)

20

--

--

Not Used

20

--

--

Not Used

21

TN/WH

372

Remote Radio Audio Output (-) (U2K)

21

TN/WH

372

Remote Radio Audio Output (-) (U2K)

22

BN/WH

367

Remote Radio Left Audio Signal (U2K)

22

BN/WH

367

Remote Radio Left Audio Signal (U2K)

23

GY

388

Remote Radio Right Audio Signal (U2K)

23

GY

388

Remote Radio Right Audio Signal (U2K)

24

D-GN/WH

368

Remote Radio Right Audio Signal (U2K)

24

D-GN/WH

368

Remote Radio Right Audio Signal (U2K)

25

BARE

6759

Discrete Audio Drain Wire (U2K)

25

BARE

6759

Discrete Audio Drain Wire (U2K)

26

D-GN

5060

Low Speed GMLAN Serial Data

26

D-GN

5060

Low Speed GMLAN Serial Data

C207 Console Harness to the I/P Harness (UUC w/o C69)


Object Number: 1849813  Size: CH

Object Number: 1849811  Size: CH

Connector Part Information

  • OEM: 7283-6387-40
  • Service: See Catalog
  • Description: 6-Way F (L-GY)

Connector Part Information

  • OEM: 7282-6561-40
  • Service: See Catalog
  • Description: 6-Way M Unsealed (L-GY)

Terminal Part Information

  • Pins: 6, 1, 2, 3, 4, 5
  • Terminal/Tray: 7116-4720-02/14
  • Core/Insulation Crimp: Pins: 6 : H/H
  • Core/Insulation Crimp: Pins: 1, 2, 3, 4, 5 : J/J
  • Release Tool/Test Probe: 15315247/J-35616-64B (L-BU)

Terminal Part Information

  • Pins: 1, 2, 3, 4, 5
  • Terminal/Tray: 7114-4721-02/14
  • Core/Insulation Crimp: See Terminal Repair Kit
  • Release Tool/Test Probe: 15315247/J-35616-65B (L-BU)
  • Pins: 6
  • Terminal/Tray: 7114-4720-02/14
  • Core/Insulation Crimp: J/J
  • Release Tool/Test Probe: 15315247/J-35616-65B (L-BU)

C207 Console Harness to the I/P Harness (UUC w/o C69)

Pin

Wire Color

Circuit No.

Function

Pin

Wire Color

Circuit No.

Function

1

BARE

5346

Video Drain Wire

1

BARE

5346

Video Drain Wire

2

PU

2056

Auxiliary Video High Signal

2

PU

2056

Auxiliary Video High Signal

3

WH

2058

Auxiliary Audio Right Signal

3

WH

2058

Auxiliary Audio Right Signal

4

YE

2059

Auxiliary Audio Left Signal

4

YE

2059

Auxiliary Audio Left Signal

5

BARE

5345

Drain Wire

5

BARE

5345

Drain Wire

6

--

--

Not Used

6

--

--

Not Used

C210 I/P Harness to the Body Harness


Object Number: 1849800  Size: CH

Object Number: 1849795  Size: CH

Connector Part Information

  • OEM: 7283-8391-40
  • Service: See Catalog
  • Description: 26-Way F Receptacle 1.5 2.8 6.3 Unsealed (L-GY)

Connector Part Information

  • OEM: 7282-8391-40
  • Service: See Catalog
  • Description: 26-Way M 6.3 Unsealed (L-GY)

Terminal Part Information

  • Pins: 26, 17
  • Terminal/Tray: 7116-4110-02/9
  • Core/Insulation Crimp: E/C
  • Release Tool/Test Probe: 12094430/J-35616-4A (PU)
  • Pins: 8
  • Terminal/Tray: 7116-4120-02/9
  • Core/Insulation Crimp: E/B
  • Release Tool/Test Probe: 12094430/J-35616-42 (RD)
  • Pins: 2, 3, 4, 6, 7, 5, 9, 11, 12, 10, 13, 14, 15, 16, 18, 19, 20, 21, 22, 23, 24, 25
  • Terminal/Tray: 7116-4100-08/9
  • Core/Insulation Crimp: E/C
  • Release Tool/Test Probe: 12094430/J-35616-2A (GY)
  • Pins: 1
  • Terminal/Tray: 7116-4121-02/10
  • Core/Insulation Crimp: C/B
  • Release Tool/Test Probe: 12094430/J-35616-42 (RD)

Terminal Part Information

  • Pins: 8
  • Terminal/Tray: 7114-4120-02/9
  • Core/Insulation Crimp: E/B
  • Release Tool/Test Probe: 12094430/J-35616-43 (RD)
  • Pins: 26, 17
  • Terminal/Tray: 7114-4110-02/9
  • Core/Insulation Crimp: E/C
  • Release Tool/Test Probe: 12094430/J-35616-5 (PU)
  • Pins: 2, 3, 4, 6, 7, 5, 9, 11, 12, 10, 13, 14, 15, 16, 18, 19, 20, 21, 22, 23, 24, 25
  • Terminal/Tray: 7114-4100-08/9
  • Core/Insulation Crimp: E/C
  • Release Tool/Test Probe: 15315247/J-35616-3 (GY)
  • Pins: 1
  • Terminal/Tray: 7114-4121-02/9
  • Core/Insulation Crimp: C/B
  • Release Tool/Test Probe: 12094430/J-35616-43 (RD)

C210 I/P Harness to the Body Harness

Pin

Wire Color

Circuit No.

Function

Pin

Wire Color

Circuit No.

Function

1

--

--

Not Used

1

RD/WH

2740

Battery Positive Voltage

2

WH/BK

6436

CAN Bus Low Terminated Serial Data

2

WH/BK

6436

CAN Bus Low Terminated Serial Data

3

BN/WH

6437

CAN Bus High Terminated Serial Data

3

BN/WH

6437

CAN Bus High Terminated Serial Data

4

OG/BK

6045

Steering Angle Sensor Low Reference

4

OG/BK

6045

Steering Angle Sensor Low Reference

5

GY

6044

Steering Angle Sensor 5 Volt Reference

5

GY

6044

Steering Angle Sensor 5 Volt Reference

6

TN/WH

6433

CAN Bus High Serial Data

6

TN/WH

6433

CAN Bus High Serial Data

7

L-GN/BK

6432

CAN Bus Low Serial Data

7

L-GN/BK

6432

CAN Bus Low Serial Data

8

RD/WH

2540

Battery Positive Voltage

8

RD/WH

2540

Battery Positive Voltage

9

L-GN/BK

735

Ambient Air Temperature Sensor Signal

9

L-GN/BK

735

Ambient Air Temperature Sensor Signal

10

YE

61

Low Reference

10

YE

61

Low Reference

11

TN/BK

2500

High Speed GMLAN Serial Data Bus+

11

TN/BK

2500

High Speed GMLAN Serial Data Bus+

TN/BK

2500

High Speed GMLAN Serial Data Bus+

12

TN

2501

High Speed GMLAN Serial Data Bus-

12

TN

2501

High Speed GMLAN Serial Data Bus-

TN

2501

High Speed GMLAN Serial Data Bus-

13

BN/WH

419

MIL Control

13

BN/WH

419

MIL Control

14

L-GN

1499

Driver Mirror Motor Left/Down Control

14

L-GN

1499

Driver Mirror Motor Left/Down Control

15

PU/WH

889

Passenger Mirror Motor Down Control

15

PU/WH

889

Passenger Mirror Motor Down Control

16

OG/WH

881

Passenger Mirror Motor Right Control

16

OG/WH

881

Passenger Mirror Motor Right Control

17

D-GN/WH

817

Vehicle Speed Signal (U3U)

17

D-GN/WH

817

Vehicle Speed Signal (U3U)

18

BN

1271

Low Reference

18

BN

1271

Low Reference

19

D-BU

1161

APP Sensor 1 Signal

19

D-BU

1161

APP Sensor 1 Signal

20

WH/BK

1164

5-Volt Reference

20

WH/BK

1164

5-Volt Reference

21

TN

1274

5-Volt Reference

21

TN

1274

5-Volt Reference

22

L-BU

1162

APP Sensor 2 Signal

22

L-BU

1162

APP Sensor 2 Signal

23

PU

1272

Low Reference

23

PU

1272

Low Reference

24

TN/WH

33

Brake Warning Indicator Control

24

TN/WH

33

Brake Warning Indicator Control

25

YE

88

Driver Mirror Motor Up Control

25

YE

88

Driver Mirror Motor Up Control

26

WH

81

Driver Mirror Motor Right Control

26

WH

81

Driver Mirror Motor Right Control

C214 Passenger Airbag Jumper Harness to the I/P Harness


Object Number: 594473  Size: CH

Object Number: 684931  Size: CH

Connector Part Information

  • OEM: 15336479
  • Service: 15306186
  • Description: 4-Way F Metri-Pack 280 Series (YE)

Connector Part Information

  • OEM: 15336476
  • Service: 88987998
  • Description: 4-Way M Metri-Pack 280 Series (YE)

Terminal Part Information

  • Terminal/Tray: See Terminal Repair Kit
  • Core/Insulation Crimp: See Terminal Repair Kit
  • Release Tool/Test Probe: See Terminal Repair Kit

Terminal Part Information

  • Terminal/Tray: 12034047/2
  • Core/Insulation Crimp: E/A
  • Release Tool/Test Probe: 12094430/J-35616-5 (PU)

C214 Passenger Airbag Jumper Harness to the I/P Harness

Pin

Wire Color

Circuit No.

Function

Pin

Wire Color

Circuit No.

Function

A1

YE

3025

I/P Module - Stage 1 - High Control

A1

YE

3025

I/P Module - Stage 1 - High Control

A2

OG

3024

I/P Module - Stage 1 - Low Control

A2

OG

3024

I/P Module - Stage 1 - Low Control

B1

GY

3027

I/P Module - Stage 2 - High Control

B1

GY

3027

I/P Module - Stage 2 - High Control

B2

PU

3026

I/P Module - Stage 2 - Low Control

B2

PU

3026

I/P Module - Stage 2 - Low Control

C216 I/P Harness to the HVAC Harness


Object Number: 800518  Size: CH

Object Number: 646377  Size: CH

Connector Part Information

  • OEM: 15332177
  • Service: See Catalog
  • Description: 16-Way F GT 150 (BK)

Connector Part Information

  • OEM: 15332182
  • Service: 15306371
  • Description: 16-Way M GT 150 Series (BK)

Terminal Part Information

  • Terminal/Tray: 12191812/19
  • Core/Insulation Crimp: E/C
  • Release Tool/Test Probe: 15315247/J-35616-2A (GY)

Terminal Part Information

  • Terminal/Tray: See Terminal Repair Kit
  • Core/Insulation Crimp: See Terminal Repair Kit
  • Release Tool/Test Probe: See Terminal Repair Kit

C216 I/P Harness to the HVAC Harness

Pin

Wire Color

Circuit No.

Function

Pin

Wire Color

Circuit No.

Function

A

WH

119

Mode Door Control

A

WH

119

Mode Door Control

B

TN/BK

2274

Recirculation Door Control Circuit

B

TN/BK

2274

Recirculation Door Control Circuit

C

TN

2273

Mode Door Control

C

TN

2273

Mode Door Control

D

TN

516

Upper Left Air Temperature Sensor Signal

D

TN

516

Upper Left Air Temperature Sensor Signal

E

TN

520

Lower Right Air Temperature Sensor Signal

E

TN

520

Lower Right Air Temperature Sensor Signal

F

YE

1791

Air Temperature Door Control Low Reference

F

YE

1791

Low Reference

G

PU

1838

Recirculation Door Position Signal

G

PU

1838

Recirculation Door Position Signal

H

L-BU

733

Air Temperature Door Position Signal

H

L-BU

733

Air Temperature Door Position Signal

J

L-GN

2275

Mode Door Position Signal

J

L-GN

2275

Mode Door Position Signal

K

D-GN

1614

Recirculation Door Control

K

D-GN

1614

Recirculation Door Control

L

D-BU

1199

Air Temperature Door Control

L

D-BU

1199

Air Temperature Door Control

M

L-BU

1316

Air Temperature Door Control

M

L-BU

1316

Air Temperature Door Control

N

GY

598

5-Volt Reference

N

GY

598

5-Volt Reference

P

WH

2622

5-Volt Reference

P

WH

2622

5-Volt Reference

R

TN

552

Low Reference

R

TN

552

Low Reference

S

YE

61

Low Reference

S

YE

61

Low Reference

C218 I/P Harness to the Body Harness


Object Number: 594473  Size: CH

Object Number: 684931  Size: CH

Connector Part Information

  • OEM: 15336479
  • Service: 15306186
  • Description: 4-Way F Metri-Pack 280 (YE)

Connector Part Information

  • OEM: 15336476
  • Service: --
  • Description: 4-Way M Metri-Pack 280 (YE)

Terminal Part Information

  • Terminal/Tray: 12034046/2
  • Core/Insulation Crimp: E/A
  • Release Tool/Test Probe: 12094430/J-35616-4A (PU)

Terminal Part Information

  • Terminal/Tray: --
  • Core/Insulation Crimp: --
  • Release Tool/Test Probe: --

C218 I/P Harness to the Body Harness

Pin

Wire Color

Circuit No.

Function

Pin

Wire Color

Circuit No.

Function

A1

YE

3025

I/P Module - Stage 1 - High Control

A1

YE

3025

I/P Module - Stage 1 - High Control

A2

OG

3024

I/P Module - Stage 1 - Low Control

A2

OG

3024

I/P Module - Stage 1 - Low Control

B1

GY

3027

I/P Module - Stage 2 - High Control

B1

GY

3027

I/P Module - Stage 2 - High Control

B2

PU

3026

I/P Module - Stage 2 - Low Control

B2

PU

3026

I/P Module - Stage 2 - Low Control

C219 Body Harness to the I/P Harness


Object Number: 1850604  Size: CH

Object Number: 1850607  Size: CH

Connector Part Information

  • OEM: GT13GM-1/1S-HU
  • Service: See Catalog
  • Description: 3-Way F GT13 Coaxial Series (GY)

Connector Part Information

  • OEM: GT13GM-1/1PPHU
  • Service: See Catalog
  • Description: 3-Way M GT13 Coaxial Series (GY)

Terminal Part Information

  • Pins: 1
  • Terminal/Tray: 7116-4618-02/14
  • Core/Insulation Crimp: P/P
  • Release Tool/Test Probe: J-38125-215/J-35616-64B (L-BU)

Terminal Part Information

  • Pins: 1
  • Terminal/Tray: 7114-4618-02/27
  • Core/Insulation Crimp: P/P
  • Release Tool/Test Probe: J-38125-215/J-35616-65B (L-BU)

C219 Body Harness to the I/P Harness

Pin

Wire Color

Circuit No.

Function

Pin

Wire Color

Circuit No.

Function

1

WH

1487

Antenna Enable Signal

1

WH

1487

Antenna Enable Signal

C

BK

6001

Antenna RF Signal

C

BK

6001

Antenna RF Signal

S

--

--

Not Used

S

--

--

Not Used

C223 Sunload/Ambient Light Sensor Harness to the I/P Harness


Object Number: 1850334  Size: CH

Object Number: 1850332  Size: CH

Connector Part Information

  • OEM: 7283-6446-40
  • Service: See Catalog
  • Description: 4-Way F Kaizen YESC Series (GY)

Connector Part Information

  • OEM: 7282-6446-40
  • Service: See Catalog
  • Description: 4-Way M Kaizen YESC Series (GY)

Terminal Part Information

  • Terminal/Tray: 7116-4110-02/9
  • Core/Insulation Crimp: E/C
  • Release Tool/Test Probe: 12094430/J-35616-4A (PU)

Terminal Part Information

  • Pins: 3
  • Terminal/Tray: 7114-4111-02/9
  • Core/Insulation Crimp: E/A
  • Release Tool/Test Probe: 12094430/J-35616-5 (PU)
  • Pins: 1, 2, 4
  • Terminal/Tray: 7114-4110-02/9
  • Core/Insulation Crimp: E/C
  • Release Tool/Test Probe: 12094430/J-35616-5 (PU)

C223 Sunload/Ambient Light Sensor Harness to the I/P Harness

Pin

Wire Color

Circuit No.

Function

Pin

Wire Color

Circuit No.

Function

1

GY

1548

Passenger Sunload Sensor Signal

1

GY

1548

Passenger Sunload Sensor Signal

2

L-BU/BK

590

Driver Sunload Sensor Signal

2

L-BU/BK

590

Driver Sunload Sensor Signal

3

L-GN/BK

1137

DRL Ambient Light Sensor Signal

3

L-GN/BK

1137

DRL Ambient Light Sensor Signal

4

BK/WH

1551

Ground

4

BK/WH

1551

Ground

C226 I/P Harness to the Shifter Jumper Harness


Object Number: 1849820  Size: CH

Object Number: 1849805  Size: CH

Connector Part Information

  • OEM: 936268-1
  • Service: See Catalog
  • Description: 6-Way F 090 Series (WH)

Connector Part Information

  • OEM: 936271-1
  • Service: See Catalog
  • Description: 6-Way M 090 Series (WH)

Terminal Part Information

  • Terminal/Tray: 368083-1/26
  • Core/Insulation Crimp: E/2
  • Release Tool/Test Probe: 15315247/J-35616-18 (BK)

Terminal Part Information

  • Terminal/Tray: See Terminal Repair Kit
  • Core/Insulation Crimp: See Terminal Repair Kit
  • Release Tool/Test Probe: See Terminal Repair Kit

C226 I/P Harness to the Shifter Jumper Harness

Pin

Wire Color

Circuit No.

Function

Pin

Wire Color

Circuit No.

Function

1

PU

1375

Remote Radio Control Supply Voltage

1

YE

1375

Remote Radio Control Supply Voltage

PU

1375

Remote Radio Control Supply Voltage

2

PU/WH

5905

Key Capture/Column Lock Shift Position Signal

2

GY

5905

Key Capture/Column Lock Shift Position Signal

3

BK

1450

Ground

3

BK

1450

Ground

4

PU

5526

Tap Up/Tap Down Switch Signal

4

BK

5526

Tap Up/Tap Down Switch Signal

5

PU/WH

1630

Steering Column Key Cylinder Lock Solenoid Control

5

BN

1630

Steering Column Key Cylinder Lock Solenoid Control

6

D-GN/WH

1135

A/T Shift Lock Control Solenoid Supply Voltage

6

D-GN/WH

1135

A/T Shift Lock Control Solenoid Supply Voltage

C275 I/P Harness to the Steering Wheel Module Coil Harness


Object Number: 1399226  Size: CH

Object Number: 1849818  Size: CH

Connector Part Information

  • OEM: 15393421
  • Service: 88987853
  • Description: 4-Way F Micro-Pack 064 Series (YE)

Connector Part Information

  • OEM: 15393425
  • Service: --
  • Description: 4-Way M Micro-Pack 064 Series (YE)

Terminal Part Information

  • Terminal/Tray: 12177007/19
  • Core/Insulation Crimp: E/2
  • Release Tool/Test Probe: 12180559-1/J-35616-64B (L-BU)

Terminal Part Information

  • Terminal/Tray: --
  • Core/Insulation Crimp: --
  • Release Tool/Test Probe: --

C275 I/P Harness to the Steering Wheel Module Coil Harness

Pin

Wire Color

Circuit No.

Function

Pin

Wire Color

Circuit No.

Function

1

BN

3020

Steering Wheel Module - Stage 1 - Low Control

1

--

3020

Steering Wheel Module - Stage 1 - Low Control

2

TN

3021

Steering Wheel Module - Stage 1 - High Control

2

--

3021

Steering Wheel Module - Stage 1 - High Control

3

PK

3022

Steering Wheel Module - Stage 2 - Low Control

3

--

3022

Steering Wheel Module - Stage 2 - Low Control

4

WH

3023

Steering Wheel Module - Stage 2 - High Control

4

--

3023

Steering Wheel Module - Stage 2 - High Control

C276 I/P Harness to the Steering Wheel Module Coil Harness


Object Number: 1593397  Size: CH

Object Number: 1849817  Size: CH

Connector Part Information

  • OEM: 15393433
  • Service: See Catalog
  • Description: 10-Way F Micro-Pack 064 Series (BK)

Connector Part Information

  • OEM: 15393436
  • Service: --
  • Description: 10-Way M Micro-Pack 064 Series (BK)

Terminal Part Information

  • Terminal/Tray: 12177007/19
  • Core/Insulation Crimp: E/2
  • Release Tool/Test Probe: 12180559-1/J-35616-64B (L-BU)

Terminal Part Information

  • Terminal/Tray: --
  • Core/Insulation Crimp: --
  • Release Tool/Test Probe: --

C276 I/P Harness to the Steering Wheel Module Coil Harness

Pin

Wire Color

Circuit No.

Function

Pin

Wire Color

Circuit No.

Function

A-B

--

--

Not Used

A-B

--

--

Not Used

C

PU

1375

Remote Radio Control Supply Voltage

C

--

1375

Remote Radio Control Supply Voltage

D

GY

1884

Cruise Control Switch Signal

D

--

1884

Cruise Control Switch Signal

E

D-BU

1796

Steering Wheel Controls Signal (UK3)

E

--

1796

Steering Wheel Controls Signal (UK3)

F

GN/WH

7158

Cruise Control Indicator Dimming Signal

F

--

7158

Cruise Control Indicator Dimming Signal

G

PU/WH

7005

LED Dimming Signal

G

--

7005

LED Dimming Signal

H

--

--

Not Used

H

--

--

Not Used

J

TN

28

Horn Relay Control

J

--

28

Horn Relay Control

K

BK

1450

Ground

K

--

1450

Ground

C277 Steering Wheel Controls Harness to the Steering Wheel Module Coil Harness


Object Number: 1593397  Size: CH

Object Number: 1849817  Size: CH

Connector Part Information

  • OEM: 15393433
  • Service: See Catalog
  • Description: 10-Way F Micro-Pack 064 Series (BK)

Connector Part Information

  • OEM: 15393436
  • Service: See Catalog
  • Description: 10-Way M Micro-Pack 064 Series (BK)

Terminal Part Information

  • Terminal/Tray: 7116-4111-02/9
  • Core/Insulation Crimp: C/A
  • Release Tool/Test Probe: 12094430/J-35616-4A (PU)

Terminal Part Information

  • Terminal/Tray: 7114-4111-02/9
  • Core/Insulation Crimp: C/A
  • Release Tool/Test Probe: 12094430/J-35616-5 (PU)

C277 Steering Wheel Controls Harness to the Steering Wheel Module Coil Harness

Pin

Wire Color

Circuit No.

Function

Pin

Wire Color

Circuit No.

Function

A-B

--

--

Not Used

A-B

--

--

Not Used

C

PU

1375

Remote Radio Control Supply Voltage

C

PU

1375

Remote Radio Control Supply Voltage

D

GY

1884

Cruise Control Switch Signal

D

GY

1884

Cruise Control Switch Signal

E

D-BU

1796

Steering Wheel Controls Signal (UK3)

E

D-BU

1796

Steering Wheel Controls Signal (UK3)

F

GN/WH

7158

Cruise Control Indicator Dimming Signal

F

GN/WH

7158

Cruise Control Indicator Dimming Signal

G

PU/WH

7005

LED Dimming Signal

G

PU/WH

7005

LED Dimming Signal

H

--

--

Not Used

H

--

--

Not Used

J

TN

28

Horn Relay Control

J

TN

28

Horn Relay Control

K

BK

1450

Ground

K

BK

1450

Ground

C305 Console Harness to the Body Harness


Object Number: 1415174  Size: CH

Object Number: 1548093  Size: CH

Connector Part Information

  • OEM: 7283-5565-40
  • Service: See Catalog
  • Description: 2-Way F 110 Unsealed (L-GY)

Connector Part Information

  • OEM: 7282-5565-40
  • Service: See Catalog
  • Description: 2-Way M 110 Unsealed (L-GY)

Terminal Part Information

  • Terminal/Tray: 7116-4111-02/9
  • Core/Insulation Crimp: C/A
  • Release Tool/Test Probe: 12094430/J-35616-4A (PU)

Terminal Part Information

  • Terminal/Tray: 7114-4111-02/9
  • Core/Insulation Crimp: C/A
  • Release Tool/Test Probe: 12094430/J-35616-5 (PU)

C305 Console Harness to the Body Harness

Pin

Wire Color

Circuit No.

Function

Pin

Wire Color

Circuit No.

Function

1

BK

650

Ground

1

BK

650

Ground

2

RD/WH

2540

Battery Positive Voltage

2

RD/WH

2540

Battery Positive Voltage

C307 Body Harness to the I/P Harness (C69)


Object Number: 1711011  Size: CH

Object Number: 1849803  Size: CH

Connector Part Information

  • OEM: 7283-9088-30
  • Service: See Catalog
  • Description: 10-Way F Kaizen 0.64 Series (BK)

Connector Part Information

  • OEM: 7282-9082-30
  • Service: See Catalog
  • Description: 10-Way M Kaizen 0.64 Series (BK)

Terminal Part Information

  • Terminal/Tray: 7116-4618-02/14
  • Core/Insulation Crimp: P/P
  • Release Tool/Test Probe: J-38125-215/J-35616-64B (L-BU)

Terminal Part Information

  • Terminal/Tray: 7114-4618-02/27
  • Core/Insulation Crimp: P/P
  • Release Tool/Test Probe: J-38125-215/J-35616-65B (L-BU)

C307 Body Harness to the I/P Harness (C69)

Pin

Wire Color

Circuit No.

Function

Pin

Wire Color

Circuit No.

Function

1

GY/BK

1798

Low Reference

1

GY/BK

1798

Low Reference

2

GY

2599

Auxiliary Mode Door Control

2

GY

2599

Auxiliary Mode Door Control

3

GY

596

5-Volt Reference

3

GY

596

5-Volt Reference

4

L-GN/WH

5729

Rear Mode Motor Supply Voltage

4

L-GN/WH

5729

Rear Mode Motor Supply Voltage

5

OG

2215

Auxiliary Mode Door Control

5

OG

2215

Auxiliary Mode Door Control

6

PK

2145

Air Temperature Switch Signal - Right

6

PK

2145

Air Temperature Switch Signal - Right

7

BN

6555

Rear Temperature Motor Supply Voltage

7

BN

6555

Rear Temperature Motor Supply Voltage

8

GY

2614

Auxiliary Air Temperature Door Control

8

GY

2614

Auxiliary Air Temperature Door Control

9

GY/BK

754

Blower Motor Speed Control

9

GY/BK

754

Blower Motor Speed Control

10

--

--

Not Used

10

--

--

Not Used

C308 Body Harness to the Power Seat Harness (AG1 w/o KA1)


Object Number: 698669  Size: CH

Object Number: 698671  Size: CH

Connector Part Information

  • OEM: 15326886
  • Service: 88988300
  • Description: 4-Way F GT 280 (BK)

Connector Part Information

  • OEM: 15326890
  • Service: 88953361
  • Description: 4-Way M GT 280 Series (BK)

Terminal Part Information

  • Pins: C, D
  • Terminal/Tray: 15304711/8
  • Core/Insulation Crimp: E/A
  • Release Tool/Test Probe: 15315247/J-35616-4A (PU)
  • Pins: A, B
  • Terminal/Tray: 15304713/19
  • Core/Insulation Crimp: 4/4
  • Release Tool/Test Probe: 15315247/J-35616-4A (PU)

Terminal Part Information

  • Terminal/Tray: See Terminal Repair Kit
  • Core/Insulation Crimp: See Terminal Repair Kit
  • Release Tool/Test Probe: See Terminal Repair Kit

C308 Body Harness to the Power Seat Harness (AG1 w/o KA1)

Pin

Wire Color

Circuit No.

Function

Pin

Wire Color

Circuit No.

Function

A

RD/BK

542

Battery Positive Voltage

A

RD/BK

542

Battery Positive Voltage

B

BK

650

Ground

B

BK

650

Ground

C

PK

5057

Seat Position Sensor - Low Reference

C

TN/WH

5057

Seat Position Sensor - Low Reference

D

D-GN

5016

Seat Belt Switch - Left - Signal

D

D-BU

5016

Seat Belt Switch - Left - Signal

C308 Body Harness to the Driver Seat Harness (KA1)


Object Number: 556473  Size: CH

Object Number: 542307  Size: CH

Connector Part Information

  • OEM: 15326924
  • Service: 15306174
  • Description: 8-Way F GT 280 (BK)

Connector Part Information

  • OEM: 15326928
  • Service: 15306176
  • Description: 8-Way M GT 280 Series (BK)

Terminal Part Information

  • Pins: E, G, C, D, F, H
  • Terminal/Tray: 15304711/8
  • Core/Insulation Crimp: Pins: E, G : 2/A
  • Core/Insulation Crimp: Pins: C, D, F, H : E/A
  • Release Tool/Test Probe: 15315247/J-35616-4A (PU)
  • Pins: A, B
  • Terminal/Tray: 15304713/19
  • Core/Insulation Crimp: 4/4
  • Release Tool/Test Probe: 15315247/J-35616-4A (PU)

Terminal Part Information

  • Terminal/Tray: See Terminal Repair Kit
  • Core/Insulation Crimp: See Terminal Repair Kit
  • Release Tool/Test Probe: See Terminal Repair Kit

C308 Body Harness to the Driver Seat Harness (KA1)

Pin

Wire Color

Circuit No.

Function

Pin

Wire Color

Circuit No.

Function

A

RD/BK

542

Battery Positive Voltage

A

RD/BK

542

Battery Positive Voltage

B

BK

650

Ground

B

BK

650

Ground

C

PK

5057

Seat Position Sensor - Low Reference

C

L-GN

5057

Seat Position Sensor - Low Reference

D

D-GN

5016

Seat Belt Switch - Left - Signal

D

BK

5016

Seat Belt Switch - Left - Signal

E

PU

2424

Driver Heated Seat Back Element Control

E

PU

2424

Driver Heated Seat Back Element Control

F

YE/BK

2079

Heated Seat Cushion Temperature Sensor Signal

F

YE/BK

2079

Heated Seat Cushion Temperature Sensor Signal

G

PK

2077

Heated Seat Cushion Element Supply Voltage

G

PK

2077

Heated Seat Cushion Element Supply Voltage

H

YE

2080

Driver Heated Seat Cushion Temperature Sensor Low Reference

H

YE

2080

Driver Heated Seat Cushion Temperature Sensor Low Reference

C309 Body Harness to the Passenger Seat Harness (w/o KA1)


Object Number: 1849816  Size: CH

Object Number: 1849815  Size: CH

Connector Part Information

  • OEM: 15332138
  • Service: See Catalog
  • Description: 5-Way F GT 150 Series (BK)

Connector Part Information

  • OEM: 15332139
  • Service: See Catalog
  • Description: 5-Way M GT 150 Series (BK)

Terminal Part Information

  • Terminal/Tray: 12191812/19
  • Core/Insulation Crimp: E/C
  • Release Tool/Test Probe: 15315247/J-35616-2A (GY)

Terminal Part Information

  • Terminal/Tray: See Terminal Repair Kit
  • Core/Insulation Crimp: See Terminal Repair Kit
  • Release Tool/Test Probe: See Terminal Repair Kit

C309 Body Harness to the Passenger Seat Harness (w/o KA1)

Pin

Wire Color

Circuit No.

Function

Pin

Wire Color

Circuit No.

Function

A

RD/WH

840

Battery Positive Voltage

A

OG

840

Battery Positive Voltage

B

BK/WH

651

Ground

B

BK

651

Ground

C

PK

5057

Seat Position Sensor - Low Reference

C

PK

5057

Seat Position Sensor - Low Reference

D

OG

1362

Seat Belt Switch - Right - Signal

D

RD

1362

Seat Belt Switch - Right - Signal

E

D-GN

5060

Low Speed GMLAN Serial Data

E

D-GN

5060

Low Speed GMLAN Serial Data

C309 Body Harness to the Passenger Seat Harness (KA1)


Object Number: 647976  Size: CH

Object Number: 847286  Size: CH

Connector Part Information

  • OEM: 15332161
  • Service: 15306416
  • Description: 12-Way F GT 150 (BK)

Connector Part Information

  • OEM: 15332166
  • Service: See Catalog
  • Description: 12-Way M GT 150 Series (BK)

Terminal Part Information

  • Pins: G, H, J, L, A, B, C, D, E, F, K
  • Terminal/Tray: 12191812/19
  • Core/Insulation Crimp: Pins: G, H, J, L : C/A
  • Core/Insulation Crimp: Pins: A, B, C, D, E, F, K : E/C
  • Release Tool/Test Probe: 15315247/J-35616-2A (GY)

Terminal Part Information

  • Terminal/Tray: See Terminal Repair Kit
  • Core/Insulation Crimp: See Terminal Repair Kit
  • Release Tool/Test Probe: See Terminal Repair Kit

C309 Body Harness to the Passenger Seat Harness (KA1)

Pin

Wire Color

Circuit No.

Function

Pin

Wire Color

Circuit No.

Function

A

RD/WH

840

Battery Positive Voltage

A

OG

840

Battery Positive Voltage

B

BK/WH

651

Ground

B

BK

651

Ground

C

PK

5057

Seat Position Sensor - Low Reference

C

PK

5057

Seat Position Sensor - Low Reference

D

OG

1362

Seat Belt Switch - Right - Signal

D

RD

1362

Seat Belt Switch - Right - Signal

E

D-GN

5060

Low Speed GMLAN Serial Data

E

D-GN

5060

Low Speed GMLAN Serial Data

F

YE/BK

2079

Heated Seat Cushion Temperature Sensor Signal

F

YE

2079

Heated Seat Cushion Temperature Sensor Signal

G

PK

2077

Heated Seat Cushion Element Supply Voltage

G

RD/WH

2077

Heated Seat Cushion Element Supply Voltage

H

PU

2424

Driver Heated Seat Back Element Control

H

PU

2424

Driver Heated Seat Back Element Control

J

BK

650

Ground

J

BK

650

Ground

K

YE

2080

Driver Heated Seat Cushion Temperature Sensor Low Reference

K

YE

2080

Driver Heated Seat Cushion Temperature Sensor Low Reference

L

RD/WH

640

Battery Positive Voltage

L

OG

640

Battery Positive Voltage

M

--

--

Not Used

M

--

--

Not Used

C310 Body Harness to the Fuel Sender Harness


Object Number: 570216  Size: CH

Object Number: 258921  Size: CH

Connector Part Information

  • OEM: 12065425
  • Service: 12125676
  • Description: 10-Way F Metri-Pack 150 Series, Sealed (BK)

Connector Part Information

  • OEM: 12048253
  • Service: 12117372
  • Description: 10-Way M Metri-Pack 150 Series Sealed (BK)

Terminal Part Information

  • Pins: C, E, F, G, H, J, K, A, B
  • Terminal/Tray: 12048074/2
  • Core/Insulation Crimp: Pins: C, E, F, G, H, J, K : E/1
  • Core/Insulation Crimp: Pins: A, B : 2/1
  • Release Tool/Test Probe: 12094429/J-35616-2A (GY)

Terminal Part Information

  • Terminal/Tray: See Terminal Repair Kit
  • Core/Insulation Crimp: See Terminal Repair Kit
  • Release Tool/Test Probe: See Terminal Repair Kit

C310 Body Harness to the Fuel Sender Harness

Pin

Wire Color

Circuit No.

Function

Pin

Wire Color

Circuit No.

Function

A

GY

120

Fuel Pump Supply Voltage

A

GY

120

Fuel Pump Supply Voltage

B

BK

850

Ground

B

BK

850

Ground

C

PU

1589

Fuel Level Sensor Signal [- Primary]

C

PU

1589

Fuel Level Sensor Signal

D

--

--

Not Used

D

L-BU

30

Fuel Level Sensor Signal

E

GY

2709

5-Volt Reference

E

GY

2709

5-Volt Reference

F

D-GN

890

Fuel Tank Pressure Sensor Signal

F

D-GN

890

Fuel Tank Pressure Sensor Signal

G

TN

2759

Low Reference

G

BK

2759

Low Reference

H

TN

2759

Low Reference

H

BK/WH

2759

Low Reference

J

RD/WH

2840

Battery Positive Voltage

J

PK

2840

Battery Positive Voltage

K

WH

1310

EVAP Canister Vent Solenoid Control

K

WH

1310

EVAP Canister Vent Solenoid Control

C311 Headliner Harness to the Sunshade Harness (UUC)


Object Number: 130635  Size: CH

Object Number: 362751  Size: CH

Connector Part Information

  • OEM: 12045813
  • Service: 12101889
  • Description: 4-Way F Metri-Pack 150 Series (CM)

Connector Part Information

  • OEM: 12052054
  • Service: 88988619
  • Description: 4-Way M Metri-Pack 150 Series (BK)

Terminal Part Information

  • Terminal/Tray: See Terminal Repair Kit
  • Core/Insulation Crimp: See Terminal Repair Kit
  • Release Tool/Test Probe: See Terminal Repair Kit

Terminal Part Information

  • Terminal/Tray: See Terminal Repair Kit
  • Core/Insulation Crimp: See Terminal Repair Kit
  • Release Tool/Test Probe: See Terminal Repair Kit

C311 Headliner Harness to the Sunshade Harness (UUC)

Pin

Wire Color

Circuit No.

Function

Pin

Wire Color

Circuit No.

Function

A

D-BU/WH

149

Courtesy Lamp Supply Voltage

A

D-BU/WH

149

Courtesy Lamp Supply Voltage

B

GY

157

Courtesy Lamp Control

B

GY

157

Courtesy Lamp Control

C

OG

1732

Courtesy Lamps Supply Voltage

C

OG

1732

Courtesy Lamps Supply Voltage

D

BK

850

Ground

D

BK

850

Ground

C312 Driver Seat Harness to the Power Seat Harness (AG1 w/KA1)


Object Number: 698669  Size: CH

Object Number: 698671  Size: CH

Connector Part Information

  • OEM: 15326886
  • Service: 88988300
  • Description: 4-Way F GT 280 Series (BK)

Connector Part Information

  • OEM: 15326890
  • Service: 88953361
  • Description: 4-Way M GT 280 Series (BK)

Terminal Part Information

  • Terminal/Tray: See Terminal Repair Kit
  • Core/Insulation Crimp: See Terminal Repair Kit
  • Release Tool/Test Probe: See Terminal Repair Kit

Terminal Part Information

  • Terminal/Tray: See Terminal Repair Kit
  • Core/Insulation Crimp: See Terminal Repair Kit
  • Release Tool/Test Probe: See Terminal Repair Kit

C312 Driver Seat Harness to the Power Seat Harness (AG1 w/KA1)

Pin

Wire Color

Circuit No.

Function

Pin

Wire Color

Circuit No.

Function

A

RD/BK

542

Battery Positive Voltage

A

RD/BK

542

Battery Positive Voltage

B

BK

650

Ground

B

BK

650

Ground

C

L-GN

5057

Seat Position Sensor - Low Reference

C

TN/WH

5057

Seat Position Sensor - Low Reference

D

BK

5016

Seat Belt Switch - Left - Signal

D

D-BU

5016

Seat Belt Switch - Left - Signal

C313 Passenger Presence Harness to the Passenger Seat Harness


Object Number: 831380  Size: CH

Object Number: 1464340  Size: CH

Connector Part Information

  • OEM: 15332141
  • Service: 88986249
  • Description: 6-Way F GT 150 Series (BK)

Connector Part Information

  • OEM: 15332142
  • Service: 89046638
  • Description: 6-Way M GT 150/280 Series Sealed (BK)

Terminal Part Information

  • Terminal/Tray: See Terminal Repair Kit
  • Core/Insulation Crimp: See Terminal Repair Kit
  • Release Tool/Test Probe: See Terminal Repair Kit

Terminal Part Information

  • Terminal/Tray: See Terminal Repair Kit
  • Core/Insulation Crimp: See Terminal Repair Kit
  • Release Tool/Test Probe: See Terminal Repair Kit

C313 Passenger Presence Harness to the Passenger Seat Harness

Pin

Wire Color

Circuit No.

Function

Pin

Wire Color

Circuit No.

Function

A

OG

840

Battery Positive Voltage

A

OG

840

Battery Positive Voltage

B

YE

5060

Low Speed GMLAN Serial Data

B

D-GN

5060

Low Speed GMLAN Serial Data

C

WH

5060

Low Speed GMLAN Serial Data

C

D-GN

5060

Low Speed GMLAN Serial Data

D

BK

651

Ground

D

BK

651

Ground

E-F

--

--

Not Used

E-F

--

--

Not Used

C314 Headliner Harness to the Sunroof Harness (CF5)


Object Number: 62439  Size: CH

Object Number: 62434  Size: CH

Connector Part Information

  • OEM: 12047886
  • Service: 12101822
  • Description: 8-Way F Metri-Pack 150 Series (BK)

Connector Part Information

  • OEM: 12045688
  • Service: 12101827
  • Description: 8-Way M Metri-Pack 150 Series (BK)

Terminal Part Information

  • Terminal/Tray: See Terminal Repair Kit
  • Core/Insulation Crimp: See Terminal Repair Kit
  • Release Tool/Test Probe: See Terminal Repair Kit

Terminal Part Information

  • Terminal/Tray: See Terminal Repair Kit
  • Core/Insulation Crimp: See Terminal Repair Kit
  • Release Tool/Test Probe: See Terminal Repair Kit

C314 Headliner Harness to the Sunroof Harness (CF5)

Pin

Wire Color

Circuit No.

Function

Pin

Wire Color

Circuit No.

Function

A

BN

100

Sunroof Switch Open Signal

A

BN

100

Sunroof Switch Open Signal

B

D-GN

2074

Sunroof Switch Express Signal

B

D-GN

2074

Sunroof Switch Express Signal

C

OG/BK

144

Sunroof Switch Open Vent Signal

C

OG/BK

144

Sunroof Switch Open Vent Signal

D

D-BU

128

Sunroof Switch Low Reference

D

D-BU

128

Sunroof Switch Low Reference

E-F

--

--

Not Used

E-F

--

--

Not Used

G

BK

850

Ground

G

BK

550

Ground

H

YE

643

Accessory Voltage

H

OG

643

Accessory Voltage

C400 Body Harness to the Chassis Harness


Object Number: 888606  Size: CH

Object Number: 823302  Size: CH

Connector Part Information

  • OEM: 7283-5946-30
  • Service: 88988239
  • Description: 10-Way F YESC/USCAR Class III Series, Sealed (BK)

Connector Part Information

  • OEM: 7282-5946-30
  • Service: See Catalog
  • Description: 10-Way M YESC/USCAR Class III Series, Sealed (BK)

Terminal Part Information

  • Terminal/Tray: 7116-4102-08/9
  • Core/Insulation Crimp: E/1
  • Release Tool/Test Probe: 12094430/J-35616-2A (GY)

Terminal Part Information

  • Pins: 2, 3, 4, 6, 7, 8, 9
  • Terminal/Tray: 7114-4102-08/9
  • Core/Insulation Crimp: E/1
  • Release Tool/Test Probe: 12094430/J-35616-3 (GY)
  • Pins: 1, 10
  • Terminal/Tray: 7114-4103-08/9
  • Core/Insulation Crimp: E/1
  • Release Tool/Test Probe: 12094430/J-35616-3 (GY)

C400 Body Harness to the Chassis Harness

Pin

Wire Color

Circuit No.

Function

Pin

Wire Color

Circuit No.

Function

1

BK

850

Ground

1

BK

850

Ground

2

L-BU

5986

Serial Data Communication Enable

2

L-BU

5986

Serial Data Communication Enable

3

TN

884

Left Rear Wheel Speed Sensor Signal

3

TN

884

Left Rear Wheel Speed Sensor Signal

4

OG

885

Left Rear Wheel Speed Sensor Low Reference

4

OG

885

Left Rear Wheel Speed Sensor Low Reference

5

--

--

Not Used

5

--

--

Not Used

6

TN/BK

2500

High Speed GMLAN Serial Data Bus+

6

TN/BK

2500

High Speed GMLAN Serial Data Bus+

7

TN

2501

High Speed GMLAN Serial Data Bus-

7

TN

2501

High Speed GMLAN Serial Data Bus-

8

BN

882

Right Rear Wheel Speed Sensor Signal

8

BN

882

Right Rear Wheel Speed Sensor Signal

9

WH

883

Right Rear Wheel Speed Sensor Low Reference

9

WH

883

Right Rear Wheel Speed Sensor Low Reference

10

RD/WH

1740

Battery Positive Voltage

10

RD/WH

1740

Battery Positive Voltage

C403 Body Harness to the Left Tail Lamp Harness


Object Number: 1849814  Size: CH

Object Number: 1818971  Size: CH

Connector Part Information

  • OEM: 6189-0319
  • Service: 88988448
  • Description: 6-Way F 090 Series, Sealed (L-GY)

Connector Part Information

  • OEM: 6188-0173
  • Service: See Catalog
  • Description: 6-Way M TS 090 Series Sealed (L-GY)

Terminal Part Information

  • Pins: 1
  • Terminal/Tray: 7116-4026/11
  • Core/Insulation Crimp: E/1
  • Release Tool/Test Probe: 15313892/J-35616-18 (BK)
  • Pins: 4, 2, 6, 5
  • Terminal/Tray: 7116-4025/11
  • Core/Insulation Crimp: Pins: 4 : E/A
  • Core/Insulation Crimp: Pins: 2, 6, 5 : E/1
  • Release Tool/Test Probe: 15313892/J-35616-18 (BK)

Terminal Part Information

  • Terminal/Tray: See Terminal Repair Kit
  • Core/Insulation Crimp: See Terminal Repair Kit
  • Release Tool/Test Probe: See Terminal Repair K

C403 Body Harness to the LH Tail Lamp Harness

Pin

Wire Color

Circuit No.

Function

Pin

Wire Color

Circuit No.

Function

1

YE

18

Left Rear Stop/Turn Lamp Supply Voltage

1

WH

18

Left Rear Stop/Turn Lamp Supply Voltage

2

BK

550

Ground

2

BK

550

Ground

3

--

--

Not Used

3

--

--

Not Used

4

PU

709

Left Park Lamp Supply Voltage

4

D-GN

709

Left Park Lamp Supply Voltage

5

L-BU

20

Stop Lamp Supply Voltage

5

D-BU

20

Stop Lamp Supply Voltage/Stop Lamp Switch Signal

6

L-GN

24

Backup Lamp Supply Voltage

6

L-GN

24

Backup Lamp Supply Voltage

C404 Body Harness to the Right Tail Lamp Harness


Object Number: 1849814  Size: CH

Object Number: 1818971  Size: CH

Connector Part Information

  • OEM: 6189-0319
  • Service: 88988448
  • Description: 6-Way F 090 Series, Sealed (L-GY)

Connector Part Information

  • OEM: 6188-0173
  • Service: See Catalog
  • Description: 6-Way M TS 090 Series Sealed (L-GY)

Terminal Part Information

  • Pins: 1
  • Terminal/Tray: 7116-4026/11
  • Core/Insulation Crimp: E/1
  • Release Tool/Test Probe: 15313892/J-35616-18 (BK)
  • Pins: 4, 2, 6, 5
  • Terminal/Tray: 7116-4025/11
  • Core/Insulation Crimp: Pins: 4 : E/A
  • Core/Insulation Crimp: Pins: 2, 6, 5 : E/1
  • Release Tool/Test Probe: 15313892/J-35616-18 (BK)

Terminal Part Information

  • Terminal/Tray: See Terminal Repair Kit
  • Core/Insulation Crimp: See Terminal Repair Kit
  • Release Tool/Test Probe: See Terminal Repair Kit

C404 Body Harness to the Right Tail Lamp Harness

Pin

Wire Color

Circuit No.

Function

Pin

Wire Color

Circuit No.

Function

1

D-GN

19

Right Rear Stop/Turn Lamp Supply Voltage

1

WH

19

Right Rear Stop/Turn Lamp Supply Voltage

2

BK

850

Ground

2

BK

850

Ground

3

--

--

Not Used

3

--

--

Not Used

4

BN/WH

309

Right Park Lamp Supply Voltage

4

D-GN

309

Right Park Lamp Supply Voltage

5

L-BU

20

Stop Lamp Supply Voltage

5

D-BU

20

Stop Lamp Supply Voltage/Stop Lamp Switch Signal

6

L-GN

24

Backup Lamp Supply Voltage

6

L-GN

24

Backup Lamp Supply Voltage

C409 Body Harness to the Trailer Jumper Harness (V92)


Object Number: 1479640  Size: CH

Object Number: 1479634  Size: CH

Connector Part Information

  • OEM: 7283-5889
  • Service: See Catalog
  • Description: 4-Way F 1.5 Sealed (BK)

Connector Part Information

  • OEM: 72825889
  • Service: See Catalog
  • Description: 4-Way M 1.5 Sealed (BK)

Terminal Part Information

  • Pins: 1, 2, 3
  • Terminal/Tray: 7116-4102-08/9
  • Core/Insulation Crimp: E/1
  • Release Tool/Test Probe: 12094430/J-35616-2A (GY)
  • Pins: 4
  • Terminal/Tray: 7116-4103-08/9
  • Core/Insulation Crimp: E/1
  • Release Tool/Test Probe: 12094430/J-35616-2A (GY)

Terminal Part Information

  • Pins: 1, 2, 3
  • Terminal/Tray: 7114-4102-08/9
  • Core/Insulation Crimp: E/1
  • Release Tool/Test Probe: 12094430/J-35616-3 (GY)

C409 Body Harness to the Trailer Jumper Harness (V92)

Pin

Wire Color

Circuit No.

Function

Pin

Wire Color

Circuit No.

Function

1

YE

1618

Trailer Left Rear Turn/Stop Lamp Supply Voltage

1

YE

1618

Trailer Left Rear Turn/Stop Lamp Supply Voltage

2

D-GN

1619

Trailer Right Rear Turn/Stop Lamp Supply Voltage

2

D-GN

1619

Trailer Right Rear Turn/Stop Lamp Supply Voltage

3

BN

2109

Trailer Park Lamps Supply Voltage

3

BN

2109

Trailer Park Lamps Supply Voltage

4

BK

550

Ground

4

BK

850

Ground

C410 Trailer Harness to the Trailer Jumper Harness (V92)


Object Number: 1479640  Size: CH

Object Number: 1479634  Size: CH

Connector Part Information

  • OEM: 72835889
  • Service: See Catalog
  • Description: 4-Way F 1.5 Sealed (BK)

Connector Part Information

  • OEM: 72825889
  • Service: See Catalog
  • Description: 4-Way M 1.5 Sealed (BK)

Terminal Part Information

  • Pins: 1, 2, 3
  • Terminal/Tray: 7116-4102-08/9
  • Core/Insulation Crimp: E/1
  • Release Tool/Test Probe: 12094430/J-35616-2A (GY)
  • Pins: 4
  • Terminal/Tray: 7116-4103-08/9
  • Core/Insulation Crimp: E/1
  • Release Tool/Test Probe: 12094430/J-35616-2A (GY)

Terminal Part Information

  • Pins: 2, 3, 4
  • Terminal/Tray: 7114-4102-08/9
  • Core/Insulation Crimp: E/1
  • Release Tool/Test Probe: 12094430/J-35616-3 (GY)
  • Pins: 1
  • Terminal/Tray: 7114-4103-08/9
  • Core/Insulation Crimp: E/1
  • Release Tool/Test Probe: 12094430/J-35616-3 (GY)

C410 Trailer Harness to the Trailer Jumper Harness (V92)

Pin

Wire Color

Circuit No.

Function

Pin

Wire Color

Circuit No.

Function

1

BK

850

Ground

1

BK

850

Ground

2

BN

2109

Trailer Park Lamps Supply Voltage

2

BN

2109

Trailer Park Lamps Supply Voltage

3

YE

1618

Trailer Left Rear Turn/Stop Lamp Supply Voltage

3

YE

1618

Trailer Left Rear Turn/Stop Lamp Supply Voltage

4

D-GN

1619

Trailer Right Rear Turn/Stop Lamp Supply Voltage

4

D-GN

1619

Trailer Right Rear Turn/Stop Lamp Supply Voltage

C412 Headliner Harness to the I/P Harness (UUC)


Object Number: 524205  Size: CH

Object Number: 524211  Size: CH

Connector Part Information

  • OEM: 15326063
  • Service: 15326063
  • Description: 22-Way F GT 150 280 Series (GY)

Connector Part Information

  • OEM: 15326064
  • Service: See Catalog
  • Description: 22-Way M GT 150, 280 (GY)

Terminal Part Information

  • Terminal/Tray: See Terminal Repair Kit
  • Core/Insulation Crimp: See Terminal Repair Kit
  • Release Tool/Test Probe: See Terminal Repair Kit

Terminal Part Information

  • Pins: A1, A2, A9, A10, A11, B1, B2, B3, B9, B10, B11
  • Terminal/Tray: 15304702/19
  • Core/Insulation Crimp: E/4
  • Release Tool/Test Probe: 15315247/J-35616-3 (GY)
  • Pins: A5, A6, A7, A8, B5, B6, B7, B8
  • Terminal/Tray: 15304722/8
  • Core/Insulation Crimp: E/C
  • Release Tool/Test Probe: 15315247/J-35616-5 (PU)

412 Headliner Harness to the I/P Harness (UUC)

Pin

Wire Color

Circuit No.

Function

Pin

Wire Color

Circuit No.

Function

A1

BN/WH

5846

Video Power Mode Signal

A1

BN/WH

5846

Video Power Mode Signal

A2

PK/BK

5844

Video Bright Control

A2

PK/BK

5844

Video Bright Control

A3-A4

--

--

Not Used

A3-A4

--

--

Not Used

A5

YE

343

Accessory Voltage

A5

YE

343

Accessory Voltage

YE

343

Accessory Voltage

A6

WH

1487

Antenna Enable Signal

A6

WH

1487

Antenna Enable Signal

A7

TN/WH

5830

Remote Infra Red Signal (-)

A7

TN/WH

5830

Remote Infra Red Signal (-)

A8

--

--

Not Used

A8

BARE

5332

Infra Red Audio Drain Wire

A9

--

--

Not Used

A9

OG/BK

5329

Left Infra Red Audio Signal

A10

--

--

Not Used

A10

BN/WH

5331

Infra Red Audio Low Reference

A11

--

--

Not Used

A11

PU/WH

5330

Right Infra Red Audio Signal

B1

WH/BK

5335

DVD Video Signal (-)

B1

WH/BK

5335

DVD Video Signal (-)

B2

D-GN

6975

DVD Video Signal (+)

B2

D-GN

6975

DVD Video Signal (+)

B3

BARE

6976

DVD Video Drain Wire

B3

BARE

6976

DVD Video Drain Wire

B4

--

--

Not Used

B4

--

--

Not Used

B5

RD/WH

2340

Battery Positive Voltage

B5

RD/WH

2340

Battery Positive Voltage

B6

BK/WH

1551

Ground

B6

BK/WH

1551

Ground

B7

OG/BK

5831

Remote Infra Red Signal (+)

B7

OG/BK

5831

Remote Infra Red Signal (+)

B8

BARE

6980

DVD Audio Shield

B8

BARE

6980

DVD Audio Shield

B9

WH

5828

Right DVD Audio Signal (+)

B9

WH

5828

Right DVD Audio Signal (+)

B10

PU

6979

DVD Audio Common

B10

PU

6979

DVD Audio Common

B11

L-BU

5826

Left DVD Audio Signal (+)

B11

L-BU

5826

Left DVD Audio Signal (+)

C415 Headliner Harness to the Body Harness


Object Number: 1849808  Size: CH

Object Number: 1849807  Size: CH

Connector Part Information

  • OEM: 7283-3441-40
  • Service: See Catalog
  • Description: 8-Way F Kaizen YESC Series (L-GY)

Connector Part Information

  • OEM: 7282-3441-40
  • Service: See Catalog
  • Description: 8-Way M Kaizen YESC Series (L-GY)

Terminal Part Information

  • Terminal/Tray: See Terminal Repair Kit
  • Core/Insulation Crimp: See Terminal Repair Kit
  • Release Tool/Test Probe: See Terminal Repair Kit

Terminal Part Information

  • Pins: 5, 2, 3, 4, 7
  • Terminal/Tray: 7114-4101-08/9
  • Core/Insulation Crimp: Pins: 5 : C/A
  • Core/Insulation Crimp: Pins: 2, 3, 4, 7 : E/A
  • Release Tool/Test Probe: 15315247/J-35616-3 (GY)
  • Pins: 6
  • Terminal/Tray: 7114-4100-08/9
  • Core/Insulation Crimp: E/C
  • Release Tool/Test Probe: 15315247/J-35616-3 (GY)

C415 Headliner Harness to the Body Harness

Pin

Wire Color

Circuit No.

Function

Pin

Wire Color

Circuit No.

Function

1

--

--

Not Used

1

--

--

Not Used

2

OG

1732

Courtesy Lamps Supply Voltage

2

OG

1732

Courtesy Lamps Supply Voltage

3

BK

850

Ground (CF5)

3

BK

850

Ground

4

BK

850

Ground

4

BK

850

Ground

5

YE

643

Accessory Voltage

5

YE

643

Accessory Voltage (CF5)

6

L-GN

24

Backup Lamp Supply Voltage

6

L-GN

24

Backup Lamp Supply Voltage (DD7)

7

D-BU/WH

149

Courtesy Lamp Supply Voltage

7

D-BU/WH

149

Courtesy Lamp Supply Voltage

8

--

--

Not Used

8

--

--

Not Used

C417 Headliner Harness to the Body Harness (U3U)


Object Number: 1849813  Size: CH

Object Number: 1849811  Size: CH

Connector Part Information

  • OEM: 7283-6387-40
  • Service: See Catalog
  • Description: 6-Way F 0.64 Series (L-GY)

Connector Part Information

  • OEM: 7282-6561-40
  • Service: See Catalog
  • Description: 6-Way M 0.64 Series (L-GY)

Terminal Part Information

  • Terminal/Tray: See Terminal Repair Kit
  • Core/Insulation Crimp: See Terminal Repair Kit
  • Release Tool/Test Probe: See Terminal Repair Kit

Terminal Part Information

  • Terminal/Tray: See Terminal Repair Kit
  • Core/Insulation Crimp: See Terminal Repair Kit
  • Release Tool/Test Probe: See Terminal Repair Kit

C417 Headliner Harness to the Body Harness (U3U)

Pin

Wire Color

Circuit No.

Function

Pin

Wire Color

Circuit No.

Function

1-4

--

--

Not Used

1-4

--

--

Not Used

5

YE

655

Cellular Microphone Signal

5

YE

655

Cellular Microphone Signal

6

BARE

1489

Drain Wire

6

BARE

1489

Drain Wire

C419 Body Harness to the Rear HVAC Harness (C69)


Object Number: 476149  Size: CH

Object Number: 847281  Size: CH

Connector Part Information

  • OEM: 15326110
  • Service: 15306171
  • Description: 12-Way F 280 GT Series (BK)

Connector Part Information

  • OEM: 15326942
  • Service: 15326942
  • Description: 12-Way M GT 280 Series (BK)

Terminal Part Information

  • Pins: A, B, C, F, G, H, J, K, L
  • Terminal/Tray: 15304711/8
  • Core/Insulation Crimp: E/A
  • Release Tool/Test Probe: 15315247/J-35616-4A (PU)
  • Pins: D, E
  • Terminal/Tray: 15304713/19
  • Core/Insulation Crimp: 4/4
  • Release Tool/Test Probe: 15315247/J-35616-4A (PU)

Terminal Part Information

  • Terminal/Tray: See Terminal Repair Kit
  • Core/Insulation Crimp: See Terminal Repair Kit
  • Release Tool/Test Probe: See Terminal Repair Kit

C419 Body Harness to the Rear HVAC Harness (C69)

Pin

Wire Color

Circuit No.

Function

Pin

Wire Color

Circuit No.

Function

A

BN

6555

Rear Temperature Motor Supply Voltage

A

BN

6555

Rear Temperature Motor Supply Voltage

B

GY

2614

Auxiliary Air Temperature Door Control

B

GY

2614

Auxiliary Air Temperature Door Control

C

L-GN/WH

5729

Rear Mode Motor Supply Voltage

C

L-GN/WH

5729

Rear Mode Motor Supply Voltage

D

BK

550

Ground

D

BK

550

Ground

E

RD/WH

2640

Battery Positive Voltage

E

RD/WH

2640

Battery Positive Voltage

F

GY

596

5-Volt Reference

F

GY

596

5-Volt Reference

G

GY/BK

754

Blower Motor Speed Control

G

D-GN

2211

Auxiliary Blower Motor Speed Control

H

GY

2599

Auxiliary Mode Door Control

H

GY

2599

Auxiliary Mode Door Control

J

PK

2145

Air Temperature Switch Signal - Right

J

PK

2145

Air Temperature Switch Signal - Right

K

OG

2215

Auxiliary Mode Door Control

K

OG

2215

Auxiliary Mode Door Control

L

GY/BK

1798

Low Reference

L

GY/BK

1798

Ground

M

--

--

Not Used

M

--

--

Not Used

C420 Body Harness to the Left Inflatable Restraint Roof Rail Module Harness (ASF)


Object Number: 966375  Size: CH

Object Number: 646194  Size: CH

Connector Part Information

  • OEM: 12077921
  • Service: See Catalog
  • Description: 2-Way F Metri-Pack 280 Series (YE)

Connector Part Information

  • OEM: 12186799
  • Service: See Catalog
  • Description: 2-Way M 280 Series (YE)

Terminal Part Information

  • Terminal/Tray: See Terminal Repair Kit
  • Core/Insulation Crimp: See Terminal Repair Kit
  • Release Tool/Test Probe: See Terminal Repair Kit

Terminal Part Information

  • Terminal/Tray: See Terminal Repair Kit
  • Core/Insulation Crimp: See Terminal Repair Kit
  • Release Tool/Test Probe: See Terminal Repair Kit

C420 Body Harness to the Left Inflatable Restraint Roof Rail Module Harness (ASF)

Pin

Wire Color

Circuit No.

Function

Pin

Wire Color

Circuit No.

Function

A

D-GN

--

Side Impact Module - LF - High Control

A

BN

2137

Side Impact Module - LF - High Control

B

WH

--

Side Impact Module - LF - Low Control

B

YE/BK

2138

Side Impact Module - LF - Low Control

C421 Body Harness to the Right Inflatable Restraint Roof Rail Module Harness (ASF)


Object Number: 966375  Size: CH

Object Number: 646194  Size: CH

Connector Part Information

  • OEM: 12077921
  • Service: See Catalog
  • Description: 2-Way F Metri-Pack 280 Series (YE)

Connector Part Information

  • OEM: 12186799
  • Service: See Catalog
  • Description: 2-Way M 280 Series (YE)

Terminal Part Information

  • Terminal/Tray: See Terminal Repair Kit
  • Core/Insulation Crimp: See Terminal Repair Kit
  • Release Tool/Test Probe: See Terminal Repair Kit

Terminal Part Information

  • Terminal/Tray: See Terminal Repair Kit
  • Core/Insulation Crimp: See Terminal Repair Kit
  • Release Tool/Test Probe: See Terminal Repair Kit

C420 Body Harness to the Left Inflatable Restraint Roof Rail Module Harness (ASF)

Pin

Wire Color

Circuit No.

Function

Pin

Wire Color

Circuit No.

Function

A

D-GN

--

Side Impact Module - RF - High Control

A

TN/WH

2135

Side Impact Module - RF - High Control

B

WH

--

Side Impact Module - RF - Low Control

B

L-GN

2136

Side Impact Module - RF - Low Control

C500 Body Harness to the LF Door Harness


Object Number: 1413044  Size: CH

Object Number: 1460798  Size: CH

Connector Part Information

  • OEM: 7183-1584
  • Service: See Catalog
  • Description: 28-Way F 090 Class II Series, Sealed (WH)

Connector Part Information

  • OEM: 7182-1581
  • Service: See Catalog
  • Description: 28-Way M 090 Class II Series Sealed (WH)

Terminal Part Information

  • Pins: 7, 8, 9, 11, 12, 10, 19, 21
  • Terminal/Tray: 7116-4020/11
  • Core/Insulation Crimp: E/C
  • Release Tool/Test Probe: 15315247/J-35616-18 (BK)
  • Pins: 23, 24, 3, 4
  • Terminal/Tray: 7116-4021/11
  • Core/Insulation Crimp: Pins: 23, 24 : 2/A
  • Core/Insulation Crimp: Pins: 3, 4 : E/A
  • Release Tool/Test Probe: 15315247/J-35616-18 (BK)
  • Pins: 25, 26
  • Terminal/Tray: 7116-4022/11
  • Core/Insulation Crimp: 4/A
  • Release Tool/Test Probe: 15315247/J-35616-18 (BK)

Terminal Part Information

  • Terminal/Tray: See Terminal Repair Kit
  • Core/Insulation Crimp: See Terminal Repair Kit
  • Release Tool/Test Probe: See Terminal Repair Kit

C500 Body Harness to the LF Door Harness

Pin

Wire Color

Circuit No.

Function

Pin

Wire Color

Circuit No.

Function

1-2

--

--

Not Used

1-2

--

--

Not Used

3

GY

118

Left Front Speaker Output (-)

3

TN

118

Left Front Speaker Output (-)

4

TN

201

Left Front Speaker Output (+)

4

GY

201

Left Front Speaker Output (+)

5-6

--

--

Not Used

5-6

--

--

Not Used

7

OG/BK

781

Driver Door Lock Switch Unlock Signal

7

OG/BK

781

Driver Door Lock Switch Unlock Signal

8

PK/BK

780

Driver Door Lock Switch Lock Signal

8

RD/BK

780

Driver Door Lock Switch Lock Signal

9

L-GN

1499

Driver Mirror Motor Left/Down Control

9

YE

1499

Driver Mirror Motor Left/Down Control

10

BK/WH

651

Ground

10

BK

651

Ground

11

YE

88

Driver Mirror Motor Up Control

11

L-GN

88

Driver Mirror Motor Up Control

12

WH

81

Driver Mirror Motor Right Control

12

WH

81

Driver Mirror Motor Right Control

13

--

--

Not Used

13

BK

746

Right Front Door Ajar Switch Signal

14-18

--

--

Not Used

14-18

--

--

Not Used

19

GY/BK

745

Left Front Door Ajar Switch Signal

19

RD/BK

745

Left Front Door Ajar Switch Signal

20

--

--

Not Used

20

PU

294

Door Lock Actuator Unlock Control

21

BK/WH

651

Ground

21

OG

651

Ground

22

--

--

Not Used

22

--

--

Not Used

23

GY

295

Door Lock Actuator Lock Control

23

GY

295

Door Lock Actuator Lock Control

24

TN

694

Driver Door Lock Actuator Unlock Control

24

TN

694

Driver Door Lock Actuator Unlock Control

25

D-BU

164

Power Window Motor Left Front Up Control

25

D-BU

164

Power Window Motor Left Front Up Control

26

BN

165

Power Window Motor Left Front Down Control

26

BN

165

Power Window Motor Left Front Down Control

27-28

--

--

Not Used

27-28

--

--

Not Used

C600 Body Harness to the RF Door Harness


Object Number: 1413044  Size: CH

Object Number: 1460798  Size: CH

Connector Part Information

  • OEM: 7183-1584
  • Service: See Catalog
  • Description: 28-Way F 090 Class II Series, Sealed (WH)

Connector Part Information

  • OEM: 7182-1581
  • Service: See Catalog
  • Description: 28-Way M 090 Class II Series Sealed (WH)

Terminal Part Information

  • Pins: 7, 8, 9, 11, 12, 13, 21, 23
  • Terminal/Tray: 7116-4020/11
  • Core/Insulation Crimp: E/C
  • Release Tool/Test Probe: 15315247/J-35616-18 (BK)
  • Pins: 10, 20, 3, 4
  • Terminal/Tray: 7116-4021/11
  • Core/Insulation Crimp: Pins: 10, 20 : 2/A
  • Core/Insulation Crimp: Pins: 3, 4 : E/A
  • Release Tool/Test Probe: 15315247/J-35616-18 (BK)
  • Pins: 25, 26
  • Terminal/Tray: 7116-4022/11
  • Core/Insulation Crimp: 4/A
  • Release Tool/Test Probe: 15315247/J-35616-18 (BK)

Terminal Part Information

  • Terminal/Tray: See Terminal Repair Kit
  • Core/Insulation Crimp: See Terminal Repair Kit
  • Release Tool/Test Probe: See Terminal Repair Kit

C600 Body Harness to the RF Door Harness

Pin

Wire Color

Circuit No.

Function

Pin

Wire Color

Circuit No.

Function

1-2

--

--

Not Used

1-2

--

--

Not Used

3

D-GN

117

Right Front Speaker Output (-)

3

TN

117

Right Front Speaker Output (-)

4

L-GN

200

Right Front Speaker Output (+)

4

GY

200

Right Front Speaker Output (+)

5-6

--

--

Not Used

5-6

--

--

Not Used

7

D-BU

245

Passenger Door Lock Switch Unlock Supply Voltage

7

OG/BK

245

Passenger Door Lock Switch Unlock Signal

8

L-BU

244

Passenger Door Lock Switch Lock Supply Voltage

8

RD/BK

244

Passenger Door Lock Switch Lock Signal

9

L-BU/WHT

1497

Passenger Mirror Motor Left/Down Control

9

YE

1497

Passenger Mirror Motor Left/Down Control

10

GY

295

Door Lock Actuator Lock Control

10

BK

295

Door Lock Actuator Lock Control

11

PU/WH

889

Passenger Mirror Motor Down Control

11

L-GN

889

Passenger Mirror Motor Down Control

12

OG/WH

881

Passenger Mirror Motor Right Control

12

WH

881

Passenger Mirror Motor Right Control

13

TN/WH

746

Right Front Door Ajar Switch Signal

13

BK

746

Right Front Door Ajar Switch Signal

14-19

--

--

Not Used

14-18

--

--

Not Used

    

19

RD/BK

745

Left Front Door Ajar Switch Signal

20

TN

294

Door Lock Actuator Unlock Control

20

PU

294

Door Lock Actuator Unlock Control

21

BK/WH

651

Ground

21

OG

651

Ground

22

--

--

Not Used

22

--

--

Not Used

23

BK/WH

651

Ground

23

GY

651

Ground

24

--

--

Not Used

24

TN

694

Driver Door Lock Actuator Unlock Control

25

L-BU

166

Power Window Master Switch Right Front Up Signal

25

D-BU

166

Power Window Master Switch Right Front Up Signal

26

TN

167

Power Window Master Switch Right Front Down Signal

26

BN

167

Power Window Master Switch Right Front Down Signal

27-28

--

--

Not Used

27-28

--

--

Not Used

C700 Body Harness to the LR Door Harness


Object Number: 1413062  Size: CH

Object Number: 1415172  Size: CH

Connector Part Information

  • OEM: 7123-1413
  • Service: 88988485
  • Description: 18-Way F (WH)

Connector Part Information

  • OEM: 7122-1413
  • Service: See Catalog
  • Description: 21-Way M 0.070 Series (WH)

Terminal Part Information

  • Pins: A1, A2, A3
  • Terminal/Tray: 7116-1050/27
  • Core/Insulation Crimp: See Terminal Repair Kit
  • Release Tool/Test Probe: 12094430/J-35616-4A (PU)
  • Pins: B8, C2, C3, C8, B5, C6
  • Terminal/Tray: 173630-7/7
  • Core/Insulation Crimp: Pins: B8, C2, C3, C8 : E/A
  • Core/Insulation Crimp: Pins: B5, C6 : E/4
  • Release Tool/Test Probe: 15315247/J-35616-33 (YE)

Terminal Part Information

  • Terminal/Tray: See Terminal Repair Kit
  • Core/Insulation Crimp: See Terminal Repair Kit
  • Release Tool/Test Probe: See Terminal Repair Kit

C700 Body Harness to the LR Door Harness

Pin

Wire Color

Circuit No.

Function

Pin

Wire Color

Circuit No.

Function

A1

D-GN

168

Power Window Master Switch Left Rear Up Signal

A1

D-GN

168

Power Window Master Switch Left Rear Up Signal

A2

PU

169

Power Window Master Switch Left Rear Down Signal

A2

PU

169

Power Window Master Switch Left Rear Down Signal

A3

D-BU

1307

Power Window Master Switch Lockout Signal

A3

D-BU

1307

Power Window Master Switch Lockout Signal

B1-B4

--

--

Not Used

B1-B4

--

--

Not Used

B5

TN/WH

746

Right Front Door Ajar Switch Signal

B5

RD/BK

746

Right Front Door Ajar Switch Signal

B6

--

--

Not Used

B6

BK

746

Right Front Door Ajar Switch Signal

B7

--

--

Not Used

B7

--

--

Not Used

B8

GY

295

Door Lock Actuator Lock Control

B8

GY

295

Door Lock Actuator Lock Control

B9

--

--

Not Used

B9

--

--

Not Used

C1

--

--

Not Used

C1

--

--

Not Used

C2

YE

116

Left Rear Speaker Output (-)

C2

BN

116

Left Rear Speaker Output (-)

C3

BN

199

Left Rear Speaker Output (+)

C3

YE

199

Left Rear Speaker Output (+)

C4

--

--

Not Used

C4

--

--

Not Used

C5

--

--

Not Used

C5

PU

294

Door Lock Actuator Unlock Control

C6

BK/WH

651

Ground

C6

BK

651

Ground

C7

--

--

Not Used

C7

--

--

Not Used

C8

TN

294

Door Lock Actuator Unlock Control

C8

TN

294

Door Lock Actuator Unlock Control

C9

--

--

Not Used

C9

--

--

Not Used

C800 Body Harness to the RR Door Harness


Object Number: 1413062  Size: CH

Object Number: 1415172  Size: CH

Connector Part Information

  • OEM: 7123-1413
  • Service: 88988485
  • Description:18 Way F (WH)

Connector Part Information

  • OEM: 7122-1413
  • Service: See Catalog
  • Description: 21-Way M 0.070 Series (WH)

Terminal Part Information

  • Pins: A1, A2, A3
  • Terminal/Tray: 7116-1050/27
  • Core/Insulation Crimp: See Terminal Repair Kit
  • Release Tool/Test Probe: 12094430/J-35616-4A (PU)
  • Pins: C2, C3, C6, C5, B6, B8,
  • Terminal/Tray: 173630-7/7
  • Core/Insulation Crimp: Pins: C2, C3, C6, C5 : E/A
  • Core/Insulation Crimp: Pins: B6, B8 : E/4
  • Core/Insulation Crimp: Pins: :
  • Release Tool/Test Probe: 15315247/J-35616-33 (YE)

Terminal Part Information

  • Terminal/Tray: See Terminal Repair Kit
  • Core/Insulation Crimp: See Terminal Repair Kit
  • Release Tool/Test Probe: See Terminal Repair Kit

C800 Body Harness to the RR Door Harness

Pin

Wire Color

Circuit No.

Function

Pin

Wire Color

Circuit No.

Function

A1

L-GN

170

Power Window Master Switch Right Rear Up Signal

A1

D-GN

170

Power Window Master Switch Right Rear Up Signal

A2

PU

171

Power Window Master Switch Right Rear Down Signal

A2

PU

171

Power Window Master Switch Right Rear Down Signal

A3

D-BU

1307

Power Window Master Switch Lockout Signal

A3

D-BU

307

Headlamp Switch Flash to Pass Signal

B1-B4

--

--

Not Used

B1-B4

--

--

Not Used

B5

--

--

Not Used

B5

RD/BK

746

Right Front Door Ajar Switch Signal

B6

TN/WH

746

Right Front Door Ajar Switch Signal

B6

BK

746

Right Front Door Ajar Switch Signal

B7

--

--

Not Used

B7

--

--

Not Used

B8

BK/WH

651

Ground

B8

GY

651

Ground

B9

--

--

Not Used

B9

--

--

Not Used

C1

--

--

Not Used

C1

--

--

Not Used

C2

L-BU

115

Right Rear Speaker Output (-)

C2

BN

115

Right Rear Speaker Output (-)

C3

D-BU

46

Right Rear Speaker Output (+)

C3

YE

46

Right Rear Speaker Output (+)

C4

--

--

Not Used

C4

--

--

Not Used

C5

TN

294

Door Lock Actuator Unlock Control

C5

PU

294

Door Lock Actuator Unlock Control

C6

GY

295

Door Lock Actuator Lock Control

C6

BK

295

Door Lock Actuator Lock Control

C7

--

--

Not Used

C7

--

--

Not Used

C8

--

--

Not Used

C8

TN

294

Door Lock Actuator Unlock Control

C9

--

--

Not Used

C9

--

--

Not Used

C900 Body Harness to the Liftgate Harness


Object Number: 1849813  Size: CH

Object Number: 1849811  Size: CH

Connector Part Information

  • OEM: 7283-6387-30
  • Service: See Catalog
  • Description: 6-Way F 064 Series (BK)

Connector Part Information

  • OEM: 7282-6561-30
  • Service: See Catalog
  • Description: 6-Way M 064 Series (BK)

Terminal Part Information

  • Pins: 1, 2, 3, 6, 5, 4
  • Terminal/Tray: 7116-4720-02/14
  • Core/Insulation Crimp: Pins: 1, 2, 3, 6, 5 : H/H
  • Core/Insulation Crimp: Pins: 4 : J/J
  • Release Tool/Test Probe: 15315247/J-35616-64B (L-BU)

Terminal Part Information

  • Pins: 1, 4
  • Terminal/Tray: 7114-4721-02/14
  • Core/Insulation Crimp: See Terminal Repair Kit
  • Release Tool/Test Probe: 15315247/J-35616-65B (L-BU)
  • Pins: 2, 3, 6, 5
  • Terminal/Tray: 7114-4720-02/14
  • Core/Insulation Crimp: J/J
  • Release Tool/Test Probe: 15315247/J-35616-65B (L-BU)

C900 Body Harness to the Liftgate Harness

Pin

Wire Color

Circuit No.

Function

Pin

Wire Color

Circuit No.

Function

1

PK/BK

1303

Liftgate Ajar Switch Signal

1

PK/BK

1303

Liftgate Ajar Switch Signal

2

BN/WH

309

Right Park Lamp Supply Voltage

2

BN/WH

309

Right Park Lamp Supply Voltage

3

GY

391

Rear Window Wiper Switch Signal

3

GY

391

Rear Window Wiper Switch Signal

4

YE

243

Accessory Voltage

4

YE

243

Accessory Voltage

5

L-GN

2270

Rear Window Washer Relay Control

5

L-GN

2270

Rear Window Washer Relay Control

6

GY

5797

Rear Closure Handle Switch Open Signal

6

GY

5797

Rear Closure Handle Switch Open Signal

C901 Body Harness to the Liftgate Harness


Object Number: 1519696  Size: CH

Object Number: 1849802  Size: CH

Connector Part Information

  • OEM: 7283-6466-40
  • Service: See Catalog
  • Description: 6-Way F Kaizen YESC Series (L-GY)

Connector Part Information

  • OEM: 7282-6466-40
  • Service: See Catalog
  • Description: 6-Way M Kaizen YESC Series (L-GY)

Terminal Part Information

  • Pins: 3
  • Terminal/Tray: 7116-4110-02/9
  • Core/Insulation Crimp: E/C
  • Release Tool/Test Probe: 12094430/J-35616-4A (PU)
  • Pins: 1, 6, 5
  • Terminal/Tray: 7116-4111-02/9
  • Core/Insulation Crimp: C/A
  • Release Tool/Test Probe: 12094430/J-35616-4A (PU)
  • Pins: 4
  • Terminal/Tray: 7116-4112-02/9
  • Core/Insulation Crimp: C/D
  • Release Tool/Test Probe: 12094430/J-35616-35 (VT)

Terminal Part Information

  • Pins: 1, 6, 5
  • Terminal/Tray: 7114-4111-02/9
  • Core/Insulation Crimp: C/A
  • Release Tool/Test Probe: 12094430/J-35616-5 (PU)
  • Pins: 3
  • Terminal/Tray: 7114-4110-02/9
  • Core/Insulation Crimp: E/C
  • Release Tool/Test Probe: 12094430/J-35616-5 (PU)
  • Pins: 4
  • Terminal/Tray: 7114-4112-02/9
  • Core/Insulation Crimp: C/D
  • Release Tool/Test Probe: 12094430/J-35616-5 (PU)

C901 Body Harness to the Liftgate Harness

Pin

Wire Color

Circuit No.

Function

Pin

Wire Color

Circuit No.

Function

1

BK

550

Ground

1

BK

550

Ground

2

--

--

Not Used

2

--

--

Not Used

3

L-BU

6128

Rear Closure Unlatch Motor Unlatch Control

3

L-BU

6128

Rear Closure Unlatch Motor Unlatch Control

4

PU

293

Rear Defog Element Supply Voltage

4

PU

293

Rear Defog Element Supply Voltage

5

BK

550

Ground

5

BK

550

Ground

6

RD/WH

2140

Battery Positive Voltage

6

RD/WH

2140

Battery Positive Voltage

C906 Licence Lamp Harness to the Liftgate Harness


Object Number: 1413036  Size: CH

Object Number: 1464335  Size: CH

Connector Part Information

  • OEM: 7283-5531-40
  • Service: See Catalog
  • Description: 6-Way F YESC/USCAR Class III Series (L-GY)

Connector Part Information

  • OEM: 7282-5531-40
  • Service: 88988483
  • Description: 4-Way M YESC/USCAR Class III Series (L-GY)

Terminal Part Information

  • Terminal/Tray: See Terminal Repair Kit
  • Core/Insulation Crimp: See Terminal Repair Kit
  • Release Tool/Test Probe: See Terminal Repair Kit

Terminal Part Information

  • Terminal/Tray: 7114-4100-08/9
  • Core/Insulation Crimp: E/C
  • Release Tool/Test Probe: 15315247/J-35616-3 (GY)

C906 Licence Lamp Harness to the Liftgate Harness

Pin

Wire Color

Circuit No.

Function

Pin

Wire Color

Circuit No.

Function

1

BN/WH

309

Right Park Lamp Supply Voltage

1

BN/WH

309

Right Park Lamp Supply Voltage

2

BK

550

Ground

2

BK

550

Ground

3

GY

5797

Rear Closure Handle Switch Open Signal

3

GY

5797

Rear Closure Handle Switch Open Signal

4

GY

5797

Ground

4

BK

550

Ground