GM Service Manual Online
For 1990-2009 cars only

Engine Compartment


Object Number: 1770080  Size: MF

Body Side Opening


Object Number: 1770085  Size: MF

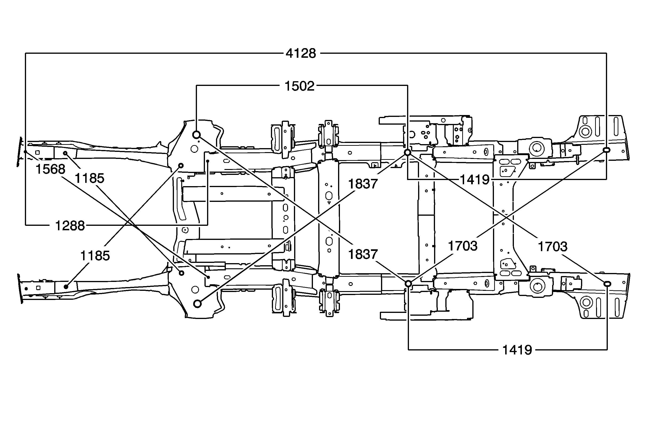
Underbody


Object Number: 1770088  Size: MF