GM Service Manual Online
For 1990-2009 cars only
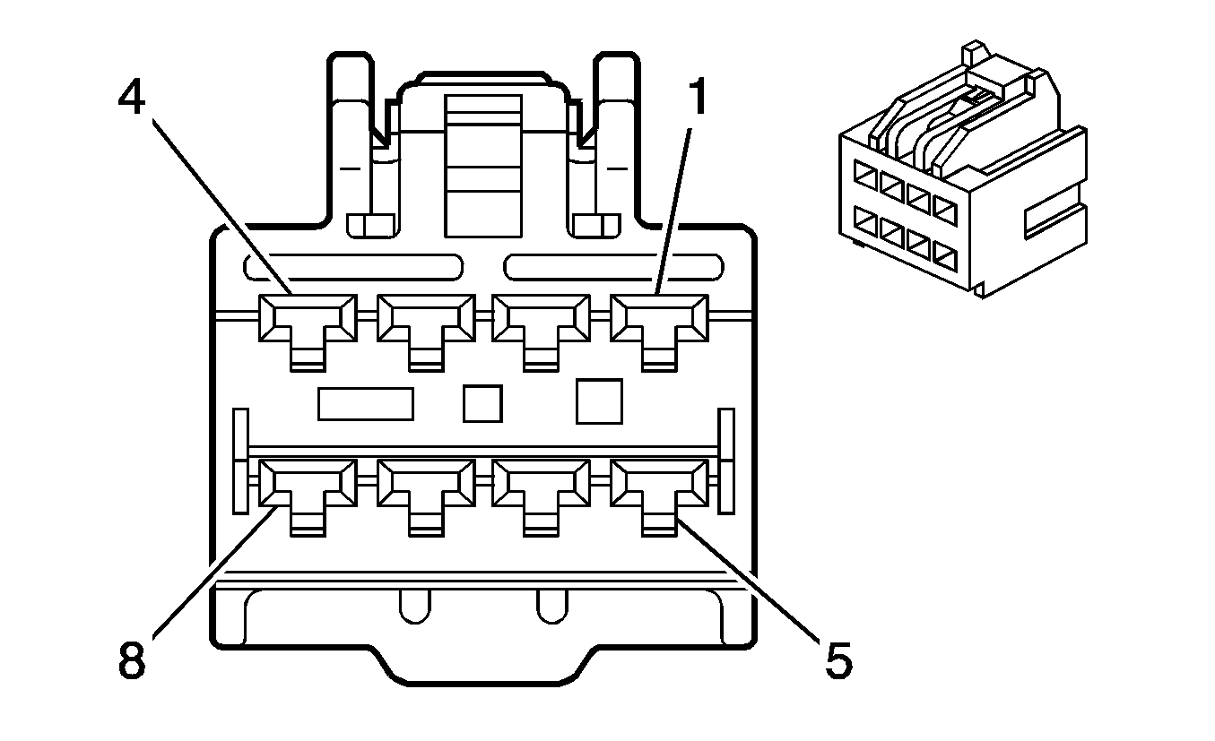
Connector 1: A/C Compressor Clutch
Connector 2: A/C Refrigerant Pressure Sensor
Connector 3: Accelerator Pedal Position (APP) Sensor
Connector 4: Accessory Power Outlet - Center Console 1
Connector 5: Accessory Power Outlet - Center Console 2
Connector 6: Accessory Power Outlet - Rear
Connector 7: Air Temperature Actuator
Connector 8: Air Temperature Actuator - Auxiliary (C69)
Connector 9: Air Temperature Sensor - Lower
Connector 10: Air Temperature Sensor - Upper
Connector 11: Ambient Air Temperature Sensor
Connector 12: Ambient Light Sensor
Connector 13: Audio Amplifier X1 (U65)
Connector 14: Audio Amplifier X2 (U65)
Connector 15: Audio Amplifier X3 (U65)
Connector 16: Audio/Video Adapter (UUC)
Connector 17: Automatic Transmission Fluid Temperature (TFT) Sensor
Connector 18: Automatic Transmission Shift Lock Control Solenoid
Connector 19: Backup Lamp - Left
Connector 20: Backup Lamp - Right
Connector 21: Battery (-)
Connector 22: Battery (+)
Connector 23: Battery Current Sensor
Connector 24: Blower Motor
Connector 25: Blower Motor - Auxiliary (C69)
Connector 26: Blower Motor Control Module X1
Connector 27: Blower Motor Control Module X2
Connector 28: Blower Motor Control Module - Auxiliary X1 (C69)
Connector 29: Blower Motor Control Module - Auxiliary X2 (C69)
Connector 30: Body Control Module (BCM) X1
Connector 31: Body Control Module (BCM) X2
Connector 32: Body Control Module (BCM) X3
Connector 33: Body Control Module (BCM) X4
Connector 34: Body Control Module (BCM) X5
Connector 35: Body Control Module (BCM) X6
Connector 36: Body Control Module (BCM) X7
Connector 37: Brake Fluid Level Switch
Connector 38: Brake Pedal Position Sensor
Connector 39: Camshaft Position (CMP) Actuator Solenoid Valve - Bank 1 Exhaust
Connector 40: Camshaft Position (CMP) Actuator Solenoid Valve - Bank 1 Intake
Connector 41: Camshaft Position (CMP) Actuator Solenoid Valve - Bank 2 Exhaust
Connector 42: Camshaft Position (CMP) Actuator Solenoid Valve - Bank 2 Intake
Connector 43: Camshaft Position (CMP) Sensor - Bank 1 Exhaust
Connector 44: Camshaft Position (CMP) Sensor - Bank 1 Intake
Connector 45: Camshaft Position (CMP) Sensor - Bank 2 Exhaust
Connector 46: Camshaft Position (CMP) Sensor - Bank 2 Intake
Connector 47: Cargo Lamp
Connector 48: Cellular Telephone Microphone (UE1)
Connector 49: Center High Mounted Stop Lamp (CHMSL)
Connector 50: Cigar Lighter
Connector 51: Crankshaft Position (CKP) Sensor
Connector 52: Data Link Connector (DLC)
Connector 53: Data Link Resistor (without MH6)
Connector 54: Digital Radio Receiver (U2K)
Connector 55: Dome Lamp (UUC)
Connector 56: Dome Lamp (without UUC)
Connector 57: Dome Lamp Switch (UUC)
Connector 58: Door Latch - Driver
Connector 59: Door Latch - Left Rear
Connector 60: Door Latch - Passenger
Connector 61: Door Latch - Right Rear
Connector 62: Door Lock Switch - Driver
Connector 63: Door Lock Switch - Passenger
Connector 64: Driver Information Center (DIC) Switch
Connector 65: Electronic Brake Control Module (EBCM)
Connector 66: Engine Control Module (ECM) X1
Connector 67: Engine Control Module (ECM) X2
Connector 68: Engine Coolant Temperature (ECT) Sensor
Connector 69: Engine Cooling Fan - Left
Connector 70: Engine Cooling Fan - Right
Connector 71: Engine Oil Pressure (EOP) Switch
Connector 72: Evaporative Emission (EVAP) Canister Purge Solenoid Valve
Connector 73: Evaporative Emissions (EVAP) Canister Vent Solenoid Valve
Connector 74: Evaporator Temperature Sensor
Connector 75: Fog Lamp - Left Front (T96)
Connector 76: Fog Lamp - Right Front (T96)
Connector 77: Fuel Injector 1
Connector 78: Fuel Injector 2
Connector 79: Fuel Injector 3
Connector 80: Fuel Injector 4
Connector 81: Fuel Injector 5
Connector 82: Fuel Injector 6
Connector 83: Fuel Pump and Sender Assembly
Connector 84: Fuel Tank Pressure (FTP) Sensor
Connector 85: Generator X1
Connector 86: Generator X2
Connector 87: Hazard Switch
Connector 88: Headlamp - Left
Connector 89: Headlamp - Right
Connector 90: Headlamp Dimmer Switch
Connector 91: Heated Oxygen Sensor (HO2S) - Bank 1 Sensor 1
Connector 92: Heated Oxygen Sensor (HO2S) - Bank 1 Sensor 2
Connector 93: Heated Oxygen Sensor (HO2S) - Bank 2 Sensor 1
Connector 94: Heated Oxygen Sensor (HO2S) - Bank 2 Sensor 2
Connector 95: Heated Seat Control Module X1 (KA1)
Connector 96: Heated Seat Control Module X2 (KA1)
Connector 97: Heated Seat Control Module X3 (KA1)
Connector 98: Heated Seat Control Module X4 (KA1)
Connector 99: Heated Seat Element - Driver Back (KA1)
Connector 100: Heated Seat Element - Driver Cushion (KA1)
Connector 101: Heated Seat Element - Passenger Back (KA1)
Connector 102: Heated Seat Element - Passenger Cushion (KA1)
Connector 103: Hood Ajar Switch
Connector 104: Horn
Connector 105: Horn Switch
Connector 106: HVAC Control Module X1
Connector 107: HVAC Control Module X2
Connector 108: HVAC Control Module X3
Connector 109: HVAC Control Module X4 (C69)
Connector 110: HVAC Control Module - Auxiliary (C69)
Connector 111: Ignition Coil 1
Connector 112: Ignition Coil 2
Connector 113: Ignition Coil 3
Connector 114: Ignition Coil 4
Connector 115: Ignition Coil 5
Connector 116: Ignition Coil 6
Connector 117: Ignition Lock Cylinder Control Solenoid
Connector 118: Ignition Switch
Connector 119: Inflatable Restraint Front End Sensor - Left
Connector 120: Inflatable Restraint Front End Sensor - Right
Connector 121: Inflatable Restraint Front Passenger Presence (PPS) System Module
Connector 122: Inflatable Restraint I/P Module X1
Connector 123: Inflatable Restraint I/P Module X2
Connector 124: Inflatable Restraint I/P Module Indicator
Connector 125: Inflatable Restraint Roof Rail Module - Left (ASF)
Connector 126: Inflatable Restraint Roof Rail Module - Right (ASF)
Connector 127: Inflatable Restraint Sensing and Diagnostic Module (SDM)
Connector 128: Inflatable Restraint Side Impact Sensor (SIS) - Left (ASF)
Connector 129: Inflatable Restraint Side Impact Sensor (SIS) - Right (ASF)
Connector 130: Inflatable Restraint Steering Wheel Module X1
Connector 131: Inflatable Restraint Steering Wheel Module X2
Connector 132: Inflatable Restraint Vehicle Rollover Sensor (ASF)
Connector 133: Infrared Transmitter (UUC)
Connector 134: Input Speed Sensor (ISS)
Connector 135: Inside Air Temperature Sensor
Connector 136: Inside Rearview Mirror (ISRVM)
Connector 137: Instrument Panel Cluster (IPC)
Connector 138: Knock Sensor (KS) 1
Connector 139: Knock Sensor (KS) 2
Connector 140: License Lamp - Left
Connector 141: License Lamp - Right
Connector 142: Liftgate Latch
Connector 143: Liftgate Switch
Connector 144: Marker Lamp - Left Front
Connector 145: Marker Lamp - Right Front
Connector 146: Mass Air Flow (MAF)/Intake Air Temperature (IAT) Sensor
Connector 147: Mode Actuator
Connector 148: Mode Actuator - Auxiliary (C69)
Connector 149: Noise Compensation Microphone (U3U)
Connector 150: Output Speed Sensor (OSS)
Connector 151: Outside Rearview Mirror - Driver
Connector 152: Outside Rearview Mirror - Passenger
Connector 153: Outside Rearview Mirror Switch
Connector 154: Overhead Console Courtesy/Reading Lamp
Connector 155: Park Brake Switch
Connector 156: Park Lamp - Left Front
Connector 157: Park Lamp - Right Front
Connector 158: Park Position Switch
Connector 159: Park/Turn Signal Lamp - Left Front
Connector 160: Park/Turn Signal Lamp - Left Rear
Connector 161: Park/Turn Signal Lamp - Right Front
Connector 162: Park/Turn Signal Lamp - Right Rear
Connector 163: Pressure Control (PC) Solenoid Valve
Connector 164: Radio X1
Connector 165: Radio X2
Connector 166: Radio X3 (UUC)
Connector 167: Radio X4 (U3U)
Connector 168: Rear Differential Clutch Control Module X1 (MH6)
Connector 169: Rear Differential Clutch Control Module X2 (MH6)
Connector 170: Rear Wheel Drive Module Clutch (MH6)
Connector 171: Rear Window Defogger Grid X1
Connector 172: Rear Window Defogger Grid X2
Connector 173: Rear Window Wiper Motor
Connector 174: Rear Window Wiper/Washer/Fog Lamp Switch
Connector 175: Recirculation Actuator
Connector 176: Remote Control Door Lock Receiver (RCDLR)
Connector 177: Seat Adjuster Switch - Driver (AG1)
Connector 178: Seat Belt Buckle - Driver
Connector 179: Seat Belt Buckle - Passenger
Connector 180: Seat Belt Pretensioner - Left
Connector 181: Seat Belt Pretensioner - Right
Connector 182: Seat Front Vertical Motor - Driver (AG1)
Connector 183: Seat Rear Vertical Motor - Driver (AG1)
Connector 184: Shift Pressure Control (PC) Solenoid Valve
Connector 185: Shift Solenoid (SS) Valve 1
Connector 186: Shift Solenoid (SS) Valve 2
Connector 187: Shift Solenoid (SS) Valve 3
Connector 188: Shift Solenoid (SS) Valve 4
Connector 189: Shift Solenoid (SS) Valve 5
Connector 190: Speaker - Left Front
Connector 191: Speaker - Left Front Tweeter
Connector 192: Speaker - Left Rear
Connector 193: Speaker - Right Front
Connector 194: Speaker - Right Front Tweeter
Connector 195: Speaker - Right Rear
Connector 196: Speaker - Subwoofer (U65)
Connector 197: Starter Motor X1
Connector 198: Starter Motor X2 (Battery Positive Cable)
Connector 199: Starter Motor X2 (Engine)
Connector 200: Steering Angle Sensor
Connector 201: Steering Wheel Control Switch - Left (K34)
Connector 202: Steering Wheel Control Switch - Right (UK3)
Connector 203: Sunroof Control Module X1 (CF5)
Connector 204: Sunroof Control Module X2 (CF5)
Connector 205: Sunroof Motor X1 (CF5)
Connector 206: Sunroof Motor X2 (CF5)
Connector 207: Sunroof Switch (CF5)
Connector 208: Tail/Stop Lamp - Left
Connector 209: Tail/Stop Lamp - Right
Connector 210: Theft Deterrent Module (TDM)
Connector 211: Throttle Body
Connector 212: Torque Converter Clutch (TCC) Solenoid Valve
Connector 213: Traction Control Switch (TCS)
Connector 214: Transmission Control Module (TCM) X1
Connector 215: Transmission Control Module (TCM) X2
Connector 216: Transmission Control Module (TCM) X3
Connector 217: Turn Signal/Multifunction Switch X1
Connector 218: Turn Signal/Multifunction Switch X2
Connector 219: Video Display (UUC)
Connector 220: Wheel Speed Sensor (WSS) - Left Front
Connector 221: Wheel Speed Sensor (WSS) - Left Rear
Connector 222: Wheel Speed Sensor (WSS) - Right Front
Connector 223: Wheel Speed Sensor (WSS) - Right Rear
Connector 224: Window Motor - Driver
Connector 225: Window Motor - Left Rear
Connector 226: Window Motor - Passenger
Connector 227: Window Motor - Right Rear
Connector 228: Window Switch - Driver
Connector 229: Window Switch - Left Rear
Connector 230: Window Switch - Passenger
Connector 231: Window Switch - Right Rear
Connector 232: Windshield Washer Fluid Pump
Connector 233: Windshield Wiper Motor
Connector 234: Windshield Wiper/Washer Switch
Connector 235: Yaw and Lateral Accelerometer Sensor

A/C Compressor Clutch


Object Number: 1413014  Size: CH

Connector Part Information

  • OEM: 7283-5448
  • Service: 89046838
  • Description: 2-Way F (BK)

Terminal Part Information

  • Terminal/Tray: 7116-4102-08/9
  • Core/Insulation Crimp: E/1
  • Release Tool/Test Probe: 12094430/J-35616-2A (GY)

A/C Compressor Clutch

Pin

Wire

Circuit

Function

1

0.5 D-GN

59

A/C Compressor Clutch Control

2

0.5 BK

150

Ground

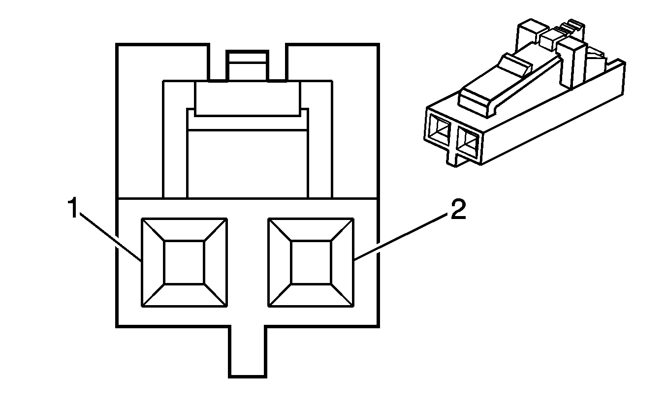
A/C Refrigerant Pressure Sensor


Object Number: 258299  Size: CH

Connector Part Information

  • OEM: 12110192
  • Service: 88988301
  • Description: 3-Way F Metri-Pack 150 Series (BK)

Terminal Part Information

  • Terminal/Tray: 12103881/2
  • Core/Insulation Crimp: E/C
  • Release Tool/Test Probe: 12180559-1/J-35616-2A (GY)

A/C Refrigerant Pressure Sensor

Pin

Wire

Circuit

Function

A

0.5 TN

5514

Low Reference

B

0.5 GY

2700

5-Volt Reference

C

0.5 OG/BK

380

A/C Refrigerant Pressure Sensor Signal

Accelerator Pedal Position (APP) Sensor


Object Number: 632357  Size: CH

Connector Part Information

  • OEM: 15326829
  • Service: 88988944
  • Description: 6-Way F 150 Sealed (BK)

Terminal Part Information

  • Terminal/Tray: 12191819/8
  • Core/Insulation Crimp: E/A
  • Release Tool/Test Probe: 15315247/J-35616-2A (GY)

Accelerator Pedal Position (APP) Sensor

Pin

Wire

Circuit

Function

A

0.35 PU

1272

Low Reference

B

0.35 L-BU

1162

Accelerator Pedal Position Sensor 2 Signal

C

0.35 TN

1274

5-Volt Reference

D

0.35 BN

1271

Low Reference

E

0.35 D-BU

1161

Accelerator Pedal Position Sensor 1 Signal

F

0.35 WH/BK

1164

5-Volt Reference

Accessory Power Outlet - Center Console 1


Object Number: 362748  Size: CH

Connector Part Information

  • OEM: 12176836
  • Service: 15305923
  • Description: 3-Way F Metri-Pack 280 Series (GY)

Terminal Part Information

  • Terminal/Tray: 12110844/4
  • Core/Insulation Crimp: C/A
  • Release Tool/Test Probe: 15315247/J-35616-4A (PU)

Accessory Power Outlet - Center Console 1

Pin

Wire

Circuit

Function

A

1.0 RD/WH

2540

Battery Positive Voltage

B

--

--

Not Used

C

1.0 BK

650

Ground

Accessory Power Outlet - Center Console 2


Object Number: 362748  Size: CH

Connector Part Information

  • OEM: 12176836
  • Service: 15305923
  • Description: 3-Way F Metri-Pack 280 Series (GY)

Terminal Part Information

  • Terminal/Tray: 12110844/4
  • Core/Insulation Crimp: C/A
  • Release Tool/Test Probe: 15315247/J-35616-4A (PU)

Accessory Power Outlet - Center Console 2

Pin

Wire

Circuit

Function

A

1.0 RD/WH

2540

Battery Positive Voltage

B

--

--

Not Used

C

1.0 BK

650

Ground

Accessory Power Outlet - Rear


Object Number: 362748  Size: CH

Connector Part Information

  • OEM: 12176836
  • Service: 15305923
  • Description: 3-Way F Metri-Pack 280 Series (GY)

Terminal Part Information

  • Terminal/Tray: 12110844/4
  • Core/Insulation Crimp: C/A
  • Release Tool/Test Probe: 15315247/J-35616-4A (PU)

Accessory Power Outlet - Rear

Pin

Wire

Circuit

Function

A

1.0 RD/WH

2540

Battery Positive Voltage

B

--

--

Not Used

C

1.0 BK

850

Ground

Air Temperature Actuator


Object Number: 258172  Size: CH

Connector Part Information

  • OEM: 12064982
  • Service: 12102633
  • Description: 5-Way F Micro-Pack 100 Series (BK)

Terminal Part Information

  • Terminal/Tray: See Terminal Repair Kit
  • Core/Insulation Crimp: See Terminal Repair Kit
  • Release Tool/Test Probe: See Terminal Repair Kit

Air Temperature Actuator

Pin

Wire

Circuit

Function

1

0.35 YE

1791

Low Reference

2

0.35 L-BU

733

Air Temperature Door Position Signal

3

0.35 GY

598

5-Volt Reference

4

0.35 L-BU

1316

Air Temperature Door Control

5

0.35 D-BU

1199

Air Temperature Door Control

Air Temperature Actuator - Auxiliary (C69)


Object Number: 258172  Size: CH

Connector Part Information

  • OEM: 12064982
  • Service: 12102633
  • Description: 5-Way F Micro-Pack 100 Series (BK)

Terminal Part Information

  • Terminal/Tray: See Terminal Repair Kit
  • Core/Insulation Crimp: See Terminal Repair Kit
  • Release Tool/Test Probe: See Terminal Repair Kit

Air Temperature Actuator - Auxiliary (C69)

Pin

Wire

Circuit

Function

1

0.35 GY/BK

1798

Ground

2

0.35 PK

2145

Air Temperature Switch Signal - Right

3

0.35 GY

596

5-Volt Reference

4

0.35 BN

6555

Rear Temperature Motor Control

5

0.35 GY

2614

Auxiliary Air Temperature Door Control

Air Temperature Sensor - Lower


Object Number: 82383  Size: CH

Connector Part Information

  • OEM: 15380927
  • Service: See Catalog
  • Description: 2-Way F Timer Micro II Series (BK)

Terminal Part Information

  • Terminal/Tray: See Terminal Repair Kit
  • Core/Insulation Crimp: See Terminal Repair Kit
  • Release Tool/Test Probe: See Terminal Repair Kit

Air Temperature Sensor - Lower

Pin

Wire

Circuit

Function

1

0.35 TN

520

Lower Right Air Temperature Sensor Signal

2

0.35 YE

61

Low Reference

Air Temperature Sensor - Upper


Object Number: 82383  Size: CH

Connector Part Information

  • OEM: 15380927
  • Service: See Catalog
  • Description: 2-Way F Timer Micro II Series (BK)

Terminal Part Information

  • Terminal/Tray: See Terminal Repair Kit
  • Core/Insulation Crimp: See Terminal Repair Kit
  • Release Tool/Test Probe: See Terminal Repair Kit

Air Temperature Sensor - Upper

Pin

Wire

Circuit

Function

1

0.35 TN

516

Upper Left Air Temperature Sensor Signal

2

0.35 YE

61

Low Reference

Ambient Air Temperature Sensor


Object Number: 684793  Size: CH

Connector Part Information

  • OEM: 12052642
  • Service: 12101856
  • Description: 2-Way F Metri-Pack 150 Series, Sealed (L-GN)

Terminal Part Information

  • Terminal/Tray: 12048074/2
  • Core/Insulation Crimp: E/1
  • Release Tool/Test Probe: 12094429/J-35616-2A (GY)

Ambient Air Temperature Sensor

Pin

Wire Color

Circuit No.

Function

A

0.35 L-GN/BK

735

Ambient Air Temperature Sensor Signal

B

0.35 YE

61

Low Reference

Ambient Light Sensor


Object Number: 130637  Size: CH

Connector Part Information

  • OEM: 12064760
  • Service: 12085208
  • Description: 4-Way F Metri-Pack 150 Series (BK)

Terminal Part Information

  • Terminal/Tray: 12064971/5
  • Core/Insulation Crimp: E/C
  • Release Tool/Test Probe: 12094429/J-35616-2A (GY)

Ambient Light Sensor

Pin

Wire

Circuit

Function

A

0.35 L-BU/BK

590

Driver Sunload Sensor Signal

B

0.35 GY

1548

Passenger Sunload Sensor Signal

C

0.35 BK/WH

1551

Ground

D

0.35 L-GN/BK

1137

Daytime Running Lamps Ambient Light Sensor Signal

Audio Amplifier X1 (U65)


Object Number: 1653389  Size: CH

Connector Part Information

  • OEM: 6098-4713
  • Service: 88988652
  • Description: 8-Way F 2.8 Series (BK)

Terminal Part Information

  • Pins: 1-4
  • Terminal/Tray: 8100-4444/22
  • Core/Insulation Crimp: 2/A
  • Release Tool/Test Probe: 15315247/J-35616-35 (VT)
  • Pins: 5, 8
  • Terminal/Tray: 8100-4445/22
  • Core/Insulation Crimp: 4/4
  • Release Tool/Test Probe: 15315247/J-35616-35 (VT)

Audio Amplifier X1 (U65)

Pin

Wire

Circuit

Function

1

1.0 L-GN/BK

1794

Subwoofer Speaker Output (-)

2

1.0 D-BU/WH

346

Subwoofer Speaker Output (+)

3

1.0 D-GN

1795

Right Subwoofer Speaker Output (+)

4

1.0 L-BU/BK

315

Right Subwoofer Speaker Output (-)

5

2.0 BK

850

Ground

6-7

--

--

Not Used

8

2.0 RD/WH

2040

Battery Positive Voltage

Audio Amplifier X2 (U65)


Object Number: 888604  Size: CH

Connector Part Information

  • OEM: 7283-5534-60
  • Service: 89047090
  • Description: 16-Way M YESC/USCAR Class II Sealed Series (GN)

Terminal Part Information

  • Terminal/Tray: 7116-4101-08/9
  • Core/Insulation Crimp: E/A
  • Release Tool/Test Probe: 12094430/J-35616-2A (GY)

Audio Amplifier X2 (U65)

Pin

Wire

Circuit

Function

1

0.8 YE

116

Left Rear Speaker Output (-)

2

0.8 BN

199

Left Rear Speaker Output (+)

3

0.8 D-BU

46

Right Rear Speaker Output (+)

4

0.8 L-BU

115

Right Rear Speaker Output (-)

5-8

--

--

Not Used

9

0.8 D-GN

117

Right Front Speaker Output (-)

10

0.8 L-GN

200

Right Front Speaker Output (+)

11

0.8 TN

201

Left Front Speaker Output (+)

12

0.8 GY

118

Left Front Speaker Output (-)

13-16

--

--

Not Used

Audio Amplifier X3 (U65)


Object Number: 1653409  Size: CH

Connector Part Information

  • OEM: 7283-9076-30
  • Service: See Catalog
  • Description: 16-Way F 0.64 Sealed (BK)

Terminal Part Information

  • Terminal/Tray: 7116-4618-02/14
  • Core/Insulation Crimp: P/P
  • Release Tool/Test Probe: J-38125-215/J-35616-64B (L-BU)

Audio Amplifier X3 (U65)

Pin

Wire

Circuit

Function

1

0.5 BN

1999

Left Rear Low Level Audio Signal (-)

2

0.5 TN

1946

Right Rear Low Level Audio Signal (-)

3

0.5 BN/WH

599

Left Rear Low Level Audio Signal (+)

4

0.5 D-BU

546

Right Rear Low Level Audio Signal (+)

5-7

--

--

Not Used

8

0.5 WH

1487

Antenna Enable Signal

9

0.5 L-GN/WH

512

Right Front Low Level Audio Signal (+)

10

0.5 D-GN

1947

Left Front Low Level Audio Signal (-)

11

0.5 L-GN

1948

Right Front Low Level Audio Signal (-)

12

0.5 TN

511

Left Front Low Level Audio Signal (+)

13-15

--

--

Not Used

16

0.5 OG

5748

Radio Audio Mute Signal

Audio/Video Adapter (UUC)


Object Number: 1715233  Size: CH

Connector Part Information

  • OEM: 15480082
  • Service: 19149303
  • Description: 8-Way F Micro 64 Series (GY)

Terminal Part Information

  • Terminal/Tray: 15359541/4
  • Core/Insulation Crimp: M/M
  • Release Tool/Test Probe: 15381651-2/J-35616-64B (L-BU)

Audio/Video Adapter (UUC)

Pin

Wire

Circuit

Function

1

0.5 BARE

5346

Drain Wire

2

--

--

Not Used

3

0.5 PU

2056

Auxiliary Video High Signal

4

--

--

Not Used

5

0.5 WH

2058

Auxiliary Audio Right Signal

6

0.5 YE

2059

Auxiliary Audio Left Signal

7

0.5 BARE

5345

Video Drain Wire

8

--

--

Not Used

Automatic Transmission Fluid Temperature (TFT) Sensor


Object Number: 1545985  Size: CH

Connector Part Information

  • OEM: Aisin AW
  • Service: Non-Serviceable
  • Description: Conn 2-Way M (BK)

Terminal Part Information

  • Terminal: Non-Serviceable
  • Core/Insulation Crimp: Non-Serviceable
  • Release Tool/Test Probe: Non-Serviceable

Automatic Transmission Fluid Temperature (TFT) Sensor

Pin

Wire

Circuit

Function

1

0.35 OG

--

Transmission Fluid Temperature Sensor Signal

2

0.35 OG

--

Low Reference

Automatic Transmission Shift Lock Control Solenoid


Object Number: 1879137  Size: CH

Connector Part Information

  • OEM: 90000223
  • Service: See Catalog
  • Description: 3-Way F (WH)

Automatic Transmission Shift Lock Control Solenoid

Pin

Wire

Circuit

Function

1

0.35 D-GN/WH

1135

Automatic Transmission Shift Lock Solenoid Control

2

--

--

Not Used

3

0.35 BK

1450

Ground

Backup Lamp - Left


Object Number: 1860067  Size: CH

Connector Part Information

  • OEM: 10351681
  • Service: See Catalog
  • Description: 2-Way F Lamp Socket Sealed (BK)

Terminal Part Information

  • Terminal/Tray: See Terminal Repair Kit
  • Core/Insulation Crimp: See Terminal Repair Kit
  • Release Tool/Test Probe: See Terminal Repair Kit

Backup Lamp - Left

Pin

Wire

Circuit

Function

1

0.8 L-GN

24

Backup Lamp Control

2

0.5 BK

550

Ground

Backup Lamp - Right


Object Number: 1860067  Size: CH

Connector Part Information

  • OEM: 10351681
  • Service: See Catalog
  • Description: 2-Way F Lamp Socket Sealed (BK)

Terminal Part Information

  • Terminal/Tray: See Terminal Repair Kit
  • Core/Insulation Crimp: See Terminal Repair Kit
  • Release Tool/Test Probe: See Terminal Repair Kit

Backup Lamp - Right

Pin

Wire

Circuit

Function

1

0.8 L-GN

24

Backup Lamp Control

2

0.8 BK

850

Ground

Battery (-)

Terminal Part Information

  • Terminal/Tray: 7106-2036
  • Core/Insulation Crimp: N/A
  • Description: Battery Terminal

Battery (-)

Pin

Wire

Circuit

Function

-

32 BK

50

Ground

19 BK

50

Ground

8 BK

50

Ground

Battery (+)

Terminal Part Information

  • Terminal/Tray: 7106-2035
  • Core/Insulation Crimp: N/A
  • Description: Battery Terminal

Battery (+)

Pin

Wire

Circuit

Function

+

32 RD

1

Ground

19 RD

1

Ground

Battery Current Sensor


Object Number: 646415  Size: CH

Connector Part Information

  • OEM: 13519047
  • Service: See Catalog
  • Description: 3-Way F GT 150 Sealed (BK)

Terminal Part Information

  • Terminal/Tray: 12191819/8
  • Core/Insulation Crimp: E/A
  • Release Tool/Test Probe: 15315247/J-35616-2A (GY)

Battery Current Sensor

Pin

Wire Color

Circuit No.

Function

A

0.35 PK

5076

Current Sensor Control

B

0.35 BN

5077

Low Reference

C

0.35WH

5075

Low Reference

Blower Motor


Object Number: 1817814  Size: CH

Connector Part Information

  • OEM: 15226103
  • Service: 88988507
  • Description: 2-Way F (L-GY)

Terminal Part Information

  • Terminal/Tray: 7116-4122-02/10
  • Core/Insulation Crimp: A/B
  • Release Tool/Test Probe: 12094430/J-35616-42 (RD)

Blower Motor

Pin

Wire

Circuit

Function

1

3.0 BK

2150

Ground

2

3.0 PU

65

Blower Motor Control

Blower Motor - Auxiliary (C69)


Object Number: 1837857  Size: CH

Connector Part Information

  • OEM: 10846816
  • Service: 88988507
  • Description: 2-Way F 6.3 Series (L-GY)

Terminal Part Information

  • Terminal/Tray: See Terminal Repair Kit
  • Core/Insulation Crimp: See Terminal Repair Kit
  • Release Tool/Test Probe: See Terminal Repair Kit

Blower Motor - Auxiliary (C69)

Pin

Wire

Circuit

Function

1

2.0 OG

5988

Low Reference

2

2.0 PU

65

Blower Motor Control

Blower Motor Control Module X1


Object Number: 1817814  Size: CH

Connector Part Information

  • OEM: 15226103
  • Service: 88988507
  • Description: 2-Way F (L-GY)

Terminal Part Information

  • Terminal/Tray: 7116-4122-02/10
  • Core/Insulation Crimp: A/B
  • Release Tool/Test Probe: 12094430/J-35616-42 (RD)

Blower Motor Control Module X1

Pin

Wire

Circuit

Function

1

3.0 PU

65

Blower Motor Control

2

3.0 BK

2150

Ground

Blower Motor Control Module X2


Object Number: 1798802  Size: CH

Connector Part Information

  • OEM: 7283-9749-30
  • Service: See Catalog
  • Description: 6-Way F YESC Kaizen series (BK)

Terminal Part Information

  • Pins: 3
  • Terminal/Tray: 12191812/19
  • Core/Insulation Crimp: E/C
  • Release Tool/Test Probe: 15315247/J-35616-2A (GY)
  • Pins: 5, 6
  • Terminal/Tray: 7116-4122-02/10
  • Core/Insulation Crimp: A/B
  • Release Tool/Test Probe: 12094430/J-35616-42 (RD)

Blower Motor Control Module X2

Pin

Wire

Circuit

Function

1-2

--

--

Not Used

3

0.35 GY/BK

754

Blower Motor Speed Control

4

--

--

Not Used

5

3.0 BK

1450

Ground

6

3.0 RD/BK

442

Battery Positive Voltage

Blower Motor Control Module - Auxiliary X1 (C69)


Object Number: 1837857  Size: CH

Connector Part Information

  • OEM: 10846816
  • Service: 88988507
  • Description: 2-Way F 6.3 Series (L-GY)

Terminal Part Information

  • Terminal/Tray: See Terminal Repair Kit
  • Core/Insulation Crimp: See Terminal Repair Kit
  • Release Tool/Test Probe: See Terminal Repair Kit

Blower Motor Control Module - Auxiliary X1 (C69)

Pin

Wire

Circuit

Function

1

2.0 PU

65

Blower Motor Control

2

2.0 OG

5988

Low Reference

Blower Motor Control Module - Auxiliary X2 (C69)


Object Number: 1837860  Size: CH

Connector Part Information

  • OEM: 13520671
  • Service: See Catalog
  • Description: 6-Way F GT 150 6.3 Series (BK)

Terminal Part Information

  • Terminal/Tray: See Terminal Repair Kit
  • Core/Insulation Crimp: See Terminal Repair Kit
  • Release Tool/Test Probe: See Terminal Repair Kit

Blower Motor Control Module - Auxiliary X2 (C69)

Pin

Wire

Circuit

Function

1-2

--

--

Not Used

3

0.35 D-GN

2211

Auxiliary Blower Motor Speed Control

4

--

--

Not Used

5

2.0 BK

550

Ground

6

2.0 RD/WH

2640

Battery Positive Voltage

Body Control Module (BCM) X1


Object Number: 1664495  Size: CH

Connector Part Information

  • OEM: HITPB-27-AL-M
  • Service: 88988838
  • Description: 27-Way F 0.64 Unsealed (L-GN)

Terminal Part Information

  • Terminal/Tray: SNAC3-A021T-M0.64/20
  • Core/Insulation Crimp: J/J
  • Release Tool/Test Probe: 12094429/J-35616-64B (L-BU)

Body Control Module (BCM) X1

Pin

Wire Color

Circuit No.

Function

1

--

--

Not Used

2

0.35WH

1390

Ignition Voltage

3

0.35 GY

1884

Cruise Control Switch Signal

4

0.35WH/BK

1073

Ignition Key Resistor Signal

5

0.35 L-GN

1715

Windshield Wiper Switch High Signal

6

0.35 D-BU

1796

Steering Wheel Controls Signal (UK3)

7

--

--

Not Used

8

0.35 BK/WH

1251

Ground

9

0.35 L-BU

1714

Windshield Wiper Switch Low Signal

10-13

--

--

Not Used

14

0.35 PK

3

Ignition Voltage

15

0.35 L-BU/WH

1414

Left Front Turn Signal Switch Signal/Left Turn Signal Switch Signal

16

0.35 D-BU/WH

1415

Right Front Turn Signal Switch Signal/Right Turn Signal Switch Signal

17

0.35 PU

1375

12-Volt Reference

18

0.35 PU

524

Headlamp Dimmer Switch High Beam Signal

19

0.35 TN

2144

Hazard Switch Signal

20

0.35 PU

5526

Tap Up/Tap Down Switch Signal

21

0.35 BN

4

Ignition Voltage

22-23

--

--

Not Used

24

0.35 PK

94

Rear Wiper Switch Signal

25

0.35 BN

1356

Flash To Pass Switch Signal

26

0.35 D-GN/WH

1135

A/T Shift Lock Control Solenoid Control

27

--

--

Not Used

Body Control Module (BCM) X2


Object Number: 1664496  Size: CH

Connector Part Information

  • OEM: HITPB-25-B-S
  • Service: 88988839
  • Description: 25-Way F Receptacle 0.64 2.8 Unsealed (WH)

Terminal Part Information

  • Pins: 1-3
  • Terminal/Tray: SNAC-A061T-M2.8/20
  • Core/Insulation Crimp: E/A
  • Release Tool/Test Probe: 12094429/J-35616-4A (PU)
  • Pins: 8, 11-12, 17, 21
  • Terminal/Tray: SNAC3-A021T-M0.64/20
  • Core/Insulation Crimp: J/J
  • Release Tool/Test Probe: 12094429/J-35616-64B (L-BU)

Body Control Module (BCM) X2

Pin

Wire Color

Circuit No.

Function

1

0.8 OG

1732

Inadvertent Power Control

2

0.8 RD/WH

1240

Battery Positive Voltage

3

0.8 GY

8

Instrument Panel Lamp Control

4-7

--

--

Not Used

8

0.35 BN/WH

301

Rear Park Lamps Control/Park Lamp Switch On Signal

9-10

--

--

Not Used

11

0.35 L-GN/BK

1137

DRL Ambient Light Sensor Signal

12

0.35 WH

103

Automatic Headlamp Relay Control

13-16

--

--

Not Used

17

0.35 D-GN

306

Headlamp Switch On Signa

18-20

--

--

Not Used

21

0.35 L-BU

1788

Traction Control Switch Signal

22

0.35 PU/WH

5905

Key Capture/Column Lock Shift Position Signal

23-25

--

--

Not Used

Body Control Module (BCM) X3


Object Number: 1664498  Size: CH

Connector Part Information

  • OEM: HITPB-25-C-LE
  • Service: 88988840
  • Description: 25-Way F HIT Series (L-BU)

Terminal Part Information

  • Pins: 1-3, 5
  • Terminal/Tray: SNAC-A061T-M2.8/20
  • Core/Insulation Crimp: E/A
  • Release Tool/Test Probe: 12094429/J-35616-4A (PU)
  • Pins: 7-19, 21-22
  • Terminal/Tray: SNAC3-A021T-M0.64/20
  • Core/Insulation Crimp: J/J
  • Release Tool/Test Probe: 12094429/J-35616-64B (L-BU)

Body Control Module (BCM) X3

Pin

Wire Color

Circuit No.

Function

1

0.8 BK/WH

1551

Ground

2

0.8 RD/WH

240

Battery Positive Voltage

3

0.8 RD/WH

1040

Battery Positive Voltage

4

--

--

Not Used

5

0.8 BK/WH

1551

Ground

6

--

--

Not Used

7

0.35 YE

749

Security Indicator Control

8

0.5 TN/BK

2500

High Speed GMLAN Serial Data Bus+

9

0.5 TN

2501

High Speed GMLAN Serial Data Bus-

10

0.35 D-GN

5060

Low Speed GMLAN Serial Data

11

0.35 D-GN

44

Instrument Panel Lamps Dimmer Switch Signal

12

0.35 OG/WH

812

12-Volt Reference

13

0.5 D-BU

6037

Brake Pedal Displacement Sensor Signal

14

0.5 OG/BK

6035

Low Reference

15

0.5 GY

6036

5-Volt Reference

16

0.5 TN/BK

2500

High Speed GMLAN Serial Data Bus+

17

0.5 TN

2501

High Speed GMLAN Serial Data Bus-

18

0.5 PU/WH

1382

LED Dimming Signal/LED Dimming Supply

19

0.35 L-BU

5986

Serial Data Communication Enable

20

--

--

Not Used

21

0.35 OG

192

Front Fog Lamp Switch Signal/Fog Lamps Enable

22

0.35 GN/WH

7158

Cruise Control Indicator Dimming Signal

23-25

--

--

Not Used

Body Control Module (BCM) X4


Object Number: 1664499  Size: CH

Connector Part Information

  • OEM: HITPB-25-D-K
  • Service: 88988841
  • Description: 25-Way F Receptacle 0.64 2.8 (BK)

Terminal Part Information

  • Pins: 1-5
  • Terminal/Tray: See Terminal Repair Kit
  • Core/Insulation Crimp: See Terminal Repair Kit
  • Release Tool/Test Probe: See Terminal Repair Kit
  • Pins: 7, 9-13, 15-17, 19, 21-23
  • Terminal/Tray: SNAC3-A021T-M0.64/20
  • Core/Insulation Crimp: J/J
  • Release Tool/Test Probe: 12094429/J-35616-64B (L-BU)

Body Control Module (BCM) X4

Pin

Wire Color

Circuit No.

Function

1

0.8 RD/WH

340

Battery Positive Voltage

2

0.8 RD/WH

240

Battery Positive Voltage

3

0.8 RD/WH

440

Battery Positive Voltage

4

0.8 RD/WH

1240

Battery Positive Voltage

5

0.8 D-BU/WH

1315

Right Front Turn Signal Lamp Control

6

--

--

Not Used

7

0.35 YE

196

Windshield Wiper Motor Park Switch Signal

8

--

--

Not Used

9

0.5 BK

50

Ground

10

0.35 RD/WH

2440

Battery Positive Voltage

11

0.35 D-GN/WH

1317

Fog Lamp Relay Control (T96)

12

0.5 YE

5187

Right Trailer Turn Signal Lamp (V92)

13

0.5 OG

5186

Left Trailer Turn Signal Lamp (V92)

14

--

--

Not Used

15

0.35 OG

2268

Windshield Washer Relay Control

16

0.35 TN/WH

1969

Headlamp High Beam Relay Control

17

0.35 PK/BK

109

Hood Ajar Switch Signal (AP3)

18

--

--

Not Used

19

0.35 BN

4

Ignition Voltage

20

--

--

Not Used

21

0.35 PK

1439

Ignition Voltage

22

0.35 YE

5704

Endgate Latch Relay Coil Control

23

0.35 PU

544

Headlamp Low Beam Control

24-25

--

--

Not Used

Body Control Module (BCM) X5


Object Number: 1664500  Size: CH

Connector Part Information

  • OEM: HITPB-25-E-N
  • Service: 88988837
  • Description: 25-Wat F Receptacle Unsealed 0.64 2.8 (BN)

Terminal Part Information

  • Pins: 1-2, 4-5
  • Terminal/Tray: See Terminal Repair Kit
  • Core/Insulation Crimp: See Terminal Repair Kit
  • Release Tool/Test Probe: See Terminal Repair Kit
  • Pins: 6, 8-10, 11, 14-16, 18, 20-21, 23-24
  • Terminal/Tray: SNAC3-A021T-M0.64/20
  • Core/Insulation Crimp: J/J
  • Release Tool/Test Probe: 12094429/J-35616-64B (L-BU)

Body Control Module (BCM) X5

Pin

Wire Color

Circuit No.

Function

1

0.8 YE

18

Left Rear Stop/Turn Lamp Control

2

0.8 D-GN

19

Right Rear Stop/Turn Lamp Control

3

--

--

Not Used

4

0.8 L-BU/WH

1314

Left Front Turn Signal Lamp Control

5

0.8 L-BU

1320

CHMSL Control

6

0.5 WH

17

Stop Lamp Switch Signal

7

--

--

Not Used

8

0.35 PK

5076

Current Sensor Control

9

0.35 WH

5075

Current Sensor Signal

10

0.35 BN

5077

Low Reference

11

0.35 TN

707

RAP Relay Coil Control

12-13

--

--

Not Used

14

0.5 YE

243

Ignition Voltage

15

0.35 PU

5531

Hood Closed Switch Signal (AP3)

16

0.5 OG/BK

233

Park Brake Switch Signal

17

--

--

Not Used

18

0.35 TN

28

Horn Relay Control

19

--

--

Not Used

20

0.35 GY

91

Windshield Wiper Switch Signal 2

21

0.35 TN

860

Front Windshield Wiper Switch High Signal

22

--

--

Not Used

23

0.35 PK/WH

1970

Headlamp Low Beam Relay Control

24

0.35 WH

1080

Park Lamp Relay Control

25

--

--

Not Used

Body Control Module (BCM) X6


Object Number: 1664502  Size: CH

Connector Part Information

  • OEM: HITPB-25-F-PK
  • Service: 88988842
  • Description: 25-WAY F Receptacle Unsealed 0.64 2.8 (PK)

Terminal Part Information

  • Pins: 1-2
  • Terminal/Tray: See Terminal Repair Kit
  • Core/Insulation Crimp: See Terminal Repair Kit
  • Release Tool/Test Probe: See Terminal Repair Kit
  • Pins: 8-10, 12, 15, 18
  • Terminal/Tray: SNAC3-A021T-M0.64/20
  • Core/Insulation Crimp: J/J
  • Release Tool/Test Probe: 12094429/J-35616-64B (L-BU)

Body Control Module (BCM) X6

Pin

Wire Color

Circuit No.

Function

1

0.8 D-BU/WH

149

Courtesy Lamp Control

2

0.8 L-GN

24

Backup Lamp Control

3-7

--

--

Not Used

8

0.35 TN/WH

746

Right Front Door Ajar Switch Signal

9

0.35 D-BU

245

Passenger Door Lock Switch Unlock Signal

10

0.35 GY/BK

745

Left Front Door Ajar Switch Signal

11

--

--

Not Used

12

0.35 PK/BK

1303

Liftgate Ajar Switch Signal

13-14

--

--

Not Used

15

0.35 GY

5797

Rear Closure Handle Switch Open Signal

16-17

--

--

Not Used

18

0.35 L-BU

244

Passenger Door Lock Switch Lock Signal

19-25

--

--

Not Used

Body Control Module (BCM) X7


Object Number: 1664505  Size: CH

Connector Part Information

  • OEM: HITPB-28-G-H
  • Service: 88988806
  • Description: 28-Way F Receptacle 0.64 (GY)

Terminal Part Information

  • Terminal/Tray: SNAC3-A021T-M0.64/20
  • Core/Insulation Crimp: J/J
  • Release Tool/Test Probe: 12094429/J-35616-64B (L-BU)

Body Control Module (BCM) X7

Pin

Wire Color

Circuit No.

Function

1-5

--

--

Not Used

6

0.35 YE

356

Driver Door Lock Relay Unlock Control

7

0.35 L-GN

1391

Driver Door Unlock Relay Control

8

--

--

Not Used

9

0.35 L-BU

5921

Driver Door Unlock Relay Control

10

--

--

Not Used

11

0.35 OG/BK

781

Driver Door Lock Switch Unlock Signal

12

0.35 PK/BK

780

Driver Door Lock Switch Lock Signal

13

0.35 D-GN

5706

Endgate Latch Relay Control

14-28

--

--

Not Used

Brake Fluid Level Switch


Object Number: 655692  Size: CH

Connector Part Information

  • OEM: 12162195
  • Service: 88987993
  • Description: 2-Way F Metri-Pack 150.2 Series, Sealed, Pull To Seat (BK)

Terminal Part Information

  • Terminal/Tray: 12124075/5
  • Core/Insulation Crimp: E/C
  • Release Tool/Test Probe: 12180559-1/J-35616-2A (GY)

Brake Fluid Level Switch

Pin

Wire

Circuit

Function

A

0.35 BK/WH

651

Ground

B

0.35 TN/WH

33

Brake Warning Indicator Control

Brake Pedal Position Sensor


Object Number: 1243663  Size: CH

Connector Part Information

  • OEM: 15332132
  • Service: 88953364
  • Description: 3-Way F GT 150 Series (BK)

Terminal Part Information

  • Terminal/Tray: 12191812/19
  • Core/Insulation Crimp: E/C
  • Release Tool/Test Probe: 15315247/J-35616-2A (GY)

Brake Pedal Position Sensor

Pin

Wire

Circuit

Function

A

0.5 OG/BK

6035

Low Reference

B

0.5 D-BU

6037

Brake Pedal Displacement Sensor Signal

C

0.5 GY

6036

5-Volt Reference

Camshaft Position (CMP) Actuator Solenoid Valve - Bank 1 Exhaust


Object Number: 1331453  Size: CH

Connector Part Information

  • OEM: 7283-7526-30
  • Service: 88988588
  • Description: 2-Way F (BK)

Terminal Part Information

  • Terminal/Tray: 7116-4026/11
  • Core/Insulation Crimp: E/1
  • Release Tool/Test Probe: 15313892/J-35616-18 (BK)

Camshaft Position (CMP) Actuator Solenoid Valve - Bank 1 Exhaust

Pin

Wire

Circuit

Function

1

0.8 PK/BK

5293

Ignition Voltage

2

0.8 L-GN

5282

Camshaft Phaser Exhaust Solenoid (1)

Camshaft Position (CMP) Actuator Solenoid Valve - Bank 1 Intake


Object Number: 1331453  Size: CH

Connector Part Information

  • OEM: 7283-7526-30
  • Service: 88988588
  • Description: 2-Way F (BK)

Terminal Part Information

  • Terminal/Tray: 7116-4026/11
  • Core/Insulation Crimp: E/1
  • Release Tool/Test Probe: 15313892/J-35616-18 (BK)

Camshaft Position (CMP) Actuator Solenoid Valve - Bank 1 Intake

Pin

Wire

Circuit

Function

1

0.8 PK/BK

5293

Ignition Voltage

2

0.8 PU

5284

Camshaft Phaser Intake Solenoid (1)

Camshaft Position (CMP) Actuator Solenoid Valve - Bank 2 Exhaust


Object Number: 1331453  Size: CH

Connector Part Information

  • OEM: 7283-7526-30
  • Service: 88988588
  • Description: 2-Way F (BK)

Terminal Part Information

  • Terminal/Tray: 7116-4026/11
  • Core/Insulation Crimp: E/1
  • Release Tool/Test Probe: 15313892/J-35616-18 (BK)

Camshaft Position (CMP) Actuator Solenoid Valve - Bank 2 Exhaust

Pin

Wire

Circuit

Function

1

0.8 PK/BK

5293

Ignition Voltage

2

0.8 WH/BK

5283

Camshaft Phaser Exhaust Solenoid (2)

Camshaft Position (CMP) Actuator Solenoid Valve - Bank 2 Intake


Object Number: 1331453  Size: CH

Connector Part Information

  • OEM: 7283-7526-30
  • Service: 88988588
  • Description: 2-Way F (BK)

Terminal Part Information

  • Terminal/Tray: 7116-4026/11
  • Core/Insulation Crimp: E/1
  • Release Tool/Test Probe: 15313892/J-35616-18 (BK)

Camshaft Position (CMP) Actuator Solenoid Valve - Bank 2 Intake

Pin

Wire

Circuit

Function

1

0.8 PK/BK

5293

Ignition Voltage

2

0.8 OG/BK

5272

Camshaft Phaser Intake Solenoid (2)

Camshaft Position (CMP) Sensor - Bank 1 Exhaust


Object Number: 1331443  Size: CH

Connector Part Information

  • OEM: 1928403968
  • Service: 88988595
  • Description: 3-Way F Kompakt 2.8 Series Sealed (BK)

Terminal Part Information

  • Terminal/Tray: 1928498056/8
  • Core/Insulation Crimp: E/1
  • Release Tool/Test Probe: J-38125-561/J-35616-4A (PU)

Camshaft Position (CMP) Sensor - Bank 1 Exhaust

Pin

Wire

Circuit

Function

1

0.5 TN

552

Low Reference

2

0.5 D-GN

5273

Camshaft Position Exhaust Sensor (1)

3

0.5 GY

705

5-Volt Reference

Camshaft Position (CMP) Sensor - Bank 1 Intake


Object Number: 1331443  Size: CH

Connector Part Information

  • OEM: 1928403968
  • Service: 88988595
  • Description: 3-Way F Kompakt 2.8 Series Sealed (BK)

Terminal Part Information

  • Terminal/Tray: 1928498056/8
  • Core/Insulation Crimp: E/1
  • Release Tool/Test Probe: J-38125-561/J-35616-4A (PU)

Camshaft Position (CMP) Sensor - Bank 1 Intake

Pin

Wire

Circuit

Function

1

0.5 TN

552

Low Reference

2

0.5 OG

5275

Camshaft Position Intake Sensor (1)

3

0.5 GY

705

5-Volt Reference

Camshaft Position (CMP) Sensor - Bank 2 Exhaust


Object Number: 1331443  Size: CH

Connector Part Information

  • OEM: 1928403968
  • Service: 88988595
  • Description: 3-Way F Kompakt 2.8 Series Sealed (BK)

Terminal Part Information

  • Terminal/Tray: 1928498056/8
  • Core/Insulation Crimp: E/1
  • Release Tool/Test Probe: J-38125-561/J-35616-4A (PU)

Camshaft Position (CMP) Sensor - Bank 2 Exhaust

Pin

Wire

Circuit

Function

1

0.5 TN

552

Low Reference

2

0.5 PU

5274

Camshaft Position Exhaust Sensor (2)

3

0.5 GY

705

5-Volt Reference

Camshaft Position (CMP) Sensor - Bank 2 Intake


Object Number: 1331443  Size: CH

Connector Part Information

  • OEM: 1928403968
  • Service: 88988595
  • Description: 3-Way F Kompakt 2.8 Series Sealed (BK)

Terminal Part Information

  • Terminal/Tray: 1928498056/8
  • Core/Insulation Crimp: E/1
  • Release Tool/Test Probe: J-38125-561/J-35616- 4A (PU)

Camshaft Position (CMP) Sensor - Bank 2 Intake

Pin

Wire

Circuit

Function

1

0.5 TN

552

Low Reference

2

0.5 YE

5276

Camshaft Position Intake Sensor (2)

3

0.5 GY

705

5-Volt Reference

Cargo Lamp


Object Number: 130635  Size: CH

Connector Part Information

  • OEM: 12045813
  • Service: 12101889
  • Description: 4-Way F Metri-pack 150 Series (BK)

Cargo Lamp

Pin

Wire

Circuit

Function

A

--

--

Not Used

B

0.8 GY

157

Interior Lamp Control

C

--

--

Not Used

D

0.8 BK

850

Ground

Cellular Telephone Microphone (UE1)


Object Number: 35441  Size: CH

Connector Part Information

  • OEM: 12047663
  • Service: 12085481
  • Description: 2-Way M Metri-Pack 150 Series (BK)

Terminal Part Information

  • Terminal/Tray: See Terminal Repair Kit
  • Core/Insulation Crimp: See Terminal Repair Kit
  • Release Tool/Test Probe: See Terminal Repair Kit

Cellular Telephone Microphone (UE1)

Pin

Wire

Circuit

Function

A

0.5 BARE

1489

Drain Wire

B

0.5 GY

655

Cellular Microphone Signal

Center High Mounted Stop Lamp (CHMSL)


Object Number: 1413080  Size: CH

Connector Part Information

  • OEM: 7223-1324
  • Service: 88988460
  • Description: 2-Way F 090 Series (WH)

Terminal Part Information

  • Terminal/Tray: 7116-1420/11
  • Core/Insulation Crimp: E/1
  • Release Tool/Test Probe: 15315247/J-35616-18 (BK)

Center High Mounted Stop Lamp (CHMSL)

Pin

Wire

Circuit

Function

1

0.5 L-BU

1320

Center High Mounted Stop Lamp Control

2

0.5 BK

850

Ground

Cigar Lighter


Object Number: 362748  Size: CH

Connector Part Information

  • OEM: 12176836
  • Service: 15305923
  • Description: 3-Way F Metri-Pack 280 Series (GY)

Terminal Part Information

  • Terminal/Tray: 12110844/4
  • Core/Insulation Crimp: C/A
  • Release Tool/Test Probe: 15315247/J-35616-4A (PU)

Cigar Lighter

Pin

Wire

Circuit

Function

A

1.0 RD/WH

2540

Battery Positive Voltage

B

--

--

Not Used

C

1.0 BK

650

Ground

Crankshaft Position (CKP) Sensor


Object Number: 1664596  Size: CH

Connector Part Information

  • OEM: 89047365
  • Service: 88988337
  • Description: 3-Way F Sealed (GN)

Terminal Part Information

  • Terminal/Tray: 33467-0005/23
  • Core/Insulation Crimp: J/J
  • Release Tool/Test Probe: J-38125-213/J-35616-64B (L-BU)

Crankshaft Position (CKP) Sensor

Pin

Wire

Circuit

Function

1

0.5 TN

452

Low Reference

2

0.5 YE

573

CKP Sensor 1 Signal

3

0.5 GY

605

5-Volt Reference

Data Link Connector (DLC)


Object Number: 1243575  Size: CH

Connector Part Information

  • OEM: 348822-2
  • Service: 89046778
  • Description: 16-Way F Diagnostic Connector (BK)

Terminal Part Information

  • Terminal/Tray: 776001-1/16
  • Core/Insulation Crimp: E/C
  • Release Tool/Test Probe: 15315247/J-35616-2A (GY)

Data Link Connector (DLC)

Pin

Wire Color

Circuit No.

Function

1

0.35 D-GN

5060

Low Speed GMLAN Serial Data

2-3

--

--

Not Used

4

0.5 BK

1450

Ground

5

0.35 BK/WH

1551

Ground

6

0.5 TN/BK

2500

High Speed GMLAN Serial Data Bus+

7-13

--

--

Not Used

14

0.5 TN

2501

High Speed GMLAN Serial Data Bus-

15

--

--

Not Used

16

0.35 RD/WH

1840

Battery Positive Voltage

Data Link Resistor (without MH6)


Object Number: 523630  Size: CH

Connector Part Information

  • OEM: 15326801
  • Service: 15306156
  • Description: 2-Way F GT 150 Series (BK)

Terminal Part Information

  • Terminal/Tray: 12191819/8
  • Core/Insulation Crimp: E/A
  • Release Tool/Test Probe: 15315247/J-35616-2A (GY)

Data Link Resistor (without MH6)

Pin

Wire Color

Circuit No.

Function

A

0.5 TN/BK

2500

High Speed GMLAN Serial Data Bus+

B

0.5 TN

2501

High Speed GMLAN Serial Data Bus-

Digital Radio Receiver (U2K)


Object Number: 850856  Size: CH

Connector Part Information

  • OEM: 15394150
  • Service: See Catalog
  • Description: 16-Way F Micro 64 Series, Unsealed (BK)

Terminal Part Information

  • Terminal/Tray: 15359541/4
  • Core/Insulation Crimp: M/M
  • Release Tool/Test Probe: 15381651-2/J-35616-64B (L-BU)

Digital Radio Receiver (U2K)

Pin

Wire

Circuit

Function

1

0.5 TN/WH

372

Remote Radio Audio Output (-)

2

0.5 BN/WH

367

Remote Radio Left Audio Signal

3

0.5 D-GN/WH

368

Remote Radio Right Audio Signal

4

0.5 GY

388

Remote Radio Right Audio Signal

5

0.35 D-GN

5060

Low Speed GMLAN Serial Data

6-8

--

--

Not Used

9

0.5 BK/WH

651

Ground

10

--

--

Not Used

11

0.35 BARE

6759

Discrete Audio Drain Wire

12-15

--

--

Not Used

16

0.5 RD/WH

2340

Battery Positive Voltage

Dome Lamp (UUC)


Object Number: 333035  Size: CH

Connector Part Information

  • OEM: 12047781
  • Service: 12101864
  • Description: 3-Way F Metri-Pack 150 Series (BK)

Terminal Part Information

  • Terminal/Tray: See Terminal Repair Kit
  • Core/Insulation Crimp: See Terminal Repair Kit
  • Release Tool/Test Probe: See Terminal Repair Kit

Dome Lamp (UUC)

Pin

Wire

Circuit

Function

A

0.8 OG

1732

Courtesy Lamps Control

B

0.8 BK

850

Ground

C

0.8 GY

157

Courtesy Lamp Control

Dome Lamp (without UUC)


Object Number: 130635  Size: CH

Connector Part Information

  • OEM: 12045813
  • Service: 12101889
  • Description: 4-Way F Metri-pack 150 Series (BK)

Dome Lamp (without UUC)

Pin

Wire

Circuit

Function

A

0.8 YE

149

Right Headlamp Low Beam Control

B

0.8 GY

157

Interior Lamp Control

C

0.8 OG

1732

12-Volt Reference

D

0.8 BK

850

Ground

Dome Lamp Switch (UUC)


Object Number: 287973  Size: CH

Connector Part Information

  • OEM: 12047782
  • Service: 12117371
  • Description: 3-Way M Metri-Pack 150 Series (BK)

Terminal Part Information

  • Terminal/Tray: See Terminal Repair Kit
  • Core/Insulation Crimp: See Terminal Repair Kit
  • Release Tool/Test Probe: See Terminal Repair Kit

Dome Lamp Switch (UUC)

Pin

Wire

Circuit

Function

A

0.8 D-BU/WH

149

Courtesy Lamp Control

B

0.8 GY

157

Courtesy Lamp Control

C

0.8 OG

1732

Courtesy Lamps Control

Door Latch - Driver


Object Number: 812596  Size: CH

Connector Part Information

  • OEM: 6-1355683-1
  • Service: 88986251
  • Description: 6-Way F Sealed (BK)

Terminal Part Information

  • Terminal/Tray: See Terminal Repair Kit
  • Core/Insulation Crimp: See Terminal Repair Kit
  • Release Tool/Test Probe: See Terminal Repair Kit

Door Latch - Driver

Pin

Wire

Circuit

Function

1

0.35 BK

746

Not Used

2

0.5 TN

694

Driver Door Lock Actuator Unlock Control

3

1.0 GY

295

Door Lock Actuator Lock Control

4

0.5 RD/BK

745

Left Front Door Ajar Switch Signal

5

1.0 PU

294

Not Used

6

0.35 BK

651

Ground

Door Latch - Left Rear


Object Number: 812596  Size: CH

Connector Part Information

  • OEM: 6-1355683-1
  • Service: 88986251
  • Description: 6-Way F Sealed (BK)

Terminal Part Information

  • Terminal/Tray: See Terminal Repair Kit
  • Core/Insulation Crimp: See Terminal Repair Kit
  • Release Tool/Test Probe: See Terminal Repair Kit

Door Latch - Left Rear

Pin

Wire

Circuit

Function

1

0.35 BK

746

Not Used

2

1.0 TN

294

Door Lock Actuator Unlock Control

3

1.0 GY

295

Door Lock Actuator Lock Control

4

0.5 RD/BK

746

Right Front Door Ajar Switch Signal

5

0.35 PU

294

Not Used

6

0.35 BK

651

Ground

Door Latch - Passenger


Object Number: 812596  Size: CH

Connector Part Information

  • OEM: 6-1355683-1
  • Service: 88986251
  • Description: 6-Way F Sealed (BK)

Terminal Part Information

  • Terminal/Tray: See Terminal Repair Kit
  • Core/Insulation Crimp: See Terminal Repair Kit
  • Release Tool/Test Probe: See Terminal Repair Kit

Door Latch - Passenger

Pin

Wire

Circuit

Function

1

0.35 BK

746

Right Front Door Ajar Switch Signal

2

0.35 TN

694

Not Used

3

0.35 GY

651

Ground

4

0.35 RD/BK

745

Not Used

5

0.35 PU

294

Door Lock Actuator Unlock Control

6

0.35 BK

295

Door Lock Actuator Lock Control

Door Latch - Right Rear


Object Number: 812596  Size: CH

Connector Part Information

  • OEM: 6-1355683-1
  • Service: 88986251
  • Description: 6-Way F Sealed (BK)

Terminal Part Information

  • Terminal/Tray: See Terminal Repair Kit
  • Core/Insulation Crimp: See Terminal Repair Kit
  • Release Tool/Test Probe: See Terminal Repair Kit

Door Latch - Right Rear

Pin

Wire

Circuit

Function

1

0.35 BK

746

Right Front Door Ajar Switch Signal

2

0.35 PU

294

Door Lock Actuator Unlock Control

3

0.35 GY

651

Ground

4

0.5 RD/BK

746

Right Front Door Ajar Switch Signal

5

1.0 PU

294

Door Lock Actuator Unlock Control

6

1.0 BK

295

Door Lock Actuator Lock Control

Door Lock Switch - Driver


Object Number: 1456982  Size: CH

Connector Part Information

  • OEM: 6098-0241
  • Service: See Catalog
  • Description: 3-Way F HD 090 Series (L-GY)

Terminal Part Information

  • Terminal/Tray: See Terminal Repair Kit
  • Core/Insulation Crimp: See Terminal Repair Kit
  • Release Tool/Test Probe: See Terminal Repair Kit

Door Lock Switch - Driver

Pin

Wire

Circuit

Function

1

0.35 RD/BK

780

Driver Door Lock Switch Lock Signal

2

0.35 OG/BK

781

Driver Door Lock Switch Unlock Signal

3

0.35 OG

651

Driver Mirror Motor Left/Down Control

Door Lock Switch - Passenger


Object Number: 1456982  Size: CH

Connector Part Information

  • OEM: 6098-0241
  • Service: See Catalog
  • Description: 3-Way F HD 090 Series (L-GY)

Terminal Part Information

  • Terminal/Tray: See Terminal Repair Kit
  • Core/Insulation Crimp: See Terminal Repair Kit
  • Release Tool/Test Probe: See Terminal Repair Kit

Door Lock Switch - Passenger

Pin

Wire

Circuit

Function

1

0.35 RD/BK

244

Passenger Door Lock Switch Lock Signal

2

0.35 OG/BK

245

Passenger Door Lock Switch Unlock Signal

3

0.35 OG

651

Ground

Driver Information Center (DIC) Switch


Object Number: 1715224  Size: CH

Connector Part Information

  • OEM: HCMPB-A05-K
  • Service: 88988747
  • Description: 5-Way F HCM Unsealed (BK)

Terminal Part Information

  • Terminal/Tray: SHCM-A03T-P025/20
  • Core/Insulation Crimp: J/J
  • Release Tool/Test Probe: 12094429/J-35616-64B (L-BU)

Driver Information Center (DIC) Switch

Pin

Wire

Circuit

Function

1

0.5 D-GN/WH

1358

Driver Information Center Switch Signal

2

0.5 BN

897

Low Reference

3

0.5 PK

893

Driver Information Center Select Menu Switch Signal

4

0.35 PU/WH

1382

LED Dimming Signal

5

0.35 BK

1450

Ground

Electronic Brake Control Module (EBCM)


Object Number: 1830966  Size: CH

Connector Part Information

  • OEM: 7-1355628-6
  • Service: See Catalog
  • Description: 47-Way F MK25/60 Series (BK)

Terminal Part Information

  • Pins: 32
  • Terminal/Tray: 7116-4141-02/10
  • Core/Insulation Crimp: 4/3
  • Release Tool/Test Probe: 12094430/J-35616-42 (RD)
  • Pins: 1, 16
  • Terminal/Tray: 7116-4142-02/10
  • Core/Insulation Crimp: Pins 1 - A/3
  • Core/Insulation Crimp: Pins 16 - D/3
  • Release Tool/Test Probe: 12094430/J-35616-42 (RD)
  • Pins: 3-4, 8, 11-14, 18-19, 22, 29, 33-34, 36-37, 42-43, 45
  • Terminal/Tray: 638551-1/16
  • Core/Insulation Crimp: Pins: 3, 11-14, 18-19, 22, 29, 33-34, 36-37, 42-43, 45-96 - K/K
  • Core/Insulation Crimp: Pins 8 - J/J
  • Release Tool/Test Probe: 15315247/J-35616-64B (L-BU)

Electronic Brake Control Module (EBCM)

Pin

Wire

Circuit

Function

1

3.0 RD/BK

142

Battery Positive Voltage

2

--

--

Not Used

3

0.5 D-GN/WH

817

Vehicle Speed Signal

4-7

--

--

Not Used

8

0.35 L-BU

5986

Serial Data Communication Enable

9-10

--

--

Not Used

11

0.5 TN/BK

2500

High Speed GMLAN Serial Data Bus+

12

0.5 TN/BK

2500

High Speed GMLAN Serial Data Bus+

13

0.5 TN

2501

High Speed GMLAN Serial Data Bus-

14

0.5 TN

2501

High Speed GMLAN Serial Data Bus-

15

--

--

Not Used

16

5.0 BK

250

Ground

17

--

--

Not Used

18

0.5 TN/WH

6433

CAN Bus High Serial Data

19

0.5 L-GN/BK

6432

CAN Bus Low Serial Data

20-21

--

--

Not Used

22

0.5 GY

6044

5-Volt Reference

23-28

--

--

Not Used

29

0.5 OG/BK

6045

Low Reference

30-31

--

--

Not Used

32

2.0 RD/WH

140

Battery Positive Voltage

33

0.5 TN

833

Low Reference

34

0.5 D-GN

872

Right Front Wheel Speed Sensor Signal

35

--

--

Not Used

36

0.5 TN

884

Left Rear Wheel Speed Sensor Signal

37

0.5 OG

885

Low Reference

38-41

--

--

Not Used

42

0.5 WH

883

Low Reference

43

0.5 BN

882

Right Rear Wheel Speed Sensor Signal

44

--

--

Not Used

45

0.5 L-BU

830

Left Front Wheel Speed Sensor Signal

46

0.5 YE

873

Low Reference

47

--

--

Not Used

Engine Control Module (ECM) X1


Object Number: 1826274  Size: CH

Connector Part Information

  • OEM: 1928404927
  • Service: See Catalog
  • Description: 96-Way F 1.2 Series Sealed (BK)

Terminal Part Information

  • Terminal/Tray: 1928498135/19
  • Core/Insulation Crimp: J/J
  • Release Tool/Test Probe: J-38125-213/J-35616-64B (L-BU)

Engine Control Module (ECM) X1

Pin

Wire

Circuit

Function

1

0.8 L-GN

5282

Camshaft Phaser Exhaust Solenoid (1)

2

0.8 PU

5284

Camshaft Phaser Intake Solenoid (1)

3

--

--

Not Used

4

0.8 YE/BK

846

Fuel Injector 6 Control

5

0.8 D-GN/WH

428

EVAP Canister Purge Solenoid Control

6

--

--

Not Used

7

0.5 OG

5275

Camshaft Position Intake Sensor (1)

8

--

--

Not Used

9

0.5 PU

5274

Camshaft Position Exhaust Sensor (2)

10

0.5 OG

225

Generator Turn On Signal

11-12

--

--

Not Used

13

0.5 BN/WH

2130

Low Reference

14

--

--

Not Used

15

0.5 GY

705

5-Volt Reference

16

--

--

Not Used

17

0.5 TN/BK

231

Oil Pressure Switch Signal

18-23

--

--

Not Used

24

0.8 YE

581

Throttle Actuator Control Motor Control - 1

25

0.8 WH/BK

5283

Camshaft Phaser Exhaust Solenoid (2)

26

0.8 PK/BK

1746

Fuel Injector 3 Control

27

--

--

Not Used

28

0.8 TN/WH

845

Fuel Injector 5 Control

29

--

--

Not Used

30

0.5 GY

23

Generator Field Duty Cycle Signal

31-32

--

--

Not Used

33

0.5 YE

5276

Camshaft Position Intake Sensor (2)

34

0.5 D-GN

5273

Camshaft Position Exhaust Sensor (1)

35

0.5 YE

573

Crankshaft Position Sensor 1 Signal

36-38

--

--

Not Used

39

0.5 GY

2701

5-Volt Reference

40

--

--

Not Used

41

0.5 TN

552

Low Reference

42

--

--

Not Used

43

0.5 TN

470

Low Reference

44

0.5 TN

2761

Low Reference

45

0.5 GY

605

5-Volt Reference

46

0.5 TN

452

Low Reference

47

--

--

Not Used

48

0.8 BN

582

Throttle Actuator Control Motor Control - 2

49

0.8 OG/BK

5272

Camshaft Phaser Intake Solenoid (2)

50

0.8 L-BU/BK

844

Fuel Injector 4 Control

51

0.8 TN

1744

Fuel Injector 1 Control

52

0.8 L-GN/BK

1745

Fuel Injector 2 Control

53-54

--

--

Not Used

55

0.5 PU

2121

Ignition Control 1

56

0.5 L-BU

2123

Ignition Control 3

57

0.5 D-GN

2125

Ignition Control 5

58

--

--

Not Used

59

0.5 D-BU

496

Knock Sensor 1 Signal

60

0.5 GY

2303

Knock Sensor 2 Signal

61-66

--

--

Not Used

67

0.5 TN

1664

Heated Oxygen Sensor Low Signal - Bank 1 Sensor 1

68-69

--

--

Not Used

70

0.5 PU

1666

Heated Oxygen Sensor High Signal - Bank 2 Sensor 1

71

--

--

Not Used

72

0.5 L-GN

3212

Heated Oxygen Sensor Heater Low Control - Bank 2 Sensor 1

73-77

--

--

Not Used

78

0.5 BN

2129

Low Reference

79

0.5 OG/WH

2122

Ignition Control 2

80

0.5 D-GN/WH

2124

Ignition Control 4

81

0.5 L-BU/WH

2126

Ignition Control 6

82

0.5 YE

410

Engine Coolant Temperature Sensor Signal

83

0.5 GY

1716

Knock Sensor 1 Signal

84

0.5 L-BU

1876

Knock Sensor 2 Signal

85-87

--

--

Not Used

88

0.5 TN

2752

Low Reference

89

0.5 PU

486

Throttle Position Sensor 2 Signal

90

0.5 D-GN

485

Throttle Position Sensor 1 Signal

91

--

--

Not Used

92

0.5 PU/WH

1665

Heated Oxygen Sensor High Signal - Bank 1 Sensor 1

93

0.5 TN

1667

Heated Oxygen Sensor Low Signal - Bank 2 Sensor 1

94-95

--

--

Not Used

96

0.5 GY/WH

3113

Heated Oxygen Sensor Heater Low Control - Bank 1 Sensor 1

Engine Control Module (ECM) X2


Object Number: 1360604  Size: CH

Connector Part Information

  • OEM: 1928404916
  • Service: 19115599
  • Description: 58-Way F 2.8 Series Sealed (BK)

Terminal Part Information

  • Pins: 1-2, 4-5
  • Terminal/Tray: 1928498058/8
  • Core/Insulation Crimp: E/1
  • Release Tool/Test Probe: J-38125-561/J-35616- 4A (PU)
  • Pins: 7, 9, 10-15, 17, 19-20, 22-25, 27, 34-36, 38-39, 41-42, 44-52, 54-58
  • Terminal/Tray: 1928498135/19
  • Core/Insulation Crimp: J/J
  • Release Tool/Test Probe: J-38125-213/J-35616-64B (L-BU)

Engine Control Module (ECM) X2

Pin

Wire

Circuit

Function

1

0.8 BK/WH

451

Ground

2

0.8 BK/WH

451

Ground

3

--

--

Not Used

4

0.8 BK/WH

451

Ground

5

1.0 PK/BK

5290

Ignition Voltage

6

--

--

Not Used

7

0.5 GY/WH

3122

Heated Oxygen Sensor Heater Low Control - Bank 2 Sensor 1

8

--

--

Not Used

9

0.5 TN

2759

Low Reference

10

0.5 D-GN/WH

465

Fuel Pump Relay Control

11

0.5 TN

5514

Low Reference

12

0.5 BN/WH

419

Malfunction Indicator Lamp Control

13

0.5 YE

492

Mass Air Flow Sensor Signal

14

0.5 GY

2709

5-Volt Reference

15

0.5 D-BU

1161

Accelerator Pedal Position Sensor 1 Signal

16

--

--

Not Used

17

0.5 OG/BK

1786

Park/Neutral Signal

18

--

--

Not Used

19

0.5 WH

1310

EVAP Canister Vent Solenoid Control

20

0.5 OG/WH

3223

Heated Oxygen Sensor Heater Low Control Bank 2 Sensor (2)

21

--

--

Not Used

22

0.5 TN

2760

Low Reference

23

0.5 TN/WH

1669

Heated Oxygen Sensor Low Signal - Bank 1 Sensor 2

24

0.5 TN

1671

Heated Oxygen Sensor Low Signal - Bank 2 Sensor 2

25

0.5 L-BU

1162

Accelerator Pedal Position Sensor 2 Signal

26

--

--

Not Used

27

0.5 D-GN

890

Fuel Tank Pressure Sensor Signal

28-33

--

--

Not Used

34

0.5 BN

1271

Low Reference

35

0.5 GY

2700

5-Volt Reference

36

0.5 PU

1589

Fuel Level Sensor Signal

37

--

--

Not Used

38

0.5 PU/WH

1668

Heated Oxygen Sensor High Signal - Bank 1 Sensor 2

39

0.5 OG/BK

380

A/C Refrigerant Pressure Sensor Signal

40

--

--

Not Used

41

0.5 BN

4

Ignition Voltage

42

0.5 TN/BK

2500

High Speed GMLAN Serial Data Bus+

43

--

--

Not Used

44

0.5 D-GN/WH

459

A/C Compressor Clutch Relay Control

45

0.5 D-BU

473

High Speed Cooling Fan Relay Control

46

0.5 D-GN

335

Low Speed Cooling Fan Relay Control

47

0.5 PU

1272

Low Reference

48

0.5 TN

1274

5-Volt Reference

49

0.5 WH/BK

1164

5-Volt Reference

50

0.5 TN

472

Intake Air Temperature Sensor Signal

51

0.5 PU

1670

Heated Oxygen Sensor High Signal - Bank 2 Sensor 2

52

0.5 WH

17

Stop Lamp Switch Signal

53

--

--

Not Used

54

0.5 PK

439

Ignition Voltage

55

0.5 TN

2501

High Speed GMLAN Serial Data Bus-

56

0.5 RD/WH

1540

Battery Positive Voltage

57

0.5 YE

447

Starter Relay Coil Control

58

0.5 BN

5069

Engine Main Relay Coil Control

Engine Coolant Temperature (ECT) Sensor


Object Number: 784092  Size: CH

Connector Part Information

  • OEM: 1928403874
  • Service: 88988963
  • Description: 2-Way F Kompakt 2.8 Series Sealed (BK)

Terminal Part Information

  • Terminal/Tray: 1928498054/8
  • Core/Insulation Crimp: E/1
  • Release Tool/Test Probe: J-38125-561/J-35616- 4A (PU)

Engine Coolant Temperature (ECT) Sensor

Pin

Wire

Circuit

Function

1

0.5 YE

410

Engine Coolant Temperature Sensor Signal

2

0.5 TN

2761

Low Reference

Engine Cooling Fan - Left


Object Number: 1658769  Size: CH

Connector Part Information

  • OEM: 13517352
  • Service: 88988506
  • Description: 2-Way F GT 280 Sealed (BK)

Terminal Part Information

  • Terminal/Tray: 15304720/19
  • Core/Insulation Crimp: 4/5
  • Release Tool/Test Probe: 15315247/J-35616-4A (PU)

Engine Cooling Fan - Left

Pin

Wire Color

Circuit No.

Function

A

3.0 GY

532

Cooling Fan Motor Control

B

3.0 WH

504

Ground

Engine Cooling Fan - Right


Object Number: 1658769  Size: CH

Connector Part Information

  • OEM: 13517352
  • Service: 88988506
  • Description: 2-Way F GT 280 Sealed (BK)

Terminal Part Information

  • Terminal/Tray: 15304720/19
  • Core/Insulation Crimp: 4/5
  • Release Tool/Test Probe: 15315247/J-35616-4A (PU)

Engine Cooling Fan - Right

Pin

Wire Color

Circuit No.

Function

A

3.0 BK

1250

Ground

B

3.0 L-BU

409

Cooling Fan Motor Control

Engine Oil Pressure (EOP) Switch


Object Number: 516616  Size: CH

Connector Part Information

  • OEM: 12065400
  • Service: 12126436
  • Description: 4-Way F Metri-Pack 150 Series (GN)

Terminal Part Information

  • Terminal/Tray: 12048074/2
  • Core/Insulation Crimp: E/1
  • Release Tool/Test Probe: 12094429/J-35616-2A (GY)

Engine Oil Pressure (EOP) Switch

Pin

Wire

Circuit

Function

A

0.5 TN/BK

231

Oil Pressure Switch Signal

B

0.5 TN

470

Low Reference

C-D

--

--

Not Used

Evaporative Emission (EVAP) Canister Purge Solenoid Valve


Object Number: 1331450  Size: CH

Connector Part Information

  • OEM: 1928404072
  • Service: 88988586
  • Description: 2-Way F (BK)

Terminal Part Information

  • Terminal/Tray: 1928498056/8
  • Core/Insulation Crimp: E/1
  • Release Tool/Test Probe: J-38125-561/J-35616-4A (PU)

Evaporative Emission (EVAP) Canister Purge Solenoid Valve

Pin

Wire

Circuit

Function

1

0.8 PK/BK

5293

Ignition Voltage

2

0.8 D-GN/WH

428

EVAP Canister Purge Solenoid Control

Evaporative Emissions (EVAP) Canister Vent Solenoid Valve


Object Number: 684795  Size: CH

Connector Part Information

  • OEM: 12052643
  • Service: 12101858
  • Description: 2-Way F Metri-Pack 150 Series Sealed (RD)

Terminal Part Information

  • Terminal/Tray: See Terminal Repair Kit
  • Core/Insulation Crimp: See Terminal Repair Kit
  • Release Tool/Test Probe: See Terminal Repair Kit

Evaporative Emissions (EVAP) Canister Vent Solenoid Valve

Pin

Wire

Circuit

Function

A

0.5 WH

1310

EVAP Canister Vent Solenoid Control

B

0.5 RD/WH

2840

Battery Positive Voltage

Evaporator Temperature Sensor


Object Number: 82383  Size: CH

Connector Part Information

  • OEM: 12047662
  • Service: 12085535
  • Description: 2-Way F Metri-Pack 150 Series (BK)

Terminal Part Information

  • Terminal/Tray: See Terminal Repair Kit
  • Core/Insulation Crimp: See Terminal Repair Kit
  • Release Tool/Test Probe: See Terminal Repair Kit

Evaporator Temperature Sensor

Pin

Wire

Circuit

Function

A

0.35 WH

2622

A/C Orifice Solenoid Control

B

0.35 TN

552

Low Reference

Fog Lamp - Left Front (T96)


Object Number: 1413064  Size: CH

Connector Part Information

  • OEM: 12124819
  • Service: 12085498
  • Description: 2-Way F Metri-Pack 280 Series (BK)

Terminal Part Information

  • Terminal/Tray: 12077411/2
  • Core/Insulation Crimp: 2/5
  • Release Tool/Test Probe: 12094430/J-35616-4A (PU)

Fog Lamp - Left Front (T96)

Pin

Wire

Circuit

Function

A

0.5 PU

34

Front Fog Lamp Control

B

0.5 BK

1250

Ground

Fog Lamp - Right Front (T96)


Object Number: 1413064  Size: CH

Connector Part Information

  • OEM: 12124819
  • Service: 12085498
  • Description: 2-Way F Metri-Pack 280 Series (BK)

Terminal Part Information

  • Terminal/Tray: 12077411/2
  • Core/Insulation Crimp: 2/5
  • Release Tool/Test Probe: 12094430/J-35616-4A (PU)

Fog Lamp - Right Front (T96)

Pin

Wire

Circuit

Function

A

0.5 PU

34

Front Fog Lamp Control

B

0.5 BK

1250

Ground

Fuel Injector 1


Object Number: 603098  Size: CH

Connector Part Information

  • OEM: 15305086
  • Service: 15306318
  • Description: 2-Way F Metri-Pack Series (BK)

Terminal Part Information

  • Terminal/Tray: See Terminal Repair Kit
  • Core/Insulation Crimp: See Terminal Repair Kit
  • Release Tool/Test Probe: See Terminal Repair Kit

Fuel Injector 1

Pin

Wire

Circuit

Function

A

0.5 WH

5291

Ignition Voltage

B

0.5 TN

1744

Fuel Injector 1 Control

Fuel Injector 2


Object Number: 603098  Size: CH

Connector Part Information

  • OEM: 15305086
  • Service: 15306318
  • Description: 2-Way F Metri-Pack Series (BK)

Terminal Part Information

  • Terminal/Tray: See Terminal Repair Kit
  • Core/Insulation Crimp: See Terminal Repair Kit
  • Release Tool/Test Probe: See Terminal Repair Kit

Fuel Injector 2

Pin

Wire

Circuit

Function

A

0.5 WH

5291

Ignition Voltage

B

0.5 L-GN/BK

1745

Fuel Injector 2 Control

Fuel Injector 3


Object Number: 603098  Size: CH

Connector Part Information

  • OEM: 15305086
  • Service: 15306318
  • Description: 2-Way F Metri-Pack Series (BK)

Terminal Part Information

  • Terminal/Tray: See Terminal Repair Kit
  • Core/Insulation Crimp: See Terminal Repair Kit
  • Release Tool/Test Probe: See Terminal Repair Kit

Fuel Injector 3

Pin

Wire

Circuit

Function

A

0.5 WH

5291

Ignition Voltage

B

0.5 PK/BK

1746

Fuel Injector 3 Control

Fuel Injector 4


Object Number: 603098  Size: CH

Connector Part Information

  • OEM: 15305086
  • Service: 15306318
  • Description: 2-Way F Metri-Pack Series (BK)

Terminal Part Information

  • Terminal/Tray: See Terminal Repair Kit
  • Core/Insulation Crimp: See Terminal Repair Kit
  • Release Tool/Test Probe: See Terminal Repair Kit

Fuel Injector 4

Pin

Wire

Circuit

Function

A

0.5 WH

5291

Ignition Voltage

B

0.5 L-BU/BK

844

Fuel Injector 4 Control

Fuel Injector 5


Object Number: 603098  Size: CH

Connector Part Information

  • OEM: 15305086
  • Service: 15306318
  • Description: 2-Way F Metri-Pack Series (BK)

Terminal Part Information

  • Terminal/Tray: See Terminal Repair Kit
  • Core/Insulation Crimp: See Terminal Repair Kit
  • Release Tool/Test Probe: See Terminal Repair Kit

Fuel Injector 5

Pin

Wire

Circuit

Function

A

0.5 WH

5291

Ignition Voltage

B

0.5 TN/WH

845

Fuel Injector 5 Control

Fuel Injector 6


Object Number: 603098  Size: CH

Connector Part Information

  • OEM: 15305086
  • Service: 15306318
  • Description: 2-Way F Metri-Pack Series (BK)

Terminal Part Information

  • Terminal/Tray: See Terminal Repair Kit
  • Core/Insulation Crimp: See Terminal Repair Kit
  • Release Tool/Test Probe: See Terminal Repair Kit

Fuel Injector 6

Pin

Wire

Circuit

Function

A

0.5 WH

5291

Ignition Voltage

B

0.5 YE/BK

846

Fuel Injector 6 Control

Fuel Pump and Sender Assembly


Object Number: 40442  Size: CH

Connector Part Information

  • OEM: 12162210
  • Service: 12167121
  • Description: 6-Way F Metri-Pack 150.2 Series Sealed (BK)

Terminal Part Information

  • Terminal/Tray: See Terminal Repair Kit
  • Core/Insulation Crimp: See Terminal Repair Kit
  • Release Tool/Test Probe: See Terminal Repair Kit

Fuel Pump and Sender Assembly

Pin

Wire

Circuit

Function

A

1.0 GY

120

Fuel Pump Control

B

0.5 TN

2759

Low Reference

C

0.5 PU

30

Fuel Level Sensor Signal

D

0.35 PU

1589

Fuel Level Sensor Signal

E

0.35 PU

30

Fuel Level Sensor Signal

F

1.0 BK

850

Ground

Fuel Tank Pressure (FTP) Sensor


Object Number: 2004806  Size: CH

Connector Part Information

  • OEM: 13522407
  • Service: See Catalog
  • Description: 3-Way F 150 Series Sealed (BK)

Terminal Part Information

  • Terminal/Tray: See Terminal Repair Kit
  • Core/Insulation Crimp: See Terminal Repair Kit
  • Release Tool/Test Probe: See Terminal Repair Kit

Fuel Tank Pressure (FTP) Sensor

Pin

Wire

Circuit

Function

1

0.5 D-GN

890

Fuel Tank Pressure Sensor Signal

2

0.5 BK

2759

Low Reference

3

0.5 GY

2709

5-Volt Reference

Generator X1


Object Number: 1522871  Size: CH

Connector Part Information

  • OEM: 12186308
  • Service: 89046837
  • Description: 2-Way F JPT Sealed (BK)

Terminal Part Information

  • Terminal/Tray: 4-964286-1/16
  • Core/Insulation Crimp: E/1
  • Release Tool/Test Probe: 12093647/J-35616-4A (PU)

Generator X1

Pin

Wire Color

Circuit No.

Function

1

0.5 OG

225

Generator Turn On Signal

2

0.5 GY

23

Generator Field Duty Cycle Signal

Generator X2

Terminal Part Information

  • Terminal: 12146365
  • Core/Insulation Crimp: N/A
  • Description: Ring Terminal

Generator X2

Pin

Wire

Circuit

Function

+

19 RD

1

Battery Positive Voltage

Hazard Switch


Object Number: 1412993  Size: CH

Connector Part Information

  • OEM: 7183-7201-80
  • Service: See Catalog
  • Description: 8-Way F (BN)

Terminal Part Information

  • Pins: B, C, J
  • Terminal/Tray: 8240-4412/22
  • Core/Insulation Crimp: E/C
  • Release Tool/Test Probe: 15315247/J-35616-2A (GY)
  • Pins: I
  • Terminal/Tray: 8240-4422/6
  • Core/Insulation Crimp: E/A
  • Release Tool/Test Probe: 15315247/J-35616-2A (GY)

Hazard Switch

Pin

Wire

Circuit

Function

A

--

--

Not Used

B

0.35 TN

2144

Hazard Switch Signal

C

0.35 BK/WH

1551

Ground

D-H

--

--

Not Used

I

0.8 GY

8

Instrument Panel Lamp Control

J

0.35 BK

1450

Ground

Headlamp - Left


Object Number: 1857555  Size: CH

Connector Part Information

  • OEM: 15203303
  • Service: See Catalog
  • Description: 3-Way F Sealed (GN)

Terminal Part Information

  • Terminal/Tray: See Terminal Repair Kit
  • Core/Insulation Crimp: See Terminal Repair Kit
  • Release Tool/Test Probe: See Terminal Repair Kit

Headlamp - Left

Pin

Wire

Circuit

Function

1

0.5 D-GN

712

Left Headlamp Low Beam Control

2

0.5 BK

1250

Ground

3

0.5 WH

711

Left Headlamp High Beam Control

Headlamp - Right


Object Number: 1857555  Size: CH

Connector Part Information

  • OEM: 15203303
  • Service: See Catalog
  • Description: 3-Way F Sealed (GN)

Terminal Part Information

  • Terminal/Tray: See Terminal Repair Kit
  • Core/Insulation Crimp: See Terminal Repair Kit
  • Release Tool/Test Probe: See Terminal Repair Kit

Headlamp - Right

Pin

Wire

Circuit

Function

1

0.5 D-GN

312

Right Headlamp Low Beam Control

2

0.5 BK

1250

Ground

3

0.5 WH

311

Right Headlamp High Beam Control

Headlamp Dimmer Switch


Object Number: 808685  Size: CH

Connector Part Information

  • OEM: 12020299
  • Service: 12102566
  • Description: 5-Way F P/C Edgeboard - Standard (CM)

Terminal Part Information

  • Terminal/Tray: 12040511/3
  • Core/Insulation Crimp: E/A
  • Release Tool/Test Probe: 12094429/J-35616-4A (PU)

Headlamp Dimmer Switch

Pin

Wire

Circuit

Function

A

--

--

Not Used

B

0.35 D-GN

44

Instrument Panel Lamps Dimmer Switch Signal

C

0.35 BK/WH

1551

Ground

D

0.35 OG/WH

812

12-Volt Reference

E

--

--

Not Used

Heated Oxygen Sensor (HO2S) - Bank 1 Sensor 1


Object Number: 518981  Size: CH

Connector Part Information

  • OEM: 12160482
  • Service: 88988598
  • Description: 4-Way F Metri-Pack 150 Series, Sealed (BK)

Terminal Part Information

  • Terminal/Tray: 12048074/2
  • Core/Insulation Crimp: E/1
  • Release Tool/Test Probe: 12094429/J-35616-2A (GY)

Heated Oxygen Sensor (HO2S) - Bank 1 Sensor 1

Pin

Wire

Circuit

Function

A

0.5 TN

1664

Heated Oxygen Sensor Low Signal - Bank 1 Sensor 1

B

0.5 PU/WH

1665

Heated Oxygen Sensor High Signal - Bank 1 Sensor 1

C

0.5 PK/BK

5293

Ignition Voltage

D

0.5 GY/WH

3113

Heated Oxygen Sensor Heater Low Control - Bank 1 Sensor 1

Heated Oxygen Sensor (HO2S) - Bank 1 Sensor 2


Object Number: 280761  Size: CH

Connector Part Information

  • OEM: 12160825
  • Service: 15305801
  • Description: 4-Way M Metri-Pack 150 Series (BK)

Terminal Part Information

  • Terminal/Tray: 12045773/2
  • Core/Insulation Crimp: E/1
  • Release Tool/Test Probe: 12094429/J-35616-3 (GY)

Heated Oxygen Sensor (HO2S) - Bank 1 Sensor 2

Pin

Wire

Circuit

Function

A

0.5 TN/WH

1669

Heated Oxygen Sensor Low Signal - Bank 1 Sensor 2

B

0.5 PU/WH

1668

Heated Oxygen Sensor High Signal - Bank 1 Sensor 2

C

0.8 PK/BK

5294

Ignition Voltage

D

0.5 GY/WH

3122

Heated Oxygen Sensor Heater Low Control - Bank 2 Sensor 1

Heated Oxygen Sensor (HO2S) - Bank 2 Sensor 1


Object Number: 518981  Size: CH

Connector Part Information

  • OEM: 12160482
  • Service: 88988598
  • Description: 4-Way F Metri-Pack 150 Series, Sealed (BK)

Terminal Part Information

  • Terminal/Tray: 12048074/2
  • Core/Insulation Crimp: E/1
  • Release Tool/Test Probe: 12094429/J-35616-2A (GY)

Heated Oxygen Sensor (HO2S) - Bank 2 Sensor 1

Pin

Wire

Circuit

Function

A

0.5 TN

1667

Heated Oxygen Sensor Low Signal - Bank 2 Sensor 1

B

0.5 PU

1666

Heated Oxygen Sensor High Signal - Bank 2 Sensor 1

C

0.5 PK/BK

5293

Ignition Voltage

D

0.5 L-GN

3212

Heated Oxygen Sensor Heater Low Control - Bank 2 Sensor 1

Heated Oxygen Sensor (HO2S) - Bank 2 Sensor 2


Object Number: 280761  Size: CH

Connector Part Information

  • OEM: 12160825
  • Service: 15305801
  • Description: 4-Way M Metri-Pack 150 Series (BK)

Terminal Part Information

  • Terminal/Tray: 12045773/2
  • Core/Insulation Crimp: E/1
  • Release Tool/Test Probe: 12094429/J-35616-3 (GY)

Heated Oxygen Sensor (HO2S) - Bank 2 Sensor 2

Pin

Wire

Circuit

Function

A

0.5 TN

1671

Heated Oxygen Sensor Low Signal - Bank 2 Sensor 2

B

0.5 PU

1670

Heated Oxygen Sensor High Signal - Bank 2 Sensor 2

C

0.5 PK/BK

5294

Ignition Voltage

D

0.5 OG/WH

3223

Heated Oxygen Sensor Heater Low Control Bank 2 Sensor (2)

Heated Seat Control Module X1 (KA1)


Object Number: 1664577  Size: CH

Connector Part Information

  • OEM: 6098-4606
  • Service: 15134095
  • Description: 6-Way F (BN)

Terminal Part Information

  • Terminal/Tray: See Terminal Repair Kit
  • Core/Insulation Crimp: See Terminal Repair Kit
  • Release Tool/Test Probe: See Terminal Repair Kit

Heated Seat Control Module X1 (KA1)

Pin

Wire

Circuit

Function

1

--

--

Not Used

2

0.8 L-BU

2433

Passenger Heated Seat Back Element Control

3

0.8 RD/WH

2077

Heated Seat Cushion Element Control

4

--

--

Not Used

5

0.8 PU

2424

Driver Heated Seat Back Element Control

6

0.8 D-BU

2479

Passenger Heated Seat Element Control

Heated Seat Control Module X2 (KA1)


Object Number: 1860394  Size: CH

Connector Part Information

  • OEM: 6098-4787
  • Service: 88988653
  • Description: 8-Way F (NA)

Terminal Part Information

  • Terminal/Tray: See Terminal Repair Kit
  • Core/Insulation Crimp: See Terminal Repair Kit
  • Release Tool/Test Probe: See Terminal Repair Kit

Heated Seat Control Module X2 (KA1)

Pin

Wire

Circuit

Function

1

1.0 OG

640

Battery Positive Voltage

2

0.8 BK

650

Ground

3-5

--

--

Not Used

6

0.35 YE

2080

Low Reference

7

--

--

Not Used

8

0.35 PK

2435

Low Reference

Heated Seat Control Module X3 (KA1)


Object Number: 1664581  Size: CH

Connector Part Information

  • OEM: 7283-9040
  • Service: 15127042
  • Description: 10-Way F (BK)

Terminal Part Information

  • Terminal/Tray: See Terminal Repair Kit
  • Core/Insulation Crimp: See Terminal Repair Kit
  • Release Tool/Test Probe: See Terminal Repair Kit

Heated Seat Control Module X3 (KA1)

Pin

Wire

Circuit

Function

1-5

--

--

Not Used

6

0.35 D-GN

5060

Ground

Heated Seat Control Module X4 (KA1)


Object Number: 1664552  Size: CH

Connector Part Information

  • OEM: 31410-1200
  • Service: 15126711
  • Description: 20-Way F (BK)

Terminal Part Information

  • Terminal/Tray: See Terminal Repair Kit
  • Core/Insulation Crimp: See Terminal Repair Kit
  • Release Tool/Test Probe: See Terminal Repair Kit

Heated Seat Control Module X4 (KA1)

Pin

Wire

Circuit

Function

1-8

--

--

Not Used

9

0.35 YE

2079

Heated Seat Cushion Temperature Sensor Signal

10-19

--

--

Not Used

20

0.35 GY

2434

Passenger Heated Seat Cushion Temperature Sensor Signal

Heated Seat Element - Driver Back (KA1)


Object Number: 258301  Size: CH

Connector Part Information

  • OEM: 12059254
  • Service: 12126020
  • Description: 2-Way M Metri-Pack 150 Series (GN)

Terminal Part Information

  • Terminal/Tray: See Terminal Repair Kit
  • Core/Insulation Crimp: See Terminal Repair Kit
  • Release Tool/Test Probe: See Terminal Repair Kit

Heated Seat Element - Driver Back (KA1)

Pin

Wire

Circuit

Function

A

0.8 BN

2432

Driver Heated Seat Back Element Control

B

0.8 PU

2424

Driver Heated Seat Back Element Control

Heated Seat Element - Driver Cushion (KA1)


Object Number: 39661  Size: CH

Connector Part Information

  • OEM: 12047786
  • Service: 12085536
  • Description: 4-Way M Metri-Pack 150 Series (BK)

Terminal Part Information

  • Terminal/Tray: See Terminal Repair Kit
  • Core/Insulation Crimp: See Terminal Repair Kit
  • Release Tool/Test Probe: See Terminal Repair Kit

Heated Seat Element - Driver Cushion (KA1)

Pin

Wire

Circuit

Function

A

0.35 YE/BK

2079

Heated Seat Cushion Temperature Sensor Signal

B

0.8 RD/WH

2077

Heated Seat Cushion Element Control

C

0.35 YE

2080

Low Reference

D

0.8 BN

2432

Driver Heated Seat Back Element Control

Heated Seat Element - Passenger Back (KA1)


Object Number: 258301  Size: CH

Connector Part Information

  • OEM: 12059254
  • Service: 12126020
  • Description: 2-Way M Metri-Pack 150 Series (GN)

Terminal Part Information

  • Terminal/Tray: See Terminal Repair Kit
  • Core/Insulation Crimp: See Terminal Repair Kit
  • Release Tool/Test Probe: See Terminal Repair Kit

Heated Seat Element - Passenger Back (KA1)

Pin

Wire

Circuit

Function

A

0.8 TN

2481

Passenger Heated Seat Back Element Control

B

0.8 L-BU

2433

Passenger Heated Seat Back Element Control

Heated Seat Element - Passenger Cushion (KA1)


Object Number: 39661  Size: CH

Connector Part Information

  • OEM: 12047786
  • Service: 12085536
  • Description: 4-Way M Metri-Pack 150 Series (BK)

Terminal Part Information

  • Terminal/Tray: See Terminal Repair Kit
  • Core/Insulation Crimp: See Terminal Repair Kit
  • Release Tool/Test Probe: See Terminal Repair Kit

Heated Seat Element - Passenger Cushion (KA1)

Pin

Wire

Circuit

Function

A

0.35 GY

2434

Passenger Heated Seat Cushion Temperature Sensor Signal

B

0.8 D-BU

2479

Passenger Heated Seat Element Control

C

0.35 PK

2435

Low Reference

D

0.8 TN

2481

Passenger Heated Seat Back Element Control

Hood Ajar Switch


Object Number: 646415  Size: CH

Connector Part Information

  • OEM: 15326808
  • Service: See Catalog
  • Description: 3-Way F GT 150 Sealed 4.5 (BK)

Terminal Part Information

  • Terminal/Tray: 12191819/8
  • Core/Insulation Crimp: E/A
  • Release Tool/Test Probe: 15315247/J-35616-2A (GY)

Hood Ajar Switch

Pin

Wire

Circuit

Function

A

0.5 PK/BK

109

Hood Ajar Switch Signal

B

0.5 PU

5531

Hood Closed Switch Signal

C

0.35 BK

1250

Ground

Horn


Object Number: 1527729  Size: CH

Connector Part Information

  • OEM: 15419715
  • Service: 88988313
  • Description: 2-Way F GT 150 Series Sealed (GY)

Terminal Part Information

  • Pins: A, B
  • Terminal/Tray: 12191819/8
  • Core/Insulation Crimp: Pins A - E/A
  • Core/Insulation Crimp: Pins B - 2/A
  • Release Tool/Test Probe: 15315247/J-35616-2A (GY)

Horn

Pin

Wire

Circuit

Function

A

0.5 BK

1250

Ground

B

0.8 D-GN

29

Horn Control

Horn Switch


Object Number: 1335523  Size: CH

Connector Part Information

  • OEM: 50-57-9402
  • Service: 15306026
  • Description: 2-Way F SL Series (BK)

Terminal Part Information

  • Terminal/Tray: See Terminal Repair Kit
  • Core/Insulation Crimp: See Terminal Repair Kit
  • Release Tool/Test Probe: See Terminal Repair Kit

Horn Switch

Pin

Wire

Circuit

Function

1

0.35 TN

28

Horn Relay Control

2

0.35 BK

1450

Ground

HVAC Control Module X1


Object Number: 1715226  Size: CH

Connector Part Information

  • OEM: 15126709
  • Service: See Catalog
  • Description: 20-Way F Receptacle 0.64 Unsealed (BN)

Terminal Part Information

  • Terminal/Tray: 7116-4618-02/14
  • Core/Insulation Crimp: P/P
  • Release Tool/Test Probe: J-38125-215/J-35616-64B (L-BU)

HVAC Control Module X1

Pin

Wire

Circuit

Function

1

--

--

Not Used

2

0.35 D-GN

734

Inside Air Temperature Sensor Signal

3

0.35 L-BU/BK

590

Driver Sunload Sensor Signal

4

0.35 GY

1548

Passenger Sunload Sensor Signal

5-7

--

--

Not Used

8

0.35 PK

2145

Air Temperature Switch Signal - Right (C69)

9

0.35 OG

2615

Auxiliary Mode Door Control (C69)

10

0.35 YE

2214

Auxiliary Air Temperature Door Control (C69)

11-14

--

--

Not Used

15

0.35 TN

516

Upper Left Air Temperature Sensor Signal

16

--

--

Not Used

17

0.35 GY

5954

Inside Air Temperature Sensor Motor Control

18

0.35 GY

2599

Auxiliary Mode Door Control (C69)

19

0.35 PU/WH

760

Auxiliary Blower Motor Speed Control (C69)

20

--

--

Not Used

HVAC Control Module X2


Object Number: 1715229  Size: CH

Connector Part Information

  • OEM: 7283-9080-90
  • Service: See Catalog
  • Description: 16-Way F 064 Series Unsealed (BU)

Terminal Part Information

  • Terminal/Tray: 7116-4618-02/14
  • Core/Insulation Crimp: P/P
  • Release Tool/Test Probe: J-38125-215/J-35616-64B (L-BU)

HVAC Control Module X2

Pin

Wire

Circuit

Function

1

0.35 PU/WH

1382

LED Dimming Signal

2

0.35 PK

1139

Ignition Voltage

3

0.35 BK/WH

1551

Ground

4

0.35 RD/WH

1840

Battery Positive Voltage

5

0.35 D-GN

5060

Low Speed GMLAN Serial Data

6-7

--

--

Not Used

8

0.35 WH

193

Rear Defog Relay Control

9

0.35 L-GN/BK

735

Ambient Air Temperature Sensor Signal

10

0.5 BK

1450

Ground

11

--

--

Not Used

12

0.35 YE

61

Low Reference

13-16

--

--

Not Used

HVAC Control Module X3


Object Number: 1715228  Size: CH

Connector Part Information

  • OEM: 15126710
  • Service: See Catalog
  • Description: 20-Way F Receptacle 0.64 Unsealed (GY)

Terminal Part Information

  • Terminal/Tray: 7116-4618-02/14
  • Core/Insulation Crimp: P/P
  • Release Tool/Test Probe: J-38125-215/J-35616-64B (L-BU)

HVAC Control Module X3

Pin

Wire

Circuit

Function

1

0.35 TN

520

Lower Right Air Temperature Sensor Signal

2

0.35 L-GN

2275

Mode Door Position Signal

3

0.35 PU

1838

Recirculation Door Position Signal

4

0.35 GY/BK

754

Blower Motor Speed Control

5

0.35 TN

2273

Mode Door Control

6

--

--

Not Used

7

0.35 D-GN

1614

Recirculation Door Control

8

0.35 D-BU

1199

Air Temperature Door Control

9

--

--

Not Used

10

0.35 GY

598

5-Volt Reference

11-12

--

--

Not Used

13

0.35 L-BU

733

Air Temperature Door Position Signal

14

0.35 WH

2622

5-Volt Reference

15

0.35 WH

119

Mode Door Control

16

--

--

Not Used

17

0.35 TN/BK

2274

Recirculation Door Control Circuit

18

0.35 L-BU

1316

Air Temperature Door Control

19

0.35 TN

552

Low Reference

20

0.35 YE

1791

Low Reference

HVAC Control Module X4 (C69)


Object Number: 1715225  Size: CH

Connector Part Information

  • OEM: 7283-9079-60
  • Service: See Catalog
  • Description: 16-Way F 064 Series Unsealed (GN)

Terminal Part Information

  • Terminal/Tray: 7116-4618-02/14
  • Core/Insulation Crimp: P/P
  • Release Tool/Test Probe: J-38125-215/J-35616-64B (L-BU)

HVAC Control Module X4 (C69)

Pin

Wire

Circuit

Function

1

--

--

Not Used

2

0.35 GY

597

5-Volt Reference

3

0.35 L-GN/WH

5729

Rear Mode Motor Control

4

0.35 BN

6555

Rear Temperature Motor Control

5

0.35 GY

720

Low Reference

6-9

--

--

Not Used

10

0.35 GY/BK

754

Blower Motor Speed Control

11

0.35 OG

2215

Auxiliary Mode Door Control

12

0.35 GY

2614

Auxiliary Air Temperature Door Control

13-16

--

--

Not Used

HVAC Control Module - Auxiliary (C69)


Object Number: 1711011  Size: CH

Connector Part Information

  • OEM: 89047355
  • Service: See Catalog
  • Description: 10-Way F 0.64 Unsealed (BK)

Terminal Part Information

  • Terminal/Tray: 7116-4618-02/14
  • Core/Insulation Crimp: P/P
  • Release Tool/Test Probe: J-38125-215/J-35616-64B (L-BU)

HVAC Control Module - Auxiliary (C69)

Pin

Wire

Circuit

Function

1

0.35 GY

8

Instrument Panel Lamp Control

2

0.35 BK/WH

1551

Ground

3

0.35 GY

597

5-Volt Reference

4

0.35 GY

720

Low Reference

5-6

--

--

Not Used

7

0.35 PU/WH

760

Auxiliary Blower Motor Speed Control

8

0.35 YE

2214

Auxiliary Air Temperature Door Control

9

--

--

Not Used

10

0.35 OG

2615

Auxiliary Mode Door Control

Ignition Coil 1


Object Number: 1653384  Size: CH

Connector Part Information

  • OEM: 15466325
  • Service: 88988737
  • Description: 4-Way F Global Terminal/150 (BK)

Terminal Part Information

  • Terminal/Tray: 12191819/8
  • Core/Insulation Crimp: Pins A, D - 2/A
  • Core/Insulation Crimp: Pins B, C - E/A
  • Release Tool/Test Probe: 15315247/J-35616-2A (GY)

Ignition Coil 1

Pin

Wire

Circuit

Function

A

1.0 BK

1550

Ground

B

0.5 BN

2129

Low Reference

C

0.5 PU

2121

Ignition Control 1

D

1.0 PK/BK

5291

Ignition Voltage

Ignition Coil 2


Object Number: 1653384  Size: CH

Connector Part Information

  • OEM: 15466325
  • Service: 88988737
  • Description: 4-Way F Global Terminal/150 (BK)

Terminal Part Information

  • Terminal/Tray: 12191819/8
  • Core/Insulation Crimp: Pins A, D - 2/A
  • Core/Insulation Crimp: Pins B, C - E/A
  • Release Tool/Test Probe: 15315247/J-35616-2A (GY)

Ignition Coil 2

Pin

Wire

Circuit

Function

A

1.0 BK

150

Ground

B

0.5 BN/WH

2130

Low Reference

C

0.5 OG/WH

2122

Ignition Control 2

D

1.0 PK/BK

5292

Ignition Voltage

Ignition Coil 3


Object Number: 1653384  Size: CH

Connector Part Information

  • OEM: 15466325
  • Service: 88988737
  • Description: 4-Way F Global Terminal/150 (BK)

Terminal Part Information

  • Terminal/Tray: 12191819/8
  • Core/Insulation Crimp: Pins A, D - 2/A
  • Core/Insulation Crimp: Pins B, C - E/A
  • Release Tool/Test Probe: 15315247/J-35616-2A (GY)

Ignition Coil 3

Pin

Wire

Circuit

Function

A

1.0 BK

1550

Ground

B

0.5 BN

2129

Low Reference

C

0.5 L-BU

2123

Ignition Control 3

D

1.0 PK/BK

5291

Ignition Voltage

Ignition Coil 4


Object Number: 1653384  Size: CH

Connector Part Information

  • OEM: 15466325
  • Service: 88988737
  • Description: 4-Way F Global Terminal/150 (BK)

Terminal Part Information

  • Terminal/Tray: 12191819/8
  • Core/Insulation Crimp: Pins A, D - 2/A
  • Core/Insulation Crimp: Pins B, C - E/A
  • Release Tool/Test Probe: 15315247/J-35616-2A (GY)

Ignition Coil 4

Pin

Wire

Circuit

Function

A

1.0 BK

150

Ground

B

0.5 BN/WH

2130

Low Reference

C

0.5 D-GN/WH

2124

Ignition Control 4

D

1.0 PK/BK

5292

Ignition Voltage

Ignition Coil 5


Object Number: 1653384  Size: CH

Connector Part Information

  • OEM: 15466325
  • Service: 88988737
  • Description: 4-Way F Global Terminal/150 (BK)

Terminal Part Information

  • Terminal/Tray: 12191819/8
  • Core/Insulation Crimp: Pins A, D - 2/A
  • Core/Insulation Crimp: Pins B, C - E/A
  • Release Tool/Test Probe: 15315247/J-35616-2A (GY)

Ignition Coil 5

Pin

Wire

Circuit

Function

A

1.0 BK

1550

Ground

B

0.5 BN

2129

Low Reference

C

0.5 D-GN

2125

Ignition Control 5

D

1.0 PK/BK

5291

Ignition Voltage

Ignition Coil 6


Object Number: 1653384  Size: CH

Connector Part Information

  • OEM: 15466325
  • Service: 88988737
  • Description: 4-Way F Global Terminal/150 (BK)

Terminal Part Information

  • Terminal/Tray: 12191819/8
  • Core/Insulation Crimp: Pins A, D - 2/A
  • Core/Insulation Crimp: Pins B, C - E/A
  • Release Tool/Test Probe: 15315247/J-35616-2A (GY)

Ignition Coil 6

Pin

Wire

Circuit

Function

A

1.0 BK

150

Ground

B

0.5 BN/WH

2130

Low Reference

C

0.5 L-BU/WH

2126

Ignition Control 6

D

1.0 PK/BK

5292

Ignition Voltage

Ignition Lock Cylinder Control Solenoid


Object Number: 280768  Size: CH

Connector Part Information

  • OEM: 12052832
  • Service: 12101825
  • Description: 2-Way F Metri-Pack 150 Series (BK)

Terminal Part Information

  • Terminal/Tray: 12064971/5
  • Core/Insulation Crimp: E/C
  • Release Tool/Test Probe: 12094429/J-35616-2A (GY)

Ignition Lock Cylinder Control Solenoid

Pin

Wire Color

Circuit No.

Function

A

0.35 BK

1450

--

B

0.35 PU/WH

1630

Steering Column Key Cylinder Lock Solenoid Control

Ignition Switch


Object Number: 1664590  Size: CH

Connector Part Information

  • OEM: HCMPBC06K
  • Service: See Catalog
  • Description: 6-Way F HCM Unsealed (BK)

Terminal Part Information

  • Terminal/Tray: SHCM-A03T-P025/20
  • Core/Insulation Crimp: J/J
  • Release Tool/Test Probe: 12094429/J-35616-64B (L-BU)

Ignition Switch

Pin

Wire Color

Circuit No.

Function

1

0.35 PK

3

Ignition Voltage

2

0.35 BN

4

Ignition Voltage

3

0.35 RD/WH

3340

Battery Positive Voltage

4

0.35 WH/BK

1073

Ignition Key Resistor Signal

5

0.35WH

1390

Ignition Voltage

6

--

--

Not Used

Inflatable Restraint Front End Sensor - Left


Object Number: 744046  Size: CH

Connector Part Information

  • OEM: 15356723
  • Service: 15306439
  • Description: 2-Way F GT 150 Sealed 4.0 (YE)

Terminal Part Information

  • Terminal/Tray: 12191819/8
  • Core/Insulation Crimp: E/A
  • Release Tool/Test Probe: 15315247/J-35616-2A (GY)

Inflatable Restraint Front End Sensor - Left

Pin

Wire

Circuit

Function

A

0.35 TN/OG

5045

Low Reference

B

0.35 YE

354

Front End Sensor - Left - Signal

Inflatable Restraint Front End Sensor - Right


Object Number: 744046  Size: CH

Connector Part Information

  • OEM: 15356723
  • Service: 15306439
  • Description: 2-Way F GT 150 Sealed 4.0 (YE)

Terminal Part Information

  • Terminal/Tray: 12191819/8
  • Core/Insulation Crimp: E/A
  • Release Tool/Test Probe: 15315247/J-35616-2A (GY)

Inflatable Restraint Front End Sensor - Right

Pin

Wire

Circuit

Function

A

0.35 GY

5600

Low Reference

B

0.35 D-GN

1409

Front End Sensor - Right - Signal

Inflatable Restraint Front Passenger Presence (PPS) System Module


Object Number: 1464340  Size: CH

Connector Part Information

  • OEM: 15332142
  • Service: 89046638
  • Description: 6-Way M GT 150/280 Series Sealed (BK)

Terminal Part Information

  • Terminal/Tray: See Terminal Repair Kit
  • Core/Insulation Crimp: See Terminal Repair Kit
  • Release Tool/Test Probe: See Terminal Repair Kit

Inflatable Restraint Front Passenger Presence System (PPS) Module

Pin

Wire

Circuit

Function

A

0.35 OG

840

Battery Positive Voltage

B

0.35 D-GN

5060

Low Speed GMLAN Serial Data

C

0.35 D-GN

5060

Low Speed GMLAN Serial Data

D

0.35 BK

651

Ground

E-F

--

--

Not Used

Inflatable Restraint I/P Module X1


Object Number: 1508930  Size: CH

Connector Part Information

  • OEM: 252922343
  • Service: See Catalog
  • Description: 2-Way F (YE)

Terminal Part Information

  • Terminal/Tray: See Terminal Repair Kit
  • Core/Insulation Crimp: See Terminal Repair Kit
  • Release Tool/Test Probe: See Terminal Repair Kit

Inflatable Restraint I/P Module X1

Pin

Wire

Circuit

Function

1

0.35 YE

3025

Instrument Panel Module - Stage 1 - High Control

2

0.35 OG

3024

Instrument Panel Module - Stage 1 - Low Control

Inflatable Restraint I/P Module X2


Object Number: 1508930  Size: CH

Connector Part Information

  • OEM: 252922343
  • Service: See Catalog
  • Description: 2-Way F (YE)

Terminal Part Information

  • Terminal/Tray: See Terminal Repair Kit
  • Core/Insulation Crimp: See Terminal Repair Kit
  • Release Tool/Test Probe: See Terminal Repair Kit

Inflatable Restraint I/P Module X2

Pin

Wire

Circuit

Function

1

0.35 GY

3027

Instrument Panel Module - Stage 2 - High Control

2

0.35 PU

3026

Instrument Panel Module - Stage 2 - Low Control

Inflatable Restraint I/P Module Indicator


Object Number: 1538776  Size: CH

Connector Part Information

  • OEM: 15398877
  • Service: See Catalog
  • Description: 5-Way F HCM Series (NA)

Terminal Part Information

  • Terminal/Tray: SHCM-A03T-P025/20
  • Core/Insulation Crimp: J/J
  • Release Tool/Test Probe: 12094429/J-35616-64B (L-BU)

Inflatable Restraint I/P Module Indicator

Pin

Wire

Circuit

Function

1

0.35 D-BU

2307

Passenger Air Bag On Indicator Control

2

0.35 BK

1450

Ground

3

0.35 D-GN

2308

Passenger Air Bag Off Indicator Control

4

0.35 PK

1139

Ignition Voltage

5

0.35 PU

5234

Passenger Seat Belt Indicator

Inflatable Restraint Roof Rail Module - Left (ASF)


Object Number: 1861740  Size: CH

Connector Part Information

  • OEM: Not Available
  • Service: Not Available
  • Description: 2-Way F (YE)

Terminal Part Information

  • Terminal/Tray: See Terminal Repair Kit
  • Core/Insulation Crimp: See Terminal Repair Kit
  • Release Tool/Test Probe: See Terminal Repair Kit

Inflatable Restraint Roof Rail Module - Left (ASF)

Pin

Wire

Circuit

Function

1

0.5 WH

2138

Side Impact Module - Left Front - Low Control

2

0.5 D-GN

2137

Side Impact Module - Left Front - High Control

Inflatable Restraint Roof Rail Module - Right (ASF)


Object Number: 1861740  Size: CH

Connector Part Information

  • OEM: Not Available
  • Service: Not Available
  • Description: 2-Way F (YE)

Terminal Part Information

  • Terminal/Tray: See Terminal Repair Kit
  • Core/Insulation Crimp: See Terminal Repair Kit
  • Release Tool/Test Probe: See Terminal Repair Kit

Inflatable Restraint Roof Rail Module - Right (ASF)

Pin

Wire

Circuit

Function

1

0.5 WH

2136

Side Impact Module - Right Front - Low Control

2

0.5 D-GN

2135

Side Impact Module - Right Front - High Control

Inflatable Restraint Sensing and Diagnostic Module (SDM)


Object Number: 1468532  Size: CH

Connector Part Information

  • OEM: 2-184464-4
  • Service: See Catalog
  • Description: 60-Way F GET Series (YE)

Terminal Part Information

  • Terminal/Tray: 1393365-2/7
  • Core/Insulation Crimp: K/K
  • Release Tool/Test Probe: 15315247/J-35616-64B (L-BU)

Inflatable Restraint Sensing and Diagnostic Module (SDM)

Pin

Wire

Circuit

Function

1

0.5 BK/WH

651

Ground

2

0.5 D-GN

5060

Low Speed GMLAN Serial Data

3

0.35 D-GN

5060

Low Speed GMLAN Serial Data

4

0.35 PK

3022

Steering Wheel Module - Stage 2 - Low Control

5

0.35 WH

3023

Steering Wheel Module - Stage 2 - High Control

6

0.35 GY

3027

Instrument Panel Module - Stage 2 - High Control

7

0.35 PU

3026

Instrument Panel Module - Stage 2 - Low Control

8

0.35 BN

3020

Steering Wheel Module - Stage 1 - Low Control

9

0.35 TN

3021

Steering Wheel Module - Stage 1 - High Control

10

0.35 YE

3025

Instrument Panel Module - Stage 1 - High Control

11

0.35 OG

3024

Instrument Panel Module - Stage 1 - Low Control

12

0.5 YE/BK

2138

Side Impact Module - Left Front - Low Control

13

0.5 BN

2137

Side Impact Module - Left Front - High Control

14

0.5 TN/WH

2135

Side Impact Module - Right Front - High Control

15

0.5 L-GN

2136

Side Impact Module - Right Front - Low Control

16

0.5 OG/BK

2119

Seat Belt Pretensioner - Left - Low Control

17

0.5 TN/WH

2118

Seat Belt Pretensioner - Left - High Control

18

0.5 L-GN

2116

Seat Belt Pretensioner - Right - High Control

19

0.5 OG

2117

Seat Belt Pretensioner - Right - Low Control

20-27

--

--

Not Used

28

0.35 PK

5057

Low Reference

29-30

--

--

Not Used

31

0.5 RD/WH

1340

Battery Positive Voltage

32

0.5 PK

1139

Ignition Voltage

33-35

--

--

Not Used

36

0.35 YE

354

Front End Sensor - Left - Signal

37

0.35 D-GN

1409

Front End Sensor - Right - Signal

38

0.35 TN/OG

5045

Low Reference

39

0.35 GY

5600

Low Reference

40

0.35 WH

2132

Side Impact Sensing Module - Left - Signal

41

0.35 D-GN

2134

Side Impact Sensing Module - Right - Signal

42

0.35 YE

2131

Side Impact Sensing Module - Left - Voltage

43

0.35 TN

2133

Side Impact Sensing Module - Right - Voltage

44-57

--

--

Not Used

58

0.35 YE/BK

5229

Roll Over Sensor High Signal

59

0.35 D-GN

5016

Seat Belt Switch - Left - Signal

60

0.35 OG

1362

Seat Belt Switch - Right - Signal

Inflatable Restraint Side Impact Sensor (SIS) - Left (ASF)


Object Number: 744046  Size: CH

Connector Part Information

  • OEM: 15356723
  • Service: 15306439
  • Description: 2-Way F GT 150 Sealed 4.0 (YE)

Terminal Part Information

  • Terminal/Tray: 12191819/8
  • Core/Insulation Crimp: E/A
  • Release Tool/Test Probe: 15315247/J-35616-2A (GY)

Inflatable Restraint Side Impact Sensor (SIS) - Left (ASF)

Pin

Wire

Circuit

Function

A

0.35 WH

2132

Side Impact Sensing Module - Left - Signal

B

0.35 YE

2131

Side Impact Sensing Module - Left - Voltage

Inflatable Restraint Side Impact Sensor (SIS) - Right (ASF)


Object Number: 744046  Size: CH

Connector Part Information

  • OEM: 15356723
  • Service: 15306439
  • Description: 2-Way F GT 150 Sealed 4.0 (YE)

Terminal Part Information

  • Terminal/Tray: 12191819/8
  • Core/Insulation Crimp: E/A
  • Release Tool/Test Probe: 15315247/J-35616-2A (GY)

Inflatable Restraint Side Impact Sensor (SIS) - Right (ASF)

Pin

Wire

Circuit

Function

A

0.35 D-GN

2134

Side Impact Sensing Module - Right - Signal

B

0.35 TN

2133

Side Impact Sensing Module - Right - Voltage

Inflatable Restraint Steering Wheel Module X1


Object Number: 1841819  Size: CH

Connector Part Information

  • OEM: 54560220
  • Service: See Catalog
  • Description: 2-Way F Type B (WH)

Terminal Part Information

  • Terminal/Tray: See Terminal Repair Kit
  • Core/Insulation Crimp: See Terminal Repair Kit
  • Release Tool/Test Probe: See Terminal Repair Kit

Inflatable Restraint Steering Wheel Module X1

Pin

Wire

Circuit

Function

1

0.35 TN

3021

Steering Wheel Module - Stage 1 - High Control

2

0.35 BN

3020

Steering Wheel Module - Stage 1 - Low Control

Inflatable Restraint Steering Wheel Module X2


Object Number: 1841821  Size: CH

Connector Part Information

  • OEM: 54560222
  • Service: See Catalog
  • Description: 2-Way F Type G (PK)

Terminal Part Information

  • Terminal/Tray: See Terminal Repair Kit
  • Core/Insulation Crimp: See Terminal Repair Kit
  • Release Tool/Test Probe: See Terminal Repair Kit

Inflatable Restraint Steering Wheel Module X2

Pin

Wire

Circuit

Function

1

0.35 WH

3023

Steering Wheel Module - Stage 2 - High Control

2

0.35 PK

3022

Steering Wheel Module - Stage 2 - Low Control

Inflatable Restraint Vehicle Rollover Sensor (ASF)


Object Number: 1710986  Size: CH

Connector Part Information

  • OEM: 6189-6936
  • Service: See Catalog
  • Description: 6-Way F 0.64 Series Sealed (YE)

Terminal Part Information

  • Pins: 1, 6
  • Terminal/Tray: 8100-3427/22
  • Core/Insulation Crimp: K/K
  • Release Tool/Test Probe: 15315247/J-35616-64B (L-BU)
  • Pins: 3, 4, 4, 5
  • Terminal/Tray: 8100-3426/22
  • Core/Insulation Crimp: J/J
  • Release Tool/Test Probe: 15315247/J-35616-64B (L-BU)

Inflatable Restraint Vehicle Rollover Sensor (ASF)

Pin

Wire

Circuit

Function

1

0.5 RD/WH

1340

Battery Positive Voltage

2

--

--

Not Used

3

0.35 D-GN

5060

Low Speed GMLAN Serial Data

4

0.35 D-GN

5060

Low Speed GMLAN Serial Data

5

0.35 YE/BK

5229

Roll Over Sensor High Signal

6

0.5 BK/WH

651

Ground

Infrared Transmitter (UUC)


Object Number: 1454407  Size: CH

Connector Part Information

  • OEM: 15429806
  • Service: See Catalog
  • Description: 16-Way F Micro 64 Series (BN)

Terminal Part Information

  • Terminal/Tray: See Terminal Repair Kit
  • Core/Insulation Crimp: See Terminal Repair Kit
  • Release Tool/Test Probe: See Terminal Repair Kit

Infrared Transmitter (UUC)

Pin

Wire

Circuit

Function

1

0.5 L-BU

5826

Left DVD Audio Signal (+)

2

0.5 PU

6979

DVD Audio Common

3

0.5 WH

5828

Right DVD Audio Signal (+)

4

0.35 YE

343

Ignition Voltage

5-7

--

--

Not Used

8

0.5 OG/BK

5831

Remote Infra Red Signal (+)

9-11

--

--

Not Used

12

0.5 BK/WH

1551

Ground

13-15

--

--

Not Used

16

0.5 TN/WH

5830

Remote Infra Red Signal (-)

Input Speed Sensor (ISS)


Object Number: 882510  Size: CH

Connector Part Information

  • OEM: Aisin AW
  • Service: Non-Serviceable
  • Description: Conn 2F (BK)

Terminal Part Information

  • Terminal: Non-Serviceable
  • Core/Insulation Crimp: Non-Serviceable
  • Release Tool/Test Probe: Non-Serviceable

Input Speed Sensor (ISS)

Pin

Wire

Circuit

Function

1

0.5 L-BU

1230

Automatic Transmission Input Shaft Speed Sensor High Signal

2

0.5 TN

1231

Automatic Transmission Input Shaft Speed Sensor Signal (Low)

Inside Air Temperature Sensor


Object Number: 39661  Size: CH

Connector Part Information

  • OEM: 12047786
  • Service: 12085536
  • Description: 4-Way M Metri-Pack 150 Series, Unsealed (BK)

Terminal Part Information

  • Terminal/Tray: 12047581/2
  • Core/Insulation Crimp: E/C
  • Release Tool/Test Probe: 12094429/J-35616-3 (GY)

Inside Air Temperature Sensor

Pin

Wire

Circuit

Function

A

0.35 D-GN

734

Inside Air Temperature Sensor Signal

B

0.35 GY

5954

Inside Air Temperature Sensor Motor Control

C

0.35 BK/WH

1551

Ground

D

0.35 YE

61

Low Reference

Inside Rearview Mirror (ISRVM)


Object Number: 872580  Size: CH

Connector Part Information

  • OEM: 917981-2
  • Service: 15306351
  • Description: 16-Way F 0.040/0.070 HYBRID I/O (BK)

Terminal Part Information

  • Pins: 2, 5, 8-16
  • Terminal/Tray: 175266-5/15
  • Core/Insulation Crimp: Pins 2, 5, 8-16 - J/J
  • Core/Insulation Crimp: Pins 9 - K/K
  • Release Tool/Test Probe: 15315247/J-35616-16 (L-GN)

Inside Rearview Mirror (ISRVM)

Pin

Wire

Circuit

Function

1-7

--

--

Not Used

8

0.35 BK/WH

850

Ground

9

0.5 L-GN

24

Backup Lamp Control

10

--

--

Not Used

11

0.35 D-GN/WH

2514

Keypad Signal (UE1)

12

0.35 L-GN/BK

2515

Keypad Control (UE1)

13

0.35 YE

443

Ignition Voltage

14

0.35 YE/BK

2516

Keypad Green LED Signal (UE1)

15

0.35 BN/WH

2517

Keypad Red LED Signal (UE1)

16

--

--

Not Used

Instrument Panel Cluster (IPC)


Object Number: 1845027  Size: CH

Connector Part Information

  • OEM: 1326133-1
  • Service: See Catalog
  • Description: 18-Way F Receptacle 0.64 Unsealed (BK)

Terminal Part Information

  • Pins: 2-6, 8-14, 16
  • Terminal/Tray: 638551-1/16
  • Core/Insulation Crimp: Pins 2, 10-13 - K/K
  • Core/Insulation Crimp: Pins 3-6, 8-9, 14, 16 - J/J
  • Release Tool/Test Probe: 15315247/J-35616-64B (L-BU)

Instrument Panel Cluster (IPC)

Pin

Wire

Circuit

Function

1

--

--

Not Used

2

0.5 PK

893

Driver Information Center Select Menu Switch Signal

3

0.35 PU

5234

Passenger Seat Belt Indicator

4

0.35 D-BU

2307

Passenger Air Bag On Indicator Control

5

0.35 D-GN

2308

Passenger Air Bag Off Indicator Control

6

0.35 BK/WH

1551

Ground

7

--

--

Not Used

8

0.35 D-GN

5060

Low Speed GMLAN Serial Data

9

0.35 TN/WH

33

Brake Warning Indicator Control

10

0.5 BN

897

Low Reference

11

0.5 BN/WH

419

Multifunction Indicator Lamp Control

12

0.5 D-GN/WH

1358

Driver Information Center Switch Signal

13

0.5 PK

1139

Ignition Voltage

14

0.35 RD/WH

1640

Battery Positive Voltage

15

--

--

Not Used

16

0.35 YE

749

Security Indicator Control

17-18

--

--

Not Used

Knock Sensor (KS) 1


Object Number: 784092  Size: CH

Connector Part Information

  • OEM: 1928403874
  • Service: 88988963
  • Description: 2-Way F Bosch Kompakt 2 Series Sealed

Terminal Part Information

  • Terminal/Tray: 1928498054/8
  • Core/Insulation Crimp: E/1
  • Release Tool/Test Probe: J-38125-561/J-35616-4A (PU)

Knock Sensor (KS) 1

Pin

Wire

Circuit

Function

1

0.5 D-BU

496

Knock Sensor 1 Signal

2

0.5 GY

1716

Knock Sensor 1 Signal

Knock Sensor (KS) 2


Object Number: 784092  Size: CH

Connector Part Information

  • OEM: 1928403874
  • Service: 88988963
  • Description: 2-Way F Bosch Kompakt 2 Series Sealed

Terminal Part Information

  • Terminal/Tray: 1928498054/8
  • Core/Insulation Crimp: E/1
  • Release Tool/Test Probe: J-38125-561/J-35616-4A (PU)

Knock Sensor (KS) 2

Pin

Wire

Circuit

Function

1

0.5 L-BU

1876

Knock Sensor 2 Signal

2

0.5 GY

2303

Knock Sensor 2 Signal

License Lamp - Left


Object Number: 744036  Size: CH

Connector Part Information

  • OEM: 12110053
  • Service: See Catalog
  • Description: 2-Way F Lamp Socket Wedge Base W2 (BK)

Terminal Part Information

  • Terminal/Tray: See Terminal Repair Kit
  • Core/Insulation Crimp: See Terminal Repair Kit
  • Release Tool/Test Probe: See Terminal Repair Kit

License Lamp - Left

Pin

Wire

Circuit

Function

A

0.35 BK

309

Right Park Lamp Control

B

0.5 BK

550

Ground

License Lamp - Right


Object Number: 744036  Size: CH

Connector Part Information

  • OEM: 12110053
  • Service: See Catalog
  • Description: 2-Way F Lamp Socket Wedge Base W2 (BK)

Terminal Part Information

  • Terminal/Tray: See Terminal Repair Kit
  • Core/Insulation Crimp: See Terminal Repair Kit
  • Release Tool/Test Probe: See Terminal Repair Kit

License Lamp - Right

Pin

Wire

Circuit

Function

A

0.35 BK

309

Right Park Lamp Control

0.35 BK

309

Right Park Lamp Control

B

0.5 BK

550

Ground

0.5 BK

550

Ground

Liftgate Latch


Object Number: 1626671  Size: CH

Connector Part Information

  • OEM: 15476199
  • Service: 88988358
  • Description: 6-Way F GT 280 Sealed (GN)

Terminal Part Information

  • Terminal/Tray: 15304719/19
  • Core/Insulation Crimp: E/5
  • Release Tool/Test Probe: 15315247/J-35616-4A (PU)

Liftgate Latch

Pin

Wire

Circuit

Function

1

0.5 L-BU

6128

Rear Closure Unlatch Motor Unlatch Control

2

--

--

Not Used

3

0.5 BK

550

Ground

4

--

--

Not Used

5

0.35 BK

550

Ground

6

0.5 PK/BK

1303

Liftgate Ajar Switch Signal

Liftgate Switch


Object Number: 1500536  Size: CH

Connector Part Information

  • OEM: 15366025
  • Service: 15306406
  • Description: 2-Way F GT 150 Series Sealed (GY)

Terminal Part Information

  • Terminal/Tray: See Terminal Repair Kit
  • Core/Insulation Crimp: See Terminal Repair Kit
  • Release Tool/Test Probe: See Terminal Repair Kit

Liftgate Switch

Pin

Wire

Circuit

Function

A

0.35 L-GN

5797

Rear Closure Handle Switch Open Signal

B

--

--

Not Available

C

0.35 L-GN

550

Ground

D

--

--

Not Available

Marker Lamp - Left Front


Object Number: 1860067  Size: CH

Connector Part Information

  • OEM: 10351681
  • Service: See Catalog
  • Description: 2-Way F Lamp Socket Sealed (BK)

Terminal Part Information

  • Terminal/Tray: See Terminal Repair Kit
  • Core/Insulation Crimp: See Terminal Repair Kit
  • Release Tool/Test Probe: See Terminal Repair Kit

Marker Lamp - Left Front

Pin

Wire

Circuit

Function

1

0.35 L-GN

709

Left Park Lamp Control

2

0.35 BK

1250

Ground

0.35 BK

1250

Ground

Marker Lamp - Right Front


Object Number: 1860067  Size: CH

Connector Part Information

  • OEM: 10351681
  • Service: See Catalog
  • Description: 2-Way F Lamp Socket Sealed (BK)

Terminal Part Information

  • Terminal/Tray: See Terminal Repair Kit
  • Core/Insulation Crimp: See Terminal Repair Kit
  • Release Tool/Test Probe: See Terminal Repair Kit

Marker Lamp - Right Front

Pin

Wire

Circuit

Function

1

0.35 L-GN

309

Right Park Lamp Control

2

0.35 BK

1250

Ground

0.35 BK

1250

Ground

Mass Air Flow (MAF)/Intake Air Temperature (IAT) Sensor


Object Number: 684983  Size: CH

Connector Part Information

  • OEM: 13520906
  • Service: 19151493
  • Description: 5-Way F GT 150 Sealed (BK)

Terminal Part Information

  • Terminal/Tray: 12191819/8
  • Core/Insulation Crimp: Pins A, B, D, E - E/A
  • Core/Insulation Crimp: Pins C - 2/A
  • Release Tool/Test Probe: 15315247/J-35616-2A (GY)

Mass Air Flow (MAF)/Intake Air Temperature (IAT) Sensor

Pin

Wire

Circuit

Function

A

0.5 YE

492

Mass Air Flow Sensor Signal

B

0.5 PK

1039

Ignition Voltage

C

0.8 BK/WH

451

Ground

D

0.5 TN

472

Intake Air Temperature Sensor Signal

E

0.5 TN

2760

Low Reference

Mode Actuator


Object Number: 258172  Size: CH

Connector Part Information

  • OEM: 12064982
  • Service: 12102633
  • Description: 5-Way F Micro-Pack 100 Series (BK)

Terminal Part Information

  • Terminal/Tray: See Terminal Repair Kit
  • Core/Insulation Crimp: See Terminal Repair Kit
  • Release Tool/Test Probe: See Terminal Repair Kit

Mode Actuator

Pin

Wire

Circuit

Function

1

0.35 YE

1791

Low Reference

2

0.35 L-GN

2275

Mode Door Position Signal

3

0.35 GY

598

5-Volt Reference

4

0.35 WH

119

Mode Door Control

5

0.35 TN

2273

Mode Door Control

Mode Actuator - Auxiliary (C69)


Object Number: 258172  Size: CH

Connector Part Information

  • OEM: 12064982
  • Service: 12102633
  • Description: 5-Way F Micro-Pack 100 Series (BK)

Terminal Part Information

  • Terminal/Tray: See Terminal Repair Kit
  • Core/Insulation Crimp: See Terminal Repair Kit
  • Release Tool/Test Probe: See Terminal Repair Kit

Mode Actuator - Auxiliary (C69)

Pin

Wire

Circuit

Function

1

0.35 GY/BK

1798

Ground

2

0.35 GY

2599

Auxiliary Mode Door Control

3

0.35 GY

596

5-Volt Reference

4

0.35 L-GN/WH

5729

Rear Mode Motor Control

5

0.35 OG

2215

Auxiliary Mode Door Control

Noise Compensation Microphone (U3U)


Object Number: 35441  Size: CH

Connector Part Information

  • OEM: 12047663
  • Service: 12085481
  • Description: 2-Way M Metri-Pack 150 Series (BK)

Terminal Part Information

  • Terminal/Tray: See Terminal Repair Kit
  • Core/Insulation Crimp: See Terminal Repair Kit
  • Release Tool/Test Probe: See Terminal Repair Kit

Noise Compensation Microphone (U3U)

Pin

Wire

Circuit

Function

A

0.5 GY

655

Cellular Microphone Signal

B

0.5 BARE

1489

Drain Wire

Output Speed Sensor (OSS)


Object Number: 882510  Size: CH

Connector Part Information

  • OEM: Aisin AW
  • Service: Non-Serviceable
  • Description: Conn 2F (BK)

Terminal Part Information

  • Terminal: Non-Serviceable
  • Core/Insulation Crimp: Non-Serviceable
  • Release Tool/Test Probe: Non-Serviceable

Output Speed Sensor (OSS)

Pin

Wire

Circuit

Function

1

0.5 RD

400

Output Shaft Sensor High Signal

2

0.5 BK

401

Output Shaft Sensor Low Signal

Outside Rearview Mirror - Driver


Object Number: 333035  Size: CH

Connector Part Information

  • OEM: 12047781
  • Service: 12101864
  • Description: 3-Way F Metri-Pack 150 Series (BK)

Terminal Part Information

  • Terminal/Tray: See Terminal Repair Kit
  • Core/Insulation Crimp: See Terminal Repair Kit
  • Release Tool/Test Probe: See Terminal Repair Kit

Outside Rearview Mirror - Driver

Pin

Wire

Circuit

Function

A

0.35 YE

1499

Driver Mirror Motor Left/Up Control

B

0.35 WH

81

Driver Mirror Motor Right Control

C

0.35 L-GN

88

Driver Mirror Motor Down Control

Outside Rearview Mirror - Passenger


Object Number: 333035  Size: CH

Connector Part Information

  • OEM: 12047781
  • Service: 12101864
  • Description: 3-Way F Metri-Pack 150 Series (BK)

Terminal Part Information

  • Terminal/Tray: See Terminal Repair Kit
  • Core/Insulation Crimp: See Terminal Repair Kit
  • Release Tool/Test Probe: See Terminal Repair Kit

Outside Rearview Mirror - Passenger

Pin

Wire

Circuit

Function

A

0.35 YE

1497

Passenger Mirror Motor Left/Up Control

B

0.35 WH

881

Passenger Mirror Motor Right Control

C

0.35 L-GN

889

Passenger Mirror Motor Down Control

Outside Rearview Mirror Switch


Object Number: 901282  Size: CH

Connector Part Information

  • OEM: 15327190
  • Service: See Catalog
  • Description: 8-Way F Ducon 0.8 Unsealed (GY)

Terminal Part Information

  • Terminal/Tray: 15326592/19
  • Core/Insulation Crimp: E/2
  • Release Tool/Test Probe: 12094429/J-35616-64B (L-BU)

Outside Rearview Mirror Switch

Pin

Wire Color

Circuit No.

Function

1

0.35 RD/WH

840

Battery Positive Voltage

2

0.35 BK

1450

Ground

3

0.35 PU/WH

889

Passenger Mirror Motor Down Control

4

0.35 WH

81

Driver Mirror Motor Right Control

5

0.35 L-GN

1499

Driver Mirror Motor Left/Down Control

6

--

--

Not Used

7

0.35 YE

88

Driver Mirror Motor Up Control

8

0.35 OG/WH

881

Passenger Mirror Motor Right Control

Overhead Console Courtesy/Reading Lamp


Object Number: 333035  Size: CH

Connector Part Information

  • OEM: 12047781
  • Service: 12101864
  • Description: 3-Way F Metri-pack 150 Series (BK)

Overhead Console Courtesy/Reading Lamp

Pin

Wire

Circuit

Function

A

0.8 OG

1732

12-Volt Reference

B

0.8 BK

850

Ground

C

0.8 GY

157

Interior Lamp Control

Park Brake Switch


Object Number: 439818  Size: CH

Connector Part Information

  • OEM: 12047682
  • Service: 12101850
  • Description: 1-Way F Metri-Pack 150 Series (BK)

Terminal Part Information

  • Terminal/Tray: 12064971/5
  • Core/Insulation Crimp: E/C
  • Release Tool/Test Probe: 12094429/J-35616-2A (GY)

Park Brake Switch

Pin

Wire

Circuit

Function

A

0.5 OG/BK

233

Park Brake Switch Signal

Park Lamp - Left Front


Object Number: 1860067  Size: CH

Connector Part Information

  • OEM: 10351681
  • Service: See Catalog
  • Description: 2-Way F Lamp Socket Sealed (BK)

Terminal Part Information

  • Terminal/Tray: See Terminal Repair Kit
  • Core/Insulation Crimp: See Terminal Repair Kit
  • Release Tool/Test Probe: See Terminal Repair Kit

Park Lamp - Left Front

Pin

Wire

Circuit

Function

1

0.35 L-GN

709

Left Park Lamp Control

0.35 L-GN

709

Left Park Lamp Control

2

0.35 BK

1250

Ground

0.35 BK

1250

Ground

Park Lamp - Right Front


Object Number: 1860067  Size: CH

Connector Part Information

  • OEM: 10351681
  • Service: See Catalog
  • Description: 2-Way F Lamp Socket Sealed (BK)

Terminal Part Information

  • Terminal/Tray: See Terminal Repair Kit
  • Core/Insulation Crimp: See Terminal Repair Kit
  • Release Tool/Test Probe: See Terminal Repair Kit

Park Lamp - Right Front

Pin

Wire

Circuit

Function

1

0.35 L-GN

309

Right Park Lamp Control

0.35 L-GN

309

Right Park Lamp Control

2

0.35 BK

1250

Ground

0.35 BK

1250

Ground

Park Position Switch


Object Number: 62450  Size: CH

Connector Part Information

  • OEM: 05-1165-0937
  • Service: See Catalog
  • Description: 4-Way F

Terminal Part Information

  • Terminal/Tray: See Terminal Repair Kit
  • Core/Insulation Crimp: See Terminal Repair Kit
  • Release Tool/Test Probe: See Terminal Repair Kit

Park Position Switch

Pin

Wire

Circuit

Function

A

0.35 PU/WH

5905

Key Capture/Column Lock Shift Position Signal

B

--

--

Not Used

C

--

--

Not Used

D

0.35 PU/WH

1630

Steering Column Key Cylinder Lock Solenoid Control

Park/Turn Signal Lamp - Left Front


Object Number: 1857554  Size: CH

Connector Part Information

  • OEM: 1999370
  • Service: See Catalog
  • Description: 3-Way F Lamp Socket Sealed (BK)

Terminal Part Information

  • Terminal/Tray: See Terminal Repair Kit
  • Core/Insulation Crimp: See Terminal Repair Kit
  • Release Tool/Test Probe: See Terminal Repair Kit

Park/Turn Signal Lamp - Left Front

Pin

Wire

Circuit

Function

MIN

0.35 D-BU

1314

Left Front Turn Signal Lamp Control

MAJ

0.35 L-GN

709

Left Park Lamp Control

0.35 L-GN

709

Left Park Lamp Control

G

0.35 BK

1250

Ground

0.35 BK

1250

Ground

Park/Turn Signal Lamp - Left Rear


Object Number: 1857554  Size: CH

Connector Part Information

  • OEM: 1999370
  • Service: See Catalog
  • Description: 3-Way F Lamp Socket Sealed (BK)

Terminal Part Information

  • Terminal/Tray: See Terminal Repair Kit
  • Core/Insulation Crimp: See Terminal Repair Kit
  • Release Tool/Test Probe: See Terminal Repair Kit

Park/Turn Signal Lamp - Left Rear

Pin

Wire

Circuit

Function

MIN

0.8 WH

18

Left Rear Stop/Turn Lamp Control

MAJ

0.35 D-GN

709

Left Park Lamp Control

0.35 D-GN

709

Left Park Lamp Control

G

0.5 BK

550

Ground

0.5 BK

550

Ground

Park/Turn Signal Lamp - Right Front


Object Number: 1857554  Size: CH

Connector Part Information

  • OEM: 1999370
  • Service: See Catalog
  • Description: 3-Way F Lamp Socket Sealed (BK)

Terminal Part Information

  • Terminal/Tray: See Terminal Repair Kit
  • Core/Insulation Crimp: See Terminal Repair Kit
  • Release Tool/Test Probe: See Terminal Repair Kit

Park/Turn Signal Lamp - Right Front

Pin

Wire

Circuit

Function

MIN

0.35 D-BU

1315

Right Front Turn Signal Lamp Control

MAJ

0.35 L-GN

309

Right Park Lamp Control

0.35 L-GN

309

Right Park Lamp Control

G

0.35 BK

1250

Ground

0.35 BK

1250

Ground

Park/Turn Signal Lamp - Right Rear


Object Number: 1857554  Size: CH

Connector Part Information

  • OEM: 1999370
  • Service: See Catalog
  • Description: 3-Way F Lamp Socket Sealed (BK)

Terminal Part Information

  • Terminal/Tray: See Terminal Repair Kit
  • Core/Insulation Crimp: See Terminal Repair Kit
  • Release Tool/Test Probe: See Terminal Repair Kit

Park/Turn Signal Lamp - Right Rear

Pin

Wire

Circuit

Function

MIN

0.8 WH

19

Right Rear Stop/Turn Lamp Control

MAJ

0.35 D-GN

309

Right Park Lamp Control

0.35 D-GN

309

Right Park Lamp Control

G

0.5 BK

850

Ground

0.5 BK

850

Ground

Pressure Control (PC) Solenoid Valve


Object Number: 1545985  Size: CH

Connector Part Information

  • OEM: Aisin AW
  • Service: Non-Serviceable
  • Description: Conn 2-Way F (BU)

Terminal Part Information

  • Terminal: Non-Serviceable
  • Core/Insulation Crimp: Non-Serviceable
  • Release Tool/Test Probe: Non-Serviceable

Pressure Control (PC) Solenoid Valve

Pin

Wire

Circuit

Function

1

0.35 L-GN

1994

Line Pressure Control Solenoid Valve High Control

2

GY

5510

Line Pressure Control Solenoid Valve Low Control

Radio X1


Object Number: 1664602  Size: CH

Connector Part Information

  • OEM: 7283-4490-30
  • Service: 88988743
  • Description: 14-Way F (BK)

Terminal Part Information

  • Pins: 1, 8
  • Terminal/Tray: 12191812/19
  • Core/Insulation Crimp: C/A
  • Release Tool/Test Probe: 15315247/J-35616-2A (GY)
  • Pins: 2-7, 9-10, 13
  • Terminal/Tray: 7116-4618-02/14
  • Core/Insulation Crimp: Pins 2-3, 9-10 - See Terminal Repair Kit
  • Core/Insulation Crimp: Pins 4-7, 13 - P/P
  • Release Tool/Test Probe: J-38125-215/J-35616-64B (L-BU)

Radio X1

Pin

Wire

Circuit

Function

1

1.0 RD/WH

2040

Battery Positive Voltage

2

0.75 TN

201

Left Front Speaker Output (+)

3

0.75 TN

1875

Right Front Speaker Output (+)

4

0.5 GY

655

Cellular Microphone Signal (U3U)

5

0.35 BARE

1489

Drain Wire (U3U)

6

0.5 WH

1487

Antenna Enable Signal

7

0.35 PU/WH

1382

LED Dimming Signal

8

0.8 BK/WH

1551

Ground

9

0.75 GY

118

Left Front Speaker Output (-)

10

0.75 TN/WH

1975

Right Front Speaker Output (-)

11-12

--

--

Not Used

13

0.35 D-GN

5060

Low Speed GMLAN Serial Data

14

--

--

Not Used

Radio X2


Object Number: 1566784  Size: CH

Connector Part Information

  • OEM: 7283-9076-30
  • Service: See Catalog
  • Description: 16-Way F Kaizen 0.64 Series (BK)

Terminal Part Information

  • Pins: 1-2, 5-6, 8-9, 13-14
  • Terminal/Tray: 7116-4618-02/14
  • Core/Insulation Crimp: Pins 1-2, 8-10 - P/P
  • Core/Insulation Crimp: Pins 5-6, 13-14 - See Terminal Repair Kit
  • Release Tool/Test Probe: J-38125-215/J-35616-64B (L-BU)

Radio X2

Pin

Wire

Circuit

Function

1

0.5 BN/WH

367

Remote Radio Left Audio Signal (U2K)

2

0.5 D-GN/WH

368

Remote Radio Right Audio Signal (U2K)

3-4

--

--

Not Used

5

0.75 BN

199

Left Rear Speaker Output (+)

6

0.75 D-BU

46

Right Rear Speaker Output (+)

7

--

--

Not Used

8

0.5 OG

5748

Radio Audio Mute Signal (U65)

9

0.5 TN/WH

372

Remote Radio Audio Output (-) (U2K)

10

0.5 GY

388

Remote Radio Right Audio Signal (U2K)

11-12

--

--

Not Used

13

0.75 YE

116

Left Rear Speaker Output (-)

14

0.75 L-BU

115

Right Rear Speaker Output (-)

15-16

--

--

Not Used

Radio X3 (UUC)


Object Number: 1845264  Size: CH

Connector Part Information

  • OEM: 7283-9077-40
  • Service: 89047195
  • Description: 14-Way F Kaizen 0.64 Series (L-GY)

Terminal Part Information

  • Terminal/Tray: 7116-4618-02/14
  • Core/Insulation Crimp: P/P
  • Release Tool/Test Probe: J-38125-215/J-35616-64B (L-BU)

Radio X3 (UUC)

Pin

Wire

Circuit

Function

1

0.5 YE

2059

Auxiliary Audio Left Signal

2

0.5 WH

2058

Auxiliary Audio Right Signal

3

0.5 L-BU

5826

Left DVD Audio Signal (+)

4

0.5 WH

5828

Right DVD Audio Signal (+)

5

0.5 OG/BK

5831

Remote Infra Red Signal (+)

6

0.5 PK/BK

5844

Video Bright Control

7

0.5 D-GN

6975

DVD Video Signal (+)

8

0.5 PU

2056

Auxiliary Video High Signal

9

0.35 BARE

5345

Drain Wire

10

0.5 BN/WH

5846

Video Power Mode Signal

11

0.5 PU

6979

DVD Audio Common

12

0.35 BARE

6980

DVD Audio Shield

13

0.5 TN/WH

5830

Remote Infra Red Signal (-)

14

0.35 BARE

6976

DVD Video Drain Wire

15

0.5 WH/BK

5335

DVD Video Signal (-)

16

0.35 BARE

5346

Video Drain Wire

Radio X4 (U3U)


Object Number: 1454407  Size: CH

Connector Part Information

  • OEM: 15394151
  • Service: See Catalog
  • Description: 16-Way F Micro 64 (BN)

Terminal Part Information

  • Terminal/Tray: 15359541/4
  • Core/Insulation Crimp: M/M
  • Release Tool/Test Probe: 15381651-2/J-35616-64B (L-BU)

Radio X4 (U3U)

Pin

Wire

Circuit

Function

1-4

--

--

Not Used

5

0.5 D-GN/WH

817

Vehicle Speed Signal (U3U)

6-16

--

--

Not Used

Rear Differential Clutch Control Module X1 (MH6)


Object Number: 1845114  Size: CH

Connector Part Information

  • OEM: 89047383
  • Service: See Catalog
  • Description: 10-Way F 0.64 Sealed (BK)

Terminal Part Information

  • Terminal/Tray: 7116-4618-02/14
  • Core/Insulation Crimp: P/P
  • Release Tool/Test Probe: J-38125-215/J-35616-64B (L-BU)

Rear Differential Clutch Control Module X1 (MH6)

Pin

Wire

Circuit

Function

1-2

--

--

Not Used

3

0.5 BK

850

Ground

4

--

--

Not Used

5

0.5 L-BU

5986

Serial Data Communication Enable

6

0.5 RD/WH

1740

Battery Positive Voltage

7

--

--

Not Used

8

0.5 TN

2501

High Speed GMLAN Serial Data Bus-

9

0.5 TN/BK

2500

High Speed GMLAN Serial Data Bus+

10

--

--

Not Used

Rear Differential Clutch Control Module X2 (MH6)


Object Number: 1861930  Size: CH

Connector Part Information

  • OEM: 89047382
  • Service: See Catalog
  • Description: 5-Way F 0.64 (BK)

Terminal Part Information

  • Terminal/Tray: See Terminal Repair Kit
  • Core/Insulation Crimp: See Terminal Repair Kit
  • Release Tool/Test Probe: See Terminal Repair Kit

Rear Differential Clutch Control Module X2 (MH6)

Pin

Wire

Circuit

Function

1

--

--

Not Used

2

0.5 YE

9998

Low Reference

3

0.5 YE

9996

Low Reference

4

0.5 YE

9999

All Wheel Drive Temperature Sensor Signal

5

0.5 YE

9997

All Wheel Drive Coil Control

Rear Wheel Drive Module Clutch (MH6)


Object Number: 334403  Size: CH

Connector Part Information

  • OEM:90980-10942
  • Service: See Catalog
  • Description: 4-Way F

Rear Wheel Drive Module Clutch (MH6)

Pin

Wire

Circuit

Function

1

0.5 YE

9996

Low Reference

2

0.5 YE

9997

AWD Coil Supply Voltage

3

0.5 YE

9999

AWD Temperature Sensor Signal

4

0.5 YE

9998

Low Reference

Rear Window Defogger Grid X1


Object Number: 1413086  Size: CH

Connector Part Information

  • OEM: 7123-5014-30
  • Service: 88988465
  • Description: 1-Way F (BK)

Terminal Part Information

  • Terminal/Tray: 7116-2951-02/27
  • Core/Insulation Crimp: C/B
  • Release Tool/Test Probe: 12094430/J-35616-42 (RD)

Rear Window Defogger Grid X1

Pin

Wire Color

Circuit No.

Function

1

2.0 BK

293

Rear Defog Element Control

Rear Window Defogger Grid X2


Object Number: 1413086  Size: CH

Connector Part Information

  • OEM: 7123-5014-30
  • Service: 88988465
  • Description: 1-Way F (BK)

Terminal Part Information

  • Terminal/Tray: 7116-2951-02/27
  • Core/Insulation Crimp: C/D
  • Release Tool/Test Probe: 12094430/J-35616-42 (RD)

Rear Window Defogger Grid X2

Pin

Wire Color

Circuit No.

Function

1

1.0 BK

550

Ground

Rear Window Wiper Motor


Object Number: 831380  Size: CH

Connector Part Information

  • OEM: 15332141
  • Service: 88986249
  • Description: 6-Way F GT 150 Series, Unsealed (BK)

Terminal Part Information

  • Pins: A-F
  • Terminal/Tray: 12191812/19
  • Core/Insulation Crimp: Pins A, C - C/A
  • Core/Insulation Crimp: Pins B, D-F - E/C
  • Release Tool/Test Probe: 15315247/J-35616-2A (GY)

Rear Window Wiper Motor

Pin

Wire

Circuit

Function

A

1.0 BK

550

Ground

B

0.35 L-GN

2270

Rear Window Washer Relay Control

C

1.0 RD/WH

2140

Battery Positive Voltage

D

0.5 YE

243

Ignition Voltage

E

0.35 GY

391

Rear Window Wiper Switch Signal

F

0.5 PK/BK

1303

Liftgate Ajar Switch Signal

Rear Window Wiper/Washer/Fog Lamp Switch


Object Number: 1664548  Size: CH

Connector Part Information

  • OEM: HCMPB-06-K
  • Service: 19115655
  • Description: 6-Way F HCM Series (BK)

Terminal Part Information

  • Terminal/Tray: SHCM-A03T-P025/20
  • Core/Insulation Crimp: J/J
  • Release Tool/Test Probe: 12094429/J-35616-64B (L-BU)

Rear Window Wiper/Washer/Fog Lamp Switch

Pin

Wire

Circuit

Function

1

0.35 BK/WH

1551

Ground

2

0.35 GY

391

Rear Window Wiper Switch Signal

3

0.35 L-GN

2270

Rear Window Washer Relay Control

4

0.35 OG

192

Front Fog Lamp Switch Signal/Fog Lamps Enable (T96)

5

0.35 BK

1450

Ground

6

0.35 PU/WH

1382

LED Dimming Signal (T96)

Recirculation Actuator


Object Number: 258172  Size: CH

Connector Part Information

  • OEM: 12064982
  • Service: 12102633
  • Description: 5-Way F Micro-Pack 100 Series (BK)

Terminal Part Information

  • Terminal/Tray: See Terminal Repair Kit
  • Core/Insulation Crimp: See Terminal Repair Kit
  • Release Tool/Test Probe: See Terminal Repair Kit

Recirculation Actuator

Pin

Wire

Circuit

Function

1

0.35 YE

1791

Low Reference

2

0.35 PU

1838

Recirculation Door Position Signal

3

0.35 GY

598

5-Volt Reference

4

0.35 TN/BK

2274

Recirculation Door Control Circuit

5

0.35 D-GN

1614

Recirculation Door Control

Remote Control Door Lock Receiver (RCDLR)


Object Number: 1673483  Size: CH

Connector Part Information

  • OEM: IL-AG5-4S-S3C1
  • Service: 88988745
  • Description: 4-Way F ILAG5 Series (GN)

Terminal Part Information

  • Terminal/Tray: IL-AG5-C1-5000/20
  • Core/Insulation Crimp: K/K
  • Release Tool/Test Probe: J-38125-211/J-35616-64B (L-BU)

Remote Control Door Lock Receiver (RCDLR)

Pin

Wire

Circuit

Function

1

0.35 RD/WH

1840

Battery Positive Voltage

2

0.35 D-GN

5060

Low Speed GMLAN Serial Data

3

--

--

Not Used

4

0.35 BK/WH

651

Ground

Seat Adjuster Switch - Driver (AG1)


Object Number: 556473  Size: CH

Connector Part Information

  • OEM: 15326924
  • Service: 15306174
  • Description: 8-Way F GT 280 Series (BK)

Terminal Part Information

  • Terminal/Tray: See Terminal Repair Kit
  • Core/Insulation Crimp: See Terminal Repair Kit
  • Release Tool/Test Probe: See Terminal Repair Kit

Seat Adjuster Switch - Driver (AG1)

Pin

Wire

Circuit

Function

A

2.0 RD/BK

542

Battery Positive Voltage

B

3.0 RD

285

Driver Seat Horizontal Motor Forward Control

C

3.0 BK

284

Driver Seat Horizontal Motor Rearward Control

D

3.0 D-GN

286

Driver Seat Front Vertical Motor Up Control

E

3.0 D-BU

287

Driver Seat Front Vertical Motor Down Control

F

3.0 L-BU

283

Driver Seat Rear Vertical Motor Down Control

G

2.0 BK

650

Ground

H

3.0 YE

282

Driver Seat Rear Vertical Motor Up Control

Seat Belt Buckle - Driver


Object Number: 280768  Size: CH

Connector Part Information

  • OEM: 12052832
  • Service: 12101825
  • Description: 2-Way F Metri-Pack 280 Series (BK)

Terminal Part Information

  • Terminal/Tray: See Terminal Repair Kit
  • Core/Insulation Crimp: See Terminal Repair Kit
  • Release Tool/Test Probe: See Terminal Repair Kit

Seat Belt Buckle - Driver

Pin

Wire Color

Circuit No.

Function

A

0.35 PK

5057

Low Refernce

B

0.35 D-GN

5016

Seat Belt Switch - Left - Signal

Seat Belt Buckle - Passenger


Object Number: 280768  Size: CH

Connector Part Information

  • OEM: 12052832
  • Service: 12101825
  • Description: 2-Way F Metri-Pack 280 Series (BK)

Terminal Part Information

  • Terminal/Tray: See Terminal Repair Kit
  • Core/Insulation Crimp: See Terminal Repair Kit
  • Release Tool/Test Probe: See Terminal Repair Kit

Seat Belt Buckle - Passenger

Pin

Wire Color

Circuit No.

Function

A

0.35 PK

5057

Low Refernce

B

0.35 RD

1362

Seat Belt Switch - Left - Signal

Seat Belt Pretensioner - Left


Object Number: 1845394  Size: CH

Connector Part Information

  • OEM: 252922346
  • Service: See Catalog
  • Description: 2-Way F (PU)

Terminal Part Information

  • Terminal/Tray: See Terminal Repair Kit
  • Core/Insulation Crimp: See Terminal Repair Kit
  • Release Tool/Test Probe: See Terminal Repair Kit

Seat Belt Pretensioner - Left

Pin

Wire

Circuit

Function

1

0.5 TN/WH

2118

Seat Belt Pretensioner - Left - High Control

2

0.5 OG/BK

2119

Seat Belt Pretensioner - Left - Low Control

Seat Belt Pretensioner - Right


Object Number: 1845394  Size: CH

Connector Part Information

  • OEM: 252922347
  • Service: See Catalog
  • Description: 2-Way F (PU)

Terminal Part Information

  • Terminal/Tray: See Terminal Repair Kit
  • Core/Insulation Crimp: See Terminal Repair Kit
  • Release Tool/Test Probe: See Terminal Repair Kit

Seat Belt Pretensioner - Right

Pin

Wire

Circuit

Function

1

0.5 L-GN

2116

Seat Belt Pretensioner - Right - High Control

2

0.5 OG

2117

Seat Belt Pretensioner - Right - Low Control

Seat Front Vertical Motor - Driver (AG1)


Object Number: 1073782  Size: CH

Connector Part Information

  • OEM: 12020556
  • Service: 12101820
  • Description: 2-Way F Metri-Pack 280 Series (BK)

Terminal Part Information

  • Terminal/Tray: See Terminal Repair Kit
  • Core/Insulation Crimp: See Terminal Repair Kit
  • Release Tool/Test Probe: See Terminal Repair Kit

Seat Front Vertical Motor - Driver (AG1)

Pin

Wire

Circuit

Function

A

3.0 D-BU

287

Driver Seat Front Vertical Motor Down Control

B

3.0 D-GN

286

Driver Seat Front Vertical Motor Up Control

Seat Rear Vertical Motor - Driver (AG1)


Object Number: 1073782  Size: CH

Connector Part Information

  • OEM: 12020556
  • Service: 12101820
  • Description: 2-Way F Metri-Pack 280 Series (BK)

Terminal Part Information

  • Terminal/Tray: See Terminal Repair Kit
  • Core/Insulation Crimp: See Terminal Repair Kit
  • Release Tool/Test Probe: See Terminal Repair Kit

Seat Rear Vertical Motor - Driver (AG1)

Pin

Wire

Circuit

Function

A

3.0 L-BU

283

Driver Seat Rear Vertical Motor Down Control

B

3.0 YE

282

Driver Seat Rear Vertical Motor Up Control

Shift Pressure Control (PC) Solenoid Valve


Object Number: 1545985  Size: CH

Connector Part Information

  • OEM: Aisin AW
  • Service: Non-Serviceable
  • Description: Conn 2-Way F (GN)

Terminal Part Information

  • Terminal: Non-Serviceable
  • Core/Insulation Crimp: Non-Serviceable
  • Release Tool/Test Probe: Non-Serviceable

Shift Pressure Control (PC) Solenoid Valve

Pin

Wire

Circuit

Function

1

0.35 RD

2880

Shift Pressure Control Solenoid Valve High Control

2

0.35 BU

5508

Shift Pressure Control Solenoid Valve Low Control

Shift Solenoid (SS) Valve 1


Object Number: 1545981  Size: CH

Connector Part Information

  • OEM: Aisin AW
  • Service: Non-Serviceable
  • Description: Conn 1-Way F (BK)

Terminal Part Information

  • Terminal: Non-Serviceable
  • Core/Insulation Crimp: Non-Serviceable
  • Release Tool/Test Probe: Non-Serviceable

Shift Solenoid (SS) Valve 1

Pin

Wire

Circuit

Function

1

0.35 WH

1222

Shift Solenoid Valve 1 High Control

Shift Solenoid (SS) Valve 2


Object Number: 1545981  Size: CH

Connector Part Information

  • OEM: Aisin AW
  • Service: Non-Serviceable
  • Description: Conn 1-Way F (BK)

Terminal Part Information

  • Terminal: Non-Serviceable
  • Core/Insulation Crimp: Non-Serviceable
  • Release Tool/Test Probe: Non-Serviceable

Shift Solenoid (SS) Valve 2

Pin

Wire

Circuit

Function

1

0.35 BK

1223

Shift Solenoid Valve 2 High Control

Shift Solenoid (SS) Valve 3


Object Number: 1545981  Size: CH

Connector Part Information

  • OEM: Aisin AW
  • Service: Non-Serviceable
  • Description: Conn 1-Way F (GY)

Terminal Part Information

  • Terminal: Non-Serviceable
  • Core/Insulation Crimp: Non-Serviceable
  • Release Tool/Test Probe: Non-Serviceable

Shift Solenoid (SS) Valve 3

Pin

Wire

Circuit

Function

1

0.35 YE

898

Shift Solenoid Valve 3 High Control

Shift Solenoid (SS) Valve 4


Object Number: 1545981  Size: CH

Connector Part Information

  • OEM: Aisin AW
  • Service: Non-Serviceable
  • Description: Conn 1-Way F (BU)

Terminal Part Information

  • Terminal: Non-Serviceable
  • Core/Insulation Crimp: Non-Serviceable
  • Release Tool/Test Probe: Non-Serviceable

Shift Solenoid (SS) Valve 4

Pin

Wire

Circuit

Function

1

0.35 PU

2879

Shift Solenoid Valve 4 High Control

Shift Solenoid (SS) Valve 5


Object Number: 1545981  Size: CH

Connector Part Information

  • OEM: Aisin AW
  • Service: Non-Serviceable
  • Description: Conn 1-Way F (BN)

Terminal Part Information

  • Terminal: Non-Serviceable
  • Core/Insulation Crimp: Non-Serviceable
  • Release Tool/Test Probe: Non-Serviceable

Shift Solenoid (SS) Valve 5

Pin

Wire

Circuit

Function

1

L-BU

2527

Shift Solenoid Valve 5 High Control

Speaker - Left Front


Object Number: 1282875  Size: CH

Connector Part Information

  • OEM: 12196741
  • Service: See Catalog
  • Description: 2-Way F Faston 2.8 Series (BK)

Terminal Part Information

  • Terminal/Tray: See Terminal Repair Kit
  • Core/Insulation Crimp: See Terminal Repair Kit
  • Release Tool/Test Probe: See Terminal Repair Kit

Speaker - Left Front

Pin

Wire

Circuit

Function

1

0.35 TN

201

Left Front Speaker Output (-)

2

0.35 GY

118

Left Front Speaker Output (+)

Speaker - Left Front Tweeter


Object Number: 1282877  Size: CH

Connector Part Information

  • OEM: 626064-0
  • Service: See Catalog
  • Description: 2-Way F Faston 2.8 Series (NA)

Terminal Part Information

  • Terminal/Tray: See Terminal Repair Kit
  • Core/Insulation Crimp: See Terminal Repair Kit
  • Release Tool/Test Probe: See Terminal Repair Kit

Speaker - Left Front Tweeter

Pin

Wire

Circuit

Function

1

0.35 GY

201

Left Front Speaker Output (+)

2

0.35 TN

118

Left Front Speaker Output (-)

Speaker - Left Rear


Object Number: 1282875  Size: CH

Connector Part Information

  • OEM: 12196741
  • Service: See Catalog
  • Description: 2-Way F Faston 2.8 Series (BK)

Terminal Part Information

  • Terminal/Tray: See Terminal Repair Kit
  • Core/Insulation Crimp: See Terminal Repair Kit
  • Release Tool/Test Probe: See Terminal Repair Kit

Speaker - Left Rear

Pin

Wire

Circuit

Function

1

0.8 BN

116

Left Rear Speaker Output (-)

2

0.8 YE

199

Left Rear Speaker Output (+)

Speaker - Right Front


Object Number: 1282875  Size: CH

Connector Part Information

  • OEM: 12196741
  • Service: See Catalog
  • Description: 2-Way F Faston 2.8 Series (BK)

Terminal Part Information

  • Terminal/Tray: See Terminal Repair Kit
  • Core/Insulation Crimp: See Terminal Repair Kit
  • Release Tool/Test Probe: See Terminal Repair Kit

Speaker - Right Front

Pin

Wire

Circuit

Function

1

0.8 GY

200

Right Front Speaker Output (+)

2

0.8 TN

117

Right Front Speaker Output (-)

Speaker - Right Front Tweeter


Object Number: 1282877  Size: CH

Connector Part Information

  • OEM: 626064-0
  • Service: See Catalog
  • Description: 2-Way F Faston 2.8 Series (NA)

Terminal Part Information

  • Terminal/Tray: See Terminal Repair Kit
  • Core/Insulation Crimp: See Terminal Repair Kit
  • Release Tool/Test Probe: See Terminal Repair Kit

Speaker - Right Front Tweeter

Pin

Wire

Circuit

Function

1

0.8 GY

200

Right Front Speaker Output (+)

2

0.8 TN

117

Right Front Speaker Output (-)

Speaker - Right Rear


Object Number: 1282875  Size: CH

Connector Part Information

  • OEM: 12196741
  • Service: See Catalog
  • Description: 2-Way F Faston 2.8 Series (BK)

Terminal Part Information

  • Terminal/Tray: See Terminal Repair Kit
  • Core/Insulation Crimp: See Terminal Repair Kit
  • Release Tool/Test Probe: See Terminal Repair Kit

Speaker - Right Rear

Pin

Wire

Circuit

Function

1

0.8 BN

115

Right Rear Speaker Output (-)

2

0.8 YE

46

Right Rear Speaker Output (+)

Speaker - Subwoofer (U65)


Object Number: 130637  Size: CH

Connector Part Information

  • OEM: 12064760
  • Service: 12085208
  • Description: 4-Way F Metri-Pack 150 Series (BK)

Terminal Part Information

  • Terminal/Tray: 12047767/2
  • Core/Insulation Crimp: E/A
  • Release Tool/Test Probe: 12094429/J-35616-2A (GY)

Speaker - Subwoofer (U65)

Pin

Wire

Circuit

Function

A

1.0 L-GN/BK

1794

Subwoofer Speaker Output (-)

B

1.0 D-BU/WH

346

Subwoofer Speaker Output (+)

C

1.0 L-BU/BK

315

Right Subwoofer Speaker Output (-)

D

1.0 D-GN

1795

Right Subwoofer Speaker Output (+)

Starter Motor X1


Object Number: 439508  Size: CH

Connector Part Information

  • OEM: 12089916
  • Service: 12101763
  • Description: 1-Way F Metri-Pack 280 Sealed (GY)

Terminal Part Information

  • Terminal/Tray: 12176387/3
  • Core/Insulation Crimp: F/5
  • Release Tool/Test Probe: 12094430/J-35616-4A (PU)

Starter Motor X1

Pin

Wire Color

Circuit No.

Function

A

5 PU

6

Starter Solenoid Crank Voltage

Starter Motor X2 (Battery Positive Cable)

Terminal Part Information

  • Harness: Battery Positive Cable
  • Terminal/Tray: 7003-1849-02
  • Core/Insulation Crimp: N/A
  • Description: Ring Terminal

Starter Motor X2 (Battery Positive Cable)

Pin

Wire

Circuit

Function

+

32 RD

1

Battery Positive Voltage

Starter Motor X2 (Engine)

Terminal Part Information

  • Harness: Engine
  • Terminal/Tray: 7003-1849-02
  • Core/Insulation Crimp: N/A
  • Description: Ring Terminal

Starter Motor X2 (Engine)

Pin

Wire

Circuit

Function

+

19 RD

1

Battery Positive Voltage

8 L-BU

5576

Battery Positive Voltage

Steering Angle Sensor


Object Number: 1835137  Size: CH

Connector Part Information

  • OEM: 1488752-1
  • Service: 88988374
  • Description: 6-Way F Receptacle 0.64 Unsealed (BK)

Terminal Part Information

  • Terminal/Tray: 1393365-2/7
  • Core/Insulation Crimp: K/K
  • Release Tool/Test Probe: 15315247/J-35616-64B (L-BU)

Steering Angle Sensor

Pin

Wire

Circuit

Function

1

0.5 GY

6044

5-Volt Reference

2

0.5 BN/WH

6437

CAN Bus High Terminated Serial Data

3

0.5 TN/WH

6433

CAN Bus High Serial Data

4

0.5 L-GN/BK

6432

CAN Bus Low Serial Data

5

0.5 WH/BK

6436

CAN Bus Low Terminated Serial Data

6

0.5 OG/BK

6045

Low Reference

Steering Wheel Control Switch - Left (K34)


Object Number: 1399235  Size: CH

Connector Part Information

  • OEM: 30700-1100
  • Service: See Catalog
  • Description: 10-Way F HDAC64 DR Series (GY)

Steering Wheel Control Switch - Left (K34)

Pin

Wire

Circuit

Function

1

0.35 PU

1375

12-Volt Reference

2

--

--

Not Used

3

0.35 GY

1884

Cruise Control Switch Signal

4-5

--

--

Not Used

6

0.35 PU/WH

7005

LED Dimming Signal

7

--

--

Not Used

8

0.35 BK

1450

Ground

9

0.35 GN/WH

7158

Cruise Control Indicator Dimming Signal

10

--

--

Not Used

Steering Wheel Control Switch - Right (UK3)


Object Number: 1711016  Size: CH

Connector Part Information

  • OEM: 31068-1010
  • Service: See Catalog
  • Description: 4-Way F HDAC64 SR Housing (BK)

Steering Wheel Control Switch - Right (UK3)

Pin

Wire

Circuit

Function

1

0.35 BK

1450

Ground

2

0.35 PU/WH

7005

LED Dimming Signal

3

0.35 PU

1375

12-Volt Reference

4

0.35 D-BU

1796

Steering Wheel Controls Signal

Sunroof Control Module X1 (CF5)


Object Number: 783213  Size: CH

Connector Part Information

  • OEM: 39-01-2080
  • Service: See Catalog
  • Description: 8-Way F Mini-Fit Series (NA)

Terminal Part Information

  • Terminal/Tray: See Terminal Repair Kit
  • Core/Insulation Crimp: See Terminal Repair Kit
  • Release Tool/Test Probe: See Terminal Repair Kit

Sunroof Control Module X1 (CF5)

Pin

Wire

Circuit

Function

1

0.8 YE

133

Low Reference

2-3

--

--

Not Used

4

0.35 D-GN

2074

Sunroof Switch Express Signal

5

0.35 D-BU

128

Low Reference

6

0.35 BN

100

Sunroof Switch Open Signal

7

0.35 OG/BK

144

Sunroof Switch Open Vent Signal

8

0.35 OG

132

Sunroof Limit Switch Soft Stop Signal

Sunroof Control Module X2 (CF5)


Object Number: 62450  Size: CH

Connector Part Information

  • OEM: 12052856
  • Service: 12125636
  • Description: 4-Way F Metri-Pack 280 Series (BK)

Terminal Part Information

  • Terminal/Tray: See Terminal Repair Kit
  • Core/Insulation Crimp: See Terminal Repair Kit
  • Release Tool/Test Probe: See Terminal Repair Kit

Sunroof Control Module X2 (CF5)

Pin

Wire

Circuit

Function

A

0.8 OG

643

Ignition Voltage

B

0.8 L-GN

128

Low Reference

C

0.8 D-GN

127

Sunroof Motor Open Control

D

0.8 BK

550

Ground

Sunroof Motor X1 (CF5)


Object Number: 808706  Size: CH

Connector Part Information

  • OEM: 12064749
  • Service: 12101888
  • Description: 2-Way F Metri-Pack 480 Series (BK)

Terminal Part Information

  • Terminal/Tray: See Terminal Repair Kit
  • Core/Insulation Crimp: See Terminal Repair Kit
  • Release Tool/Test Probe: See Terminal Repair Kit

Sunroof Motor X1

Pin

Wire

Circuit

Function

A

0.8 L-GN

128

Low Reference

B

0.8 D-GN

127

Sunroof Motor Open Control

Sunroof Motor X2 (CF5)


Object Number: 258688  Size: CH

Connector Part Information

  • OEM: 12186775
  • Service: 15306098
  • Description: 3-Way F (BK)

Terminal Part Information

  • Terminal/Tray: See Terminal Repair Kit
  • Core/Insulation Crimp: See Terminal Repair Kit
  • Release Tool/Test Probe: See Terminal Repair Kit

Sunroof Motor X2 (CF5)

Pin

Wire

Circuit

Function

1

0.8 OG

132

Sunroof Limit Switch Soft Stop Signal

2

--

--

Not Used

3

0.8 YE

133

Low Reference

Sunroof Switch (CF5)


Object Number: 40427  Size: CH

Connector Part Information

  • OEM: 12064978
  • Service: 12125678
  • Description: 6-Way F Metri-Pack 100 Series (GY)

Terminal Part Information

  • Terminal/Tray: See Terminal Repair Kit
  • Core/Insulation Crimp: See Terminal Repair Kit
  • Release Tool/Test Probe: See Terminal Repair Kit

Sunroof Switch (CF5)

Pin

Wire

Circuit

Function

1

--

--

Not Used

2

0.35 BN

100

Sunroof Switch Open Signal

3

0.35 OG/BK

144

Sunroof Switch Open Vent Signal

4

--

--

Not Used

5

0.35 D-BU

128

Low Reference

6

0.35 D-GN

2074

Sunroof Switch Express Signal

Tail/Stop Lamp - Left


Object Number: 1857554  Size: CH

Connector Part Information

  • OEM: 1999370
  • Service: See Catalog
  • Description: 3-Way F Lamp Socket Sealed (BK)

Terminal Part Information

  • Terminal/Tray: See Terminal Repair Kit
  • Core/Insulation Crimp: See Terminal Repair Kit
  • Release Tool/Test Probe: See Terminal Repair Kit

Tail/Stop Lamp - Left

Pin

Wire

Circuit

Function

MIN

0.5 D-BU

20

Stop Lamp Control/Stop Lamp Switch Signal

MAJ

0.35 D-GN

709

Left Park Lamp Control

G

0.5 BK

550

Ground

0.5 BK

550

Ground

Tail/Stop Lamp - Right


Object Number: 1857554  Size: CH

Connector Part Information

  • OEM: 1999370
  • Service: See Catalog
  • Description: 3-Way F Lamp Socket Sealed (BK)

Terminal Part Information

  • Terminal/Tray: See Terminal Repair Kit
  • Core/Insulation Crimp: See Terminal Repair Kit
  • Release Tool/Test Probe: See Terminal Repair Kit

Tail/Stop Lamp - Right

Pin

Wire

Circuit

Function

MIN

0.5 D-BU

20

Stop Lamp Control/Stop Lamp Switch Signal

MAJ

0.35 D-GN

309

Right Park Lamp Control

G

0.5 BK

850

Ground

0.5 BK

850

Ground

Theft Deterrent Module (TDM)


Object Number: 1593355  Size: CH

Connector Part Information

  • OEM: 50-57-9705
  • Service: 88988353
  • Description: 5-Way F SL Series, Unsealed (BK)

Terminal Part Information

  • Terminal/Tray: 16-02-1110/20
  • Core/Insulation Crimp: H/H
  • Release Tool/Test Probe: J-38125-213/J-35616-64B (L-BU)

Theft Deterrent Module (TDM)

Pin

Wire

Circuit

Function

1

0.35 RD/WH

1040

Battery Positive Voltage

2

0.35 BN

4

Ignition Voltage

3

0.35 BK/WH

1551

Ground

4

--

--

Not Used

5

0.35 D-GN

5060

Low Speed GMLAN Serial Data

Throttle Body


Object Number: 1664617  Size: CH

Connector Part Information

  • OEM: 15355297
  • Service: 19115594
  • Description: 6-Way F GT 150 Series, Sealed (BK)

Terminal Part Information

  • Terminal/Tray: 15326427/5
  • Core/Insulation Crimp: Pins A-B - 2/A
  • Core/Insulation Crimp: Pins C-F - E/A
  • Release Tool/Test Probe: 15315247/J-35616-2A (GY)

Throttle Body

Pin

Wire

Circuit

Function

A

0.8 BN

582

Throttle Actuator Control Motor Control - 2

B

0.8 YE

581

Throttle Actuator Control Motor Control - 1

C

0.5 TN

2752

Low Reference

D

0.5 D-GN

485

Throttle Position Sensor 1 Signal

E

0.5 GY

2701

5-Volt Reference

F

0.5 PU

486

Throttle Position Sensor 2 Signal

Torque Converter Clutch (TCC) Solenoid Valve


Object Number: 1545985  Size: CH

Connector Part Information

  • OEM: Aisin AW
  • Service: Non-Serviceable
  • Description: Conn 2-Way F (BK)

Terminal Part Information

  • Terminal: Non-Serviceable
  • Core/Insulation Crimp: Non-Serviceable
  • Release Tool/Test Probe: Non-Serviceable

Torque Converter Clutch (TCC) Solenoid Valve

Pin

Wire

Circuit

Function

1

BN

5509

Torque Converter Clutch Pressure Control Solenoid Valve Low Control

2

L-GN

5511

Torque Converter Clutch Pressure Control Solenoid Valve High Control

Traction Control Switch (TCS)


Object Number: 812599  Size: CH

Connector Part Information

  • OEM: 50-57-9403
  • Service: See Catalog
  • Description: 3-Way F Receptacle 0.64 Unsealed (BK)

Terminal Part Information

  • Terminal/Tray: 16-02-1110/20
  • Core/Insulation Crimp: H/H
  • Release Tool/Test Probe: J-38125-213/J-35616-64B (L-BU)

Traction Control Switch (TCS)

Pin

Wire

Circuit

Function

1

0.35 L-BU

1788

Traction Control Switch Signal

2

0.35 BK/WH

1551

Ground

3

0.35 PU/WH

1382

LED Dimming Signal

Transmission Control Module (TCM) X1


Object Number: 1850885  Size: CH

Connector Part Information

  • OEM: 7283-9133-30
  • Service:
  • Description: 16-Way F 0.64/1.5 Series Sealed (BK)

Terminal Part Information

  • Terminal/Tray:
  • Pins:
  • Core/Insulation Crimp:
  • Pins:
  • Core/Insulation Crimp:
  • Release Tool/Test Probe:

Transmission Control Module (TCM) X1

Pin

Wire

Circuit

Function

1

0.5 RD/WH

540

Battery Positive Voltage

2-4

--

--

Not Used

5

0.5 OG/BK

1786

Ignition Lock CylinderControl Actuator Signal

6

0.5 TN

2501

High Speed GMLAN Serial Data Bus-

7

0.5 TN/BK

2500

High Speed GMLAN Serial Data Bus+

8

0.5 TN/BK

2500

High Speed GMLAN Serial Data Bus+

9

0.8 BK/WH

451

Ground

10

--

--

Not Used

11

0.5 PK

1339

Ignition Voltage

12

0.5 BN

4

Ignition Voltage

13

--

--

Not Used

14

0.5 TN

2501

High Speed GMALN Serial Data Bus-

15-16

--

--

Not Used

Transmission Control Module (TCM) X2


Object Number: 1938974  Size: CH

Connector Part Information

  • OEM: 7183-6563-30
  • Service: Non-Serviceable
  • Description: 4-Way M (BK)

Terminal Part Information

  • Terminal/Tray: Non-Serviceable
  • Core/Insulation Crimp: Non-Serviceable
  • Release Tool/Test Probe: Non-Serviceable

Transmission Control Module (TCM) X2

Pin

Wire

Circuit

Function

1

0.5 BK

401

Output Speed Sensor Low Signal

2

0.5 RD

400

Output Speed Sensor High Signal

3

0.5 L-BU

1230

Input Speed Sensor High Signal

4

0.5 TN

1231

Input Speed Sensor Low Signal

Transmission Control Module (TCM) X3


Object Number: 1913370  Size: CH

Connector Part Information

  • OEM: 61890031
  • Service: Non-Serviceable
  • Description: Conn 22-Way M (D-GR)

Terminal Part Information

  • Terminal/Tray: Non-Serviceable
  • Core/Insulation Crimp:
  • Core/Insulation Crimp: Non-Serviceable
  • Release Tool/Test Probe: Non-Serviceable

Transmission Control Module (TCM) X3

Pin

Wire

Circuit

Function

1

WH

1222

Shift Solenoid Valve 1 High Control

2

BK

1223

Shift Solenoid Valve 2 High Control

3

L-GN

1994

Line Pressure Control Solenoid Valve High Control

4-5

--

--

Not Used

6

GY

5510

Line Pressure Control Solenoid Valve Low Control

7

BN

5509

TCC Pressure Control Solenoid Valve Low Control

8

--

--

Not Used

9

L-GN

5511

TCC Pressure Control Solenoid Valve High Control

10

BU

5508

Shift Pressure Control Solenoid Valve Low Control

11-12

--

--

Not Used

13

OG

N/A

Low Reference

14

OG

N/A

Trasnsmission Fluid Temperature Sensor Signal

15

--

--

Not Used

16

RD

2880

Shift Pressure Control Solenoid Valve High Control

17

YE

898

Shift Solenoid Valve 3 High Control

18-20

--

--

Not Used

21

L-BU

2527

Shift Solenoid Valve 5 High Control

22

PU

2879

Shift Solenoid Valve 4 High Control

Turn Signal/Multifunction Switch X1


Object Number: 1376709  Size: CH

Connector Part Information

  • OEM: 15450317
  • Service: 88987843
  • Description: 8-Way F Unsealed (WH)

Terminal Part Information

  • Terminal/Tray: SNAC-A03T-M040/20
  • Core/Insulation Crimp: J/J
  • Release Tool/Test Probe: 12094429/J-35616-12 (BU)

Turn Signal/Multifunction Switch X1

Pin

Wire

Circuit

Function

1

0.35 BK/WH

1551

Ground

2

0.35 WH

103

Headlamp Switch On Signal

3

0.35 BN/WH

301

Park Lamp Switch On Signal

4

0.35 D-GN

306

Headlamp Switch Headlamps Off Signal

5-8

--

--

Not Used

Turn Signal/Multifunction Switch X2


Object Number: 845610  Size: CH

Connector Part Information

  • OEM: 15393435
  • Service: 88986438
  • Description: 10-Way F Micro 64 (GY)

Terminal Part Information

  • Terminal/Tray: 12177007/19
  • Core/Insulation Crimp: E/2
  • Release Tool/Test Probe: 12180559-1/J-35616-64B (L-BU)

Turn Signal/Multifunction Switch X2

Pin

Wire

Circuit

Function

A

--

--

Not Used

B

0.35 BK/WH

1551

Ground

C

0.35 BN

1356

Flash To Pass Switch Signal

D

0.35 PU

524

Headlamp Dimmer Switch High Beam Signal

E

--

--

Not Used

F

0.35 BK/WH

1551

Ground

G

0.35 L-BU/WH

1414

Left Front Turn Signal Switch Signal

H

0.35 D-BU/WH

1415

Right Front Turn Signal Switch Signal

J-K

--

--

Not Used

Video Display (UUC)


Object Number: 1711011  Size: CH

Connector Part Information

  • OEM: 7283-9088-30
  • Service: See Catalog
  • Description: 10-Way F Kaizen 0.64 Series (BK)

Terminal Part Information

  • Terminal/Tray: See Terminal Repair Kit
  • Core/Insulation Crimp: See Terminal Repair Kit
  • Release Tool/Test Probe: See Terminal Repair Kit

Video Display (UUC)

Pin

Wire

Circuit

Function

1

0.5 D-GN

6975

DVD Video Signal (+)

2

0.5 WH/BK

5335

DVD Video Signal (-)

3-5

--

--

Not Used

6

0.5 BK/WH

1551

Ground

7

0.5 RD/WH

2340

Battery Positive Voltage

8

0.5 WH

1487

Antenna Enable Signal

9

0.5 PK/BK

5844

Video Bright Control

10

0.5 BN/WH

5846

Video Power Mode Signal

Wheel Speed Sensor (WSS) - Left Front


Object Number: 537107  Size: CH

Connector Part Information

  • OEM: 12052644
  • Service: See Catalog
  • Description: 2-Way F Metri-Pack 150 Series, Sealed (GY)

Terminal Part Information

  • Terminal/Tray: 12048074/2
  • Core/Insulation Crimp: E/1
  • Release Tool/Test Probe: 12094429/J-35616-2A (GY)

Wheel Speed Sensor (WSS) - Left Front

Pin

Wire

Circuit

Function

A

0.8 YE

873

Low Reference

B

0.8 L-BU

830

Left Front Wheel Speed Sensor Signal

Wheel Speed Sensor (WSS) - Left Rear


Object Number: 605500  Size: CH

Connector Part Information

  • OEM: 12162343
  • Service: See Catalog
  • Description: 2-Way M Metri-Pack 150 (GY)

Terminal Part Information

  • Terminal/Tray: 12045773/2
  • Core/Insulation Crimp: E/1
  • Release Tool/Test Probe: 12094429/J-35616-3 (GY)

Wheel Speed Sensor (WSS) - Left Rear

Pin

Wire

Circuit

Function

A

0.5 OG

885

Low Reference

B

0.5 TN

884

Left Rear Wheel Speed Sensor Signal

Wheel Speed Sensor (WSS) - Right Front


Object Number: 537107  Size: CH

Connector Part Information

  • OEM: 12052644
  • Service: See Catalog
  • Description: 2-Way F Metri-Pack 150 Series, Sealed (GY)

Terminal Part Information

  • Terminal/Tray: 12048074/2
  • Core/Insulation Crimp: E/1
  • Release Tool/Test Probe: 12094429/J-35616-2A (GY)

Wheel Speed Sensor (WSS) - Right Front

Pin

Wire

Circuit

Function

A

0.8 TN

833

Low Reference

B

0.8 D-GN

872

Right Front Wheel Speed Sensor Signal

Wheel Speed Sensor (WSS) - Right Rear


Object Number: 605500  Size: CH

Connector Part Information

  • OEM: 12162343
  • Service: See Catalog
  • Description: 2-Way M Metri-Pack 150 (GY)

Terminal Part Information

  • Terminal/Tray: 12045773/2
  • Core/Insulation Crimp: E/1
  • Release Tool/Test Probe: 12094429/J-35616-3 (GY)

Wheel Speed Sensor (WSS) - Right Rear

Pin

Wire

Circuit

Function

A

0.5 WH

883

Low Reference

B

0.5 BN

882

Right Rear Wheel Speed Sensor Signal

Window Motor - Driver


Object Number: 1415174  Size: CH

Connector Part Information

  • OEM: 7283-5565-40
  • Service: See Catalog
  • Description: 2-Way F YESC/USCAR Series (L-GY)

Terminal Part Information

  • Terminal/Tray: See Terminal Repair Kit
  • Core/Insulation Crimp: See Terminal Repair Kit
  • Release Tool/Test Probe: See Terminal Repair Kit

Window Motor - Driver

Pin

Wire Color

Circuit No.

Function

1

2.0 BN

165

Power Window Motor Left Front Down Control

2

2.0 D-BU

164

Power Window Motor Left Front Up Control

Window Motor - Left Rear


Object Number: 1415174  Size: CH

Connector Part Information

  • OEM: 7283-5565-40
  • Service: See Catalog
  • Description: 2-Way F YESC/USCAR Series (L-GY)

Terminal Part Information

  • Terminal/Tray: See Terminal Repair Kit
  • Core/Insulation Crimp: See Terminal Repair Kit
  • Release Tool/Test Probe: See Terminal Repair Kit

Window Motor - Left Rear

Pin

Wire Color

Circuit No.

Function

1

2.0 BN

669

Power Window Motor Left Rear Down Control

2

2.0 D-BU

668

Power Window Motor Left Rear Up Control

Window Motor - Passenger


Object Number: 1415174  Size: CH

Connector Part Information

  • OEM: 7283-5565-40
  • Service: See Catalog
  • Description: 2-Way F YESC/USCAR Series (L-GY)

Terminal Part Information

  • Terminal/Tray: See Terminal Repair Kit
  • Core/Insulation Crimp: See Terminal Repair Kit
  • Release Tool/Test Probe: See Terminal Repair Kit

Window Motor - Passenger

Pin

Wire Color

Circuit No.

Function

1

2.0 BN

167

Power Window Master Switch Right Front Down Signal

2

2.0 D-BU

166

Power Window Master Switch Right Front Up Signal

Window Motor - Right Rear


Object Number: 1415174  Size: CH

Connector Part Information

  • OEM: 7283-5565-40
  • Service: See Catalog
  • Description: 2-Way F YESC/USCAR Series (L-GY)

Terminal Part Information

  • Terminal/Tray: See Terminal Repair Kit
  • Core/Insulation Crimp: See Terminal Repair Kit
  • Release Tool/Test Probe: See Terminal Repair Kit

Window Motor - Right Rear

Pin

Wire Color

Circuit No.

Function

1

2.0 BN

671

Power Window Motor Right Rear Down Control

2

2.0 D-BU

670

Power Window Motor Right Rear Up Control

Window Switch - Driver


Object Number: 333036  Size: CH

Connector Part Information

  • OEM: 12191825
  • Service: 15306048
  • Description: 8-Way Metri-Pack 280 Series (BN)

Terminal Part Information

  • Terminal/Tray: 15304713/19
  • Core/Insulation Crimp: 4/4
  • Release Tool/Test Probe: 15315247/J-35616-4A (PU)

Window Switch - Driver

Pin

Wire Color

Circuit No.

Function

A

2.0 D-BU

1307

Power Window Master Switch Lockout Signal

B

2.0 D-BU

164

Power Window Motor Left Front Up Control

C

2.0 BN

165

Power Window Motor Left Front Down Control

D

2.0 YE

143

Ignition Voltage

E

2.0 PU

169

Power Window Master Switch Left Rear Down Signal

F

2.0 BK

650

Ground

G

2.0 D-GN

168

Power Window Master Switch Left Rear Up Signal

H

2.0 D-BU

1307

Power Window Master Switch Lockout Signal

Window Switch - Left Rear


Object Number: 1467021  Size: CH

Connector Part Information

  • OEM: 6098-0245
  • Service: See Catalog
  • Description: 6-Way F HD Series (L-GY)

Terminal Part Information

  • Terminal/Tray: See Terminal Repair Kit
  • Core/Insulation Crimp: See Terminal Repair Kit
  • Release Tool/Test Probe: See Terminal Repair Kit

Window Switch - Left Rear

Pin

Wire Color

Circuit No.

Function

1

2.0 BN

669

Power Window Motor Left Rear Down Control

2

2.0 PU

169

Power Window Master Switch Left Rear Down Signal

3

--

--

Not Used

4

2.0 D-BU

668

Power Window Motor Left Rear Up Control

5

2.0 D-BU

1307

Power Window Master Switch Lockout Signal

6

2.0 D-GN

168

Power Window Master Switch Left Rear Up Signal

Window Switch - Passenger


Object Number: 556473  Size: CH

Connector Part Information

  • OEM: 15326924
  • Service: 15306174
  • Description: 8-Way F GT 280 (BK)

Terminal Part Information

  • Terminal/Tray: 15304713/19
  • Core/Insulation Crimp: 4/4
  • Release Tool/Test Probe: 15315247/J-35616-4A (PU)

Window Switch - Passenger

Pin

Wire Color

Circuit No.

Function

A

--

--

Not Used

B

2.0 L-BU

166

Power Window Master Switch Right Front Up Signal

C

2.0 TN

167

Power Window Master Switch Right Front Down Signal

D

2.0 YE

143

Ignition Voltage

E

--

--

Not Used

F

2.0 L-GN

170

Power Window Master Switch Right Rear Up Signal

G

2.0 BK

650

Ground

H

2.0 PU

171

Power Window Master Switch Right Rear Down Signal

Window Switch - Right Rear


Object Number: 1467021  Size: CH

Connector Part Information

  • OEM: 6098-0245
  • Service: See Catalog
  • Description: 6-Way F HD Series (L-GY)

Terminal Part Information

  • Terminal/Tray: See Terminal Repair Kit
  • Core/Insulation Crimp: See Terminal Repair Kit
  • Release Tool/Test Probe: See Terminal Repair Kit

Window Switch - Right Rear

Pin

Wire Color

Circuit No.

Function

1

2.0 BN

671

Power Window Motor Right Rear Down Control

2

2.0 PU

171

Power Window Master Switch Right Rear Down Signal

3

--

--

Not Used

4

2.0 D-BU

670

Power Window Motor Right Rear Up Control

5

2.0 D-BU

1307

Power Window Master Switch Lockout Signal

6

2.0 D-GN

170

Power Window Master Switch Right Rear Up Signal

Windshield Washer Fluid Pump


Object Number: 1243629  Size: CH

Connector Part Information

  • OEM: 12185025
  • Service: 89046634
  • Description: 2-Way F Mini Timer (BK)

Terminal Part Information

  • Terminal/Tray: 60012941/21
  • Core/Insulation Crimp: See Terminal Repair Kit
  • Release Tool/Test Probe: 12122378/J-35616-4A (PU)

Windshield Washer Fluid Pump

Pin

Wire

Circuit

Function

1

0.8 D-GN

392

Rear Window Washer Pump Control

2

0.8 D-BU

298

Rear Window Washer Pump Control

Windshield Wiper Motor


Object Number: 243503  Size: CH

Connector Part Information

  • OEM: 12084891
  • Service: 15305874
  • Description: 5-Way F Metri-Pack 280 Series, Sealed (GY)

Terminal Part Information

  • Terminal/Tray: 12077411/2
  • Core/Insulation Crimp: 2/5
  • Release Tool/Test Probe: 12094430/J-35616-4A (PU)

Windshield Wiper Motor

Pin

Wire

Circuit

Function

A

--

--

Not Used

B

0.35 YE

196

Windshield Wiper Motor Park Switch Signal

C

1.0 BK

1250

Ground

D

1.0 PU

92

Windshield Wiper Motor High Speed

E

1.0 D-GN

95

Windshield Wiper Motor Low Speed

Windshield Wiper/Washer Switch


Object Number: 130718  Size: CH

Connector Part Information

  • OEM: 12059800
  • Service: 15306169
  • Description: 5-Way F Metri-Pack 150 Series (BK)

Terminal Part Information

  • Terminal/Tray: 12064971/5
  • Core/Insulation Crimp: E/C
  • Release Tool/Test Probe: 12094429/J-35616-2A (GY)

Windshield Wiper/Washer Switch

Pin

Wire

Circuit

Function

A

--

--

Not Used

B

0.35 PK

94

Rear Wiper Switch Signal

C

0.35 L-GN

1715

Windshield Wiper Switch High Signal

D

0.35 BK/WH

1251

Ground

E

0.35 L-BU

1714

Windshield Wiper Switch Low Signal

Yaw and Lateral Accelerometer Sensor


Object Number: 831393  Size: CH

Connector Part Information

  • OEM: 2-967616-1
  • Service: 88953345
  • Description: 6-Way F Micro Series (BK)

Terminal Part Information

  • Terminal/Tray: 962885-5/15
  • Core/Insulation Crimp: 6/6
  • Release Tool/Test Probe: 12094429/J-35616-64B (L-BU)

Yaw and Lateral Accelerometer Sensor

Pin

Wire

Circuit

Function

1

0.5 WH/BK

6436

CAN Bus Low Terminated Serial Data

2

0.5 BN/WH

6437

CAN Bus High Terminated Serial Data

3

0.5 GY

6044

5-Volt Reference

4

--

--

Not Used

5

0.5 OG/BK

6045

Low Reference

6

--

--

Not Used