GM Service Manual Online
For 1990-2009 cars only

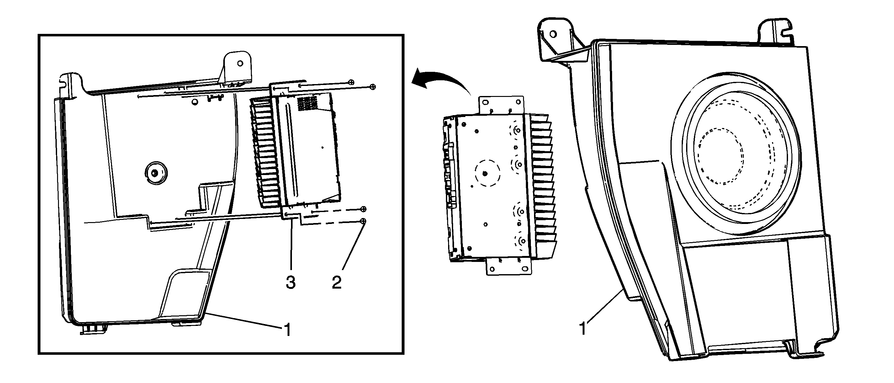
Object Number: 1714964  Size: SF

Callout

Component Name

Preliminary Procedures

Remove the right rear quarter lower trim panel. Refer to Quarter Lower Rear Trim Panel Replacement .

1

Radio Rear Compartment Speaker

Refer to Radio Rear Speaker Replacement .

2

Radio Speaker Amplifier Screw (Qty: 4)

Notice: Refer to Fastener Notice in the Preface section.

Tighten
3 N·m (27 lb in)

3

Radio Speaker Amplifier Assembly

Procedure

Disconnect the electrical connector.