GM Service Manual Online
For 1990-2009 cars only

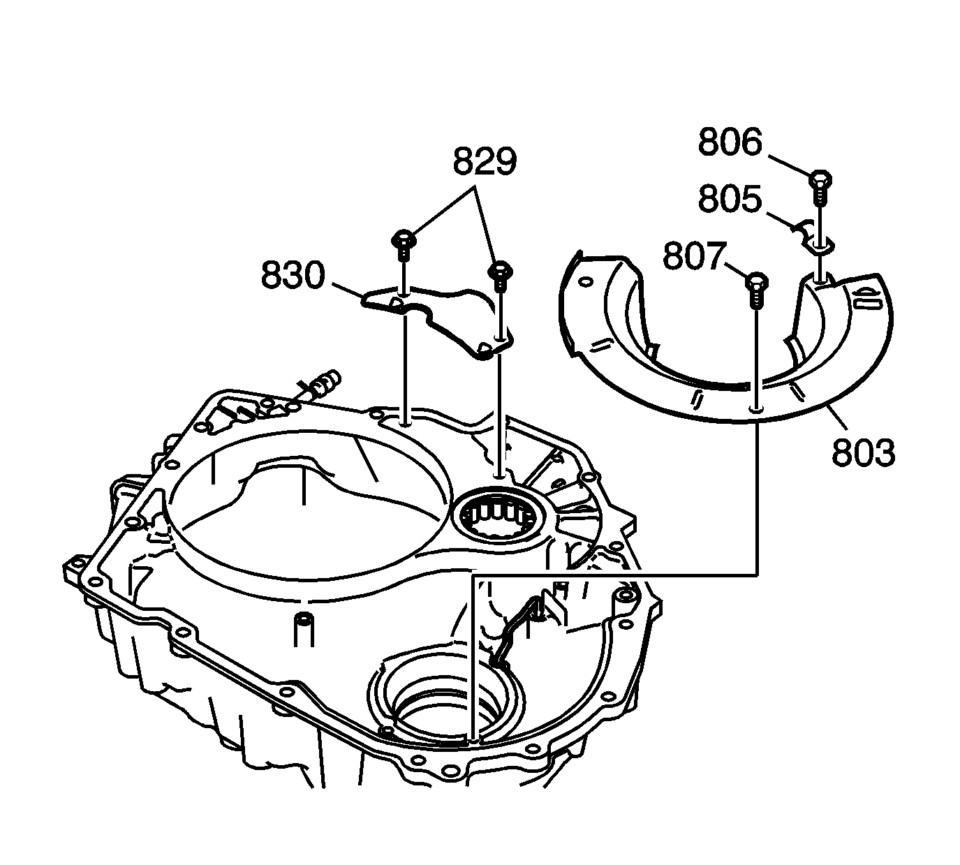
    Object Number: 1860400  Size: SH
  1. Remove the lube fluid pipe retainer bolt/screw (806).
  2. Remove the lube fluid pipe retainer (805).
  3. Remove the transmission fluid baffle bolts/screws (807) and the transmission fluid baffle (803).
  4. Remove the fluid baffle bolts (829) and the fluid baffle (830).

  5. Object Number: 749376  Size: SH
  6. Remove the lube fluid pipe (804).

  7. Object Number: 792762  Size: SH
  8. Inspect the torque converter housing for damage. If the bearings are faulty, the converter housing requires replacement.

  9. Object Number: 749376  Size: SH

    Important: Do not bend or damage the lube fluid pipe (804).

  10. Using a plastic hammer, install the lube fluid pipe (804).

  11. Object Number: 1826691  Size: SH
  12. Place the 4 chip collector magnets (808) onto the transmission fluid baffle (803).

  13. Object Number: 1860400  Size: SH

    Notice: Use the correct fastener in the correct location. Replacement fasteners must be the correct part number for that application. Fasteners requiring replacement or fasteners requiring the use of thread locking compound or sealant are identified in the service procedure. Do not use paints, lubricants, or corrosion inhibitors on fasteners or fastener joint surfaces unless specified. These coatings affect fastener torque and joint clamping force and may damage the fastener. Use the correct tightening sequence and specifications when installing fasteners in order to avoid damage to parts and systems.

  14. Install the transmission fluid baffle (803) and the 3 - M6 x 1.0 x 14 mm transmission fluid baffle bolts (807).
  15. Tighten
    Tighten the 3 transmission fluid baffle bolts to 5 N·m (44 lb in).

  16. Install the lube fluid pipe retainer (805) and the M6 x 1.0 x 14 mm lube fluid pipe retainer bolt (806) into the torque converter housing assembly.
  17. Tighten
    Tighten the bolt to 5 N·m (44 lb in).

  18. Install the fluid baffle (830) and the 2 - M6 x 1.0 x 12 mm fluid baffle bolts (829) M6 x 1.0 x 12 mm.
  19. Tighten
    Tighten the 2 transmission fluid baffle bolts to 5 N·m (44 lb in).