GM Service Manual Online
For 1990-2009 cars only

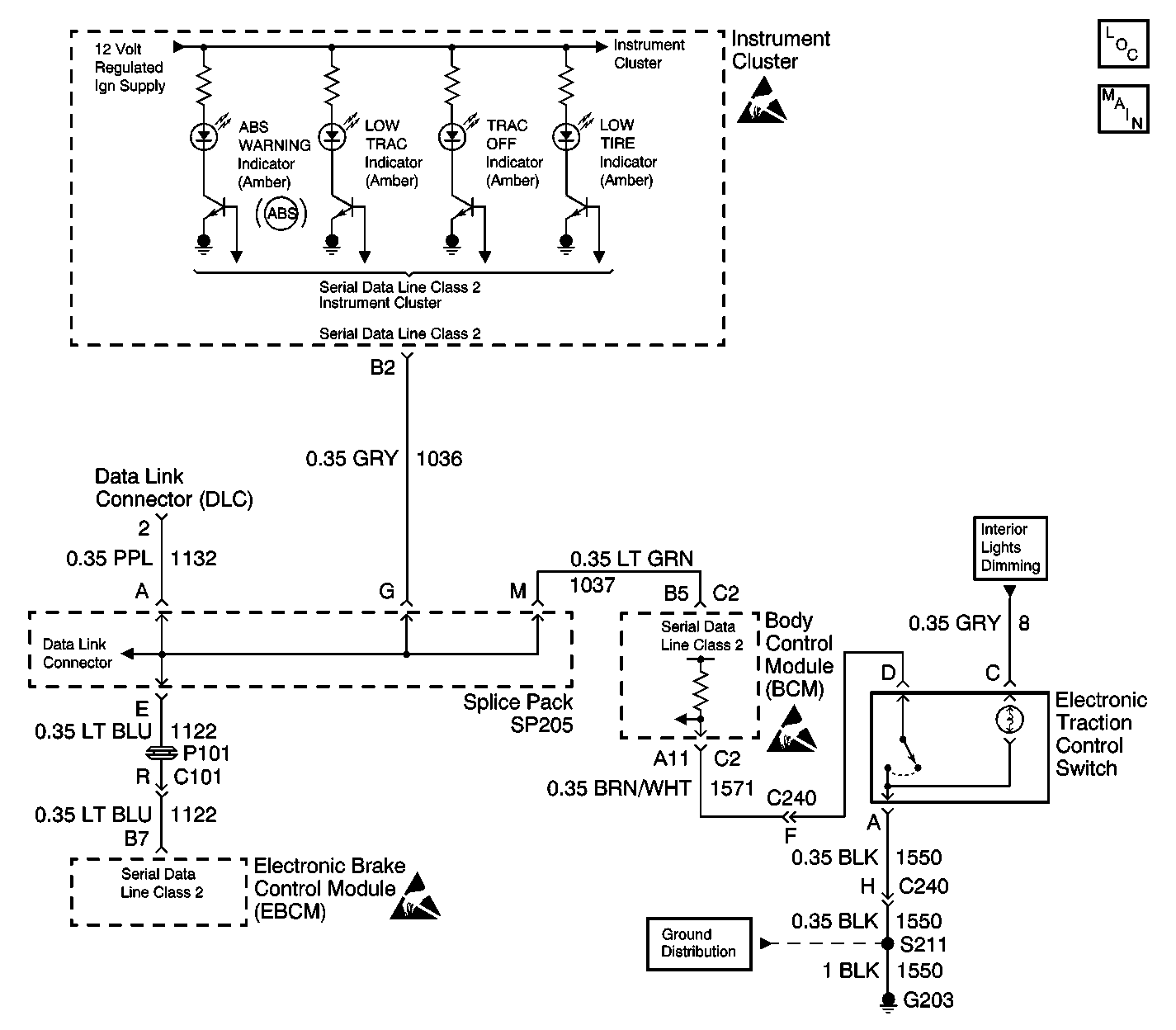
Object Number: 585744  Size: LF
ABS Components
Antilock Brake System Schematics
Data Link Connector Schematics
Ground Distribution Schematics
Interior Lights Schematics
Handling Electrostatic Discharge Sensitive Parts Notice
Handling Electrostatic Discharge Sensitive Parts Notice
Handling Electrostatic Discharge Sensitive Parts Notice

Circuit Description

The Body Control Module (BCM) receives the input from the Traction Control Switch. The BCM then sends a class 2 message to the EBCM telling the EBCM the state of the switch. The BCM supplies voltage to the TCS switch and when the TCS switch is depressed, the BCM sees the voltage go low and sends the EBCM the message that the TCS switch state has changed. When the EBCM receives the message from the BCM that the switch state has changed it turns on or off Traction Control and its TRAC OFF indicator depending on its previous state.

Diagnostic Aids

    • It is very important that a thorough inspection of the wiring and connectors be performed. Failure to carefully and fully inspect wiring and connectors may result in misdiagnosis, causing part replacement with reappearance of the malfunction.
    • Thoroughly inspect any circuitry that may be causing the complaint for the following conditions:
       - Backed out terminals
       - Improper mating
       - Broken locks
       - Improperly formed or damaged terminals
       - Poor terminal-to-wiring connections
       - Physical damage to the wiring harness
    • The following conditions may cause an intermittent malfunction:
       - A poor connection
       - Rubbed-through wire insulation
       - A broken wire inside the insulation
    • If an intermittent malfunction exists refer to Testing for Intermittent Conditions and Poor Connections in Wiring Systems.

Traction control indicator always ON no DTC

Step

Action

Value(s)

Yes

No

DEFINITION: The TRAC OFF Indicator does not turn off after the Instrument Panel Cluster (IPC) bulb check or after the Traction Control Switch is pressed to turn the Traction Control on after it was disabled.

1

Did you perform the ABS Diagnostic System Check?

--

Go to Step 2

Go to Diagnostic System Check - ABS

2

  1. Turn ON the ignition, with the engine OFF.
  2. Using a scan tool check for Body Control Module DTC(s).

Is DTC B2747 set in the Body Control Module?

--

Go to DTC B2747 Traction Control Switch Circuit Low

Go to Step 3

3

  1. Install a scan tool.
  2. Turn ON the ignition, with the engine OFF.
  3. Go to Output Controls in the Instrument Panel display.
  4. Use the WOW mode to turn ON and OFF all of the instrument panel indicators.
  5. The TRAC OFF indicator should turn ON and then OFF when commanded so.

Will the scan tool command the TRAC OFF indicator ON then OFF?

--

Go to Step 4

Go to Step 5

4

Replace the EBCM. Refer to Electronic Brake Control Module Replacement .

Did you complete the repair?

--

Go to Step 6

--

5

Suspect the Instrument Panel Cluster. Refer to Instrument Cluster Diagnostic System Check in Instrument Panel, Gauges and Console.

Did you complete the repair?

--

Go to Step 6

--

6

  1. Use the scan tool in order to clear the DTCs.
  2. Operate the vehicle within the Conditions for Running the DTC as specified in the supporting text.

Does the DTC reset?

--

Go to Step 2

System OK